小度生活
首页
美食营养
手工爱好
生活家居
返回
小度生活
首页
美食营养
游戏数码
手工爱好
生活家居
健康养生
运动户外
职场理财
情感交际
母婴教育
时尚美容
知识问答
生活知识
搜索
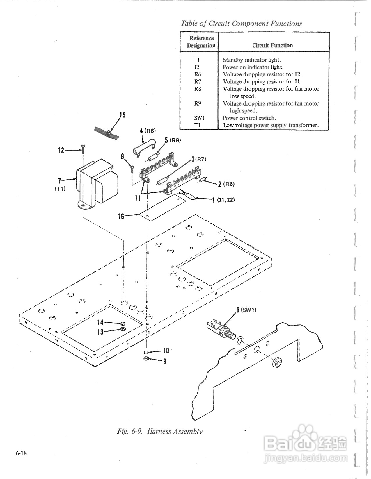
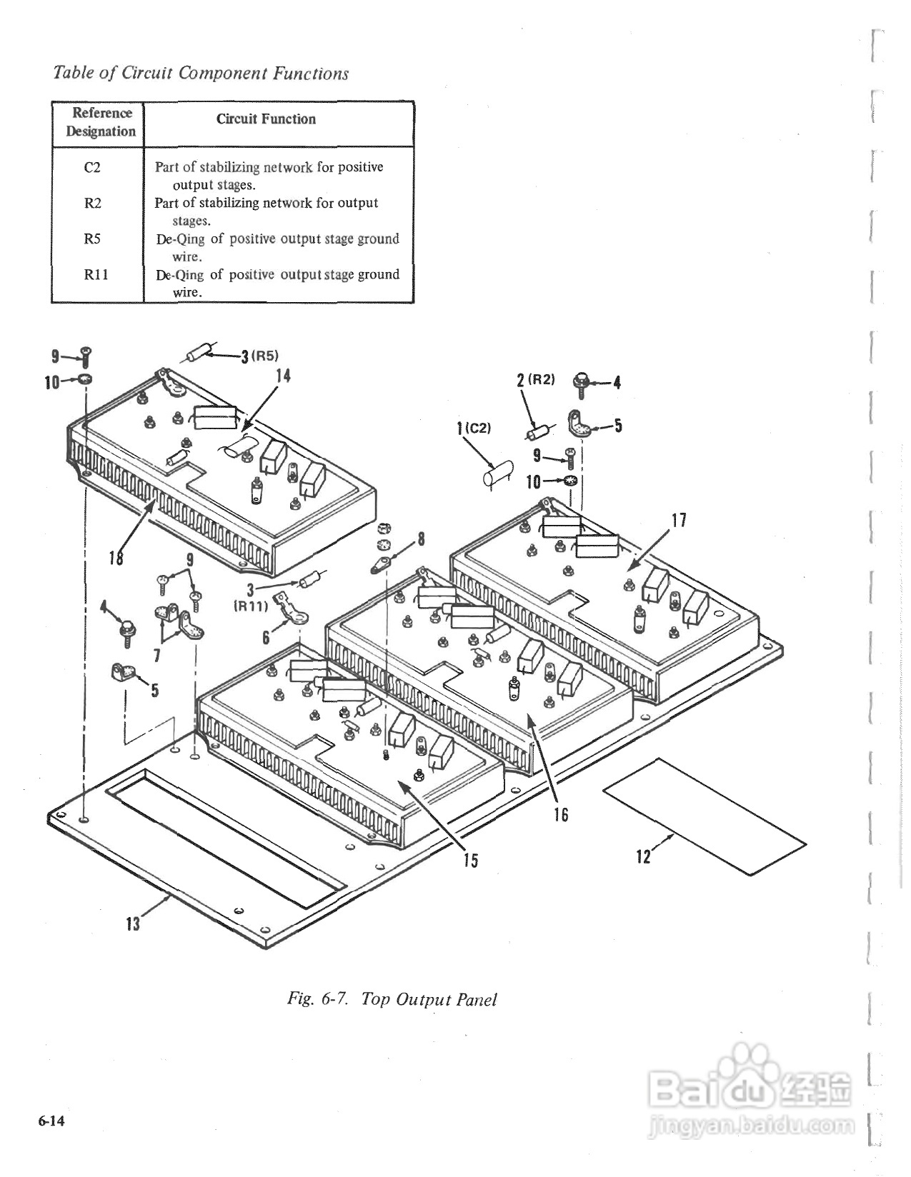
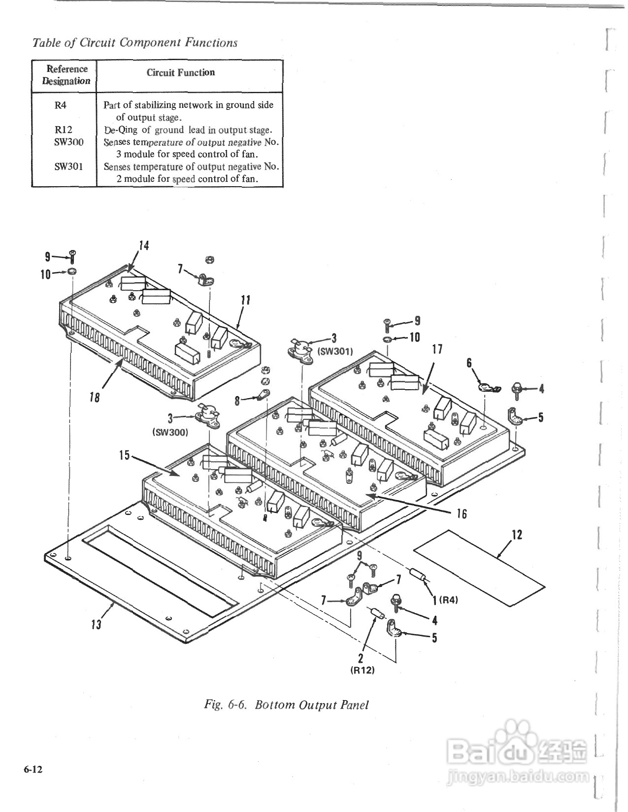
CROWN 皇冠 M600功放说明书:[5]
2025-10-22 12:41:27
(共篇)
上一篇:
|
下一篇:
声明:
本网站引用、摘录或转载内容仅供网站访问者交流或参考,不代表本站立场,如存在版权或非法内容,请联系站长删除,联系邮箱:site.kefu@qq.com。
相关推荐
三菱电机M600使用说明书:[5]
阅读量:139
三菱电机M600使用说明书:[2]
阅读量:58
三菱电机M600使用说明书:[4]
阅读量:194
三菱电机M600使用说明书:[3]
阅读量:58
东芝Satellite M600笔记本电脑使用说明书:[5]
阅读量:52
猜你喜欢
圆通快递什么时候停运
rubber是什么意思
瘫痪的意思
486是什么意思
strength是什么意思
无过责任险是什么意思
高考祝福语和鼓励的话
emmmm是什么意思
办暂住证需要什么资料
apec蓝是什么意思
猜你喜欢
下吧老冒痘痘什么原因
vase是什么意思
言简意赅是什么意思
隔断墙用什么材料
天马行空是什么意思
焚膏继晷的意思
雨刷什么牌子好
什么叫平行线
ppp是什么意思
磁条卡什么时候停用