小度生活
首页
美食营养
手工爱好
生活家居
返回
小度生活
首页
美食营养
游戏数码
手工爱好
生活家居
健康养生
运动户外
职场理财
情感交际
母婴教育
时尚美容
知识问答
生活知识
生活百科
搜索
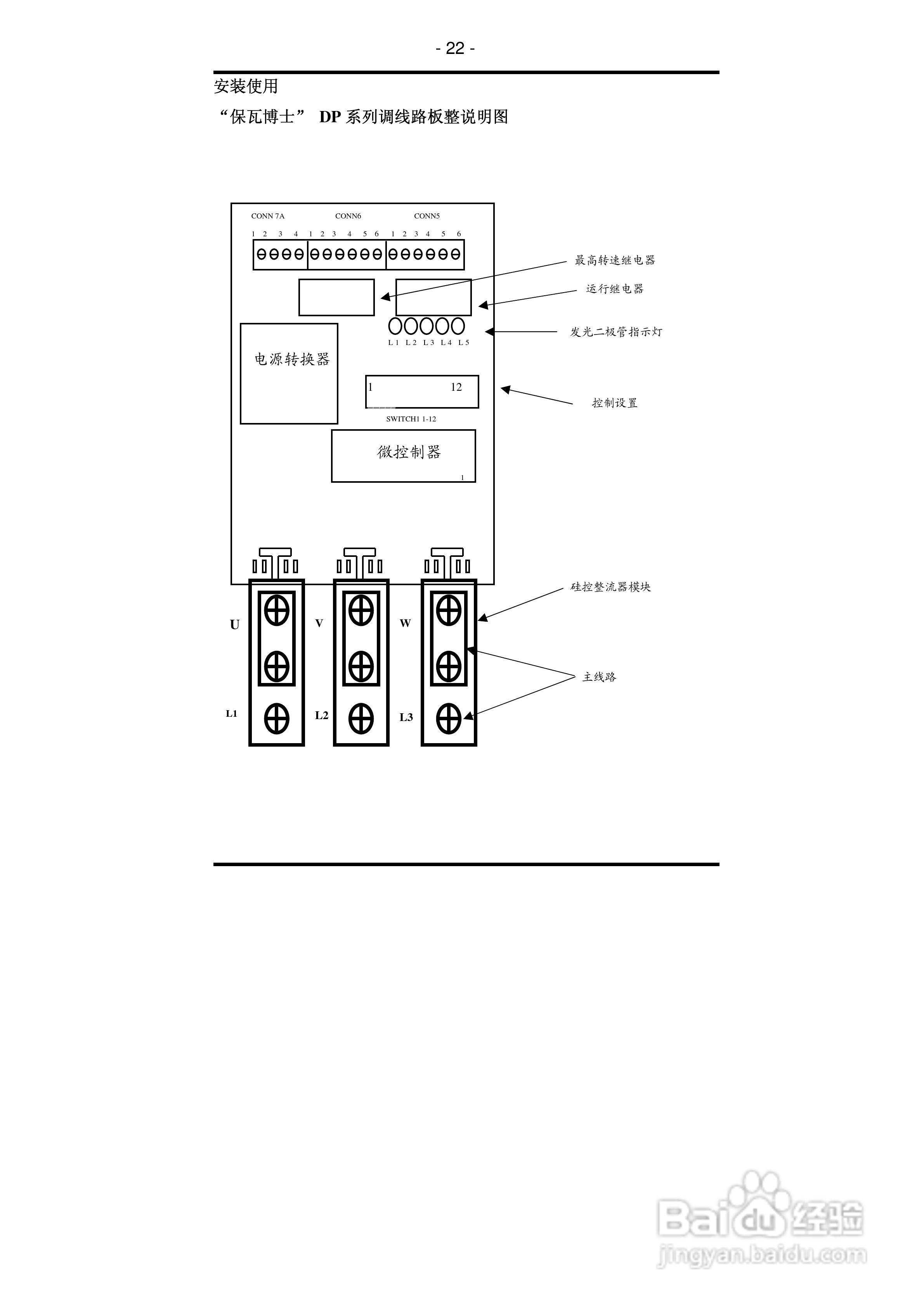
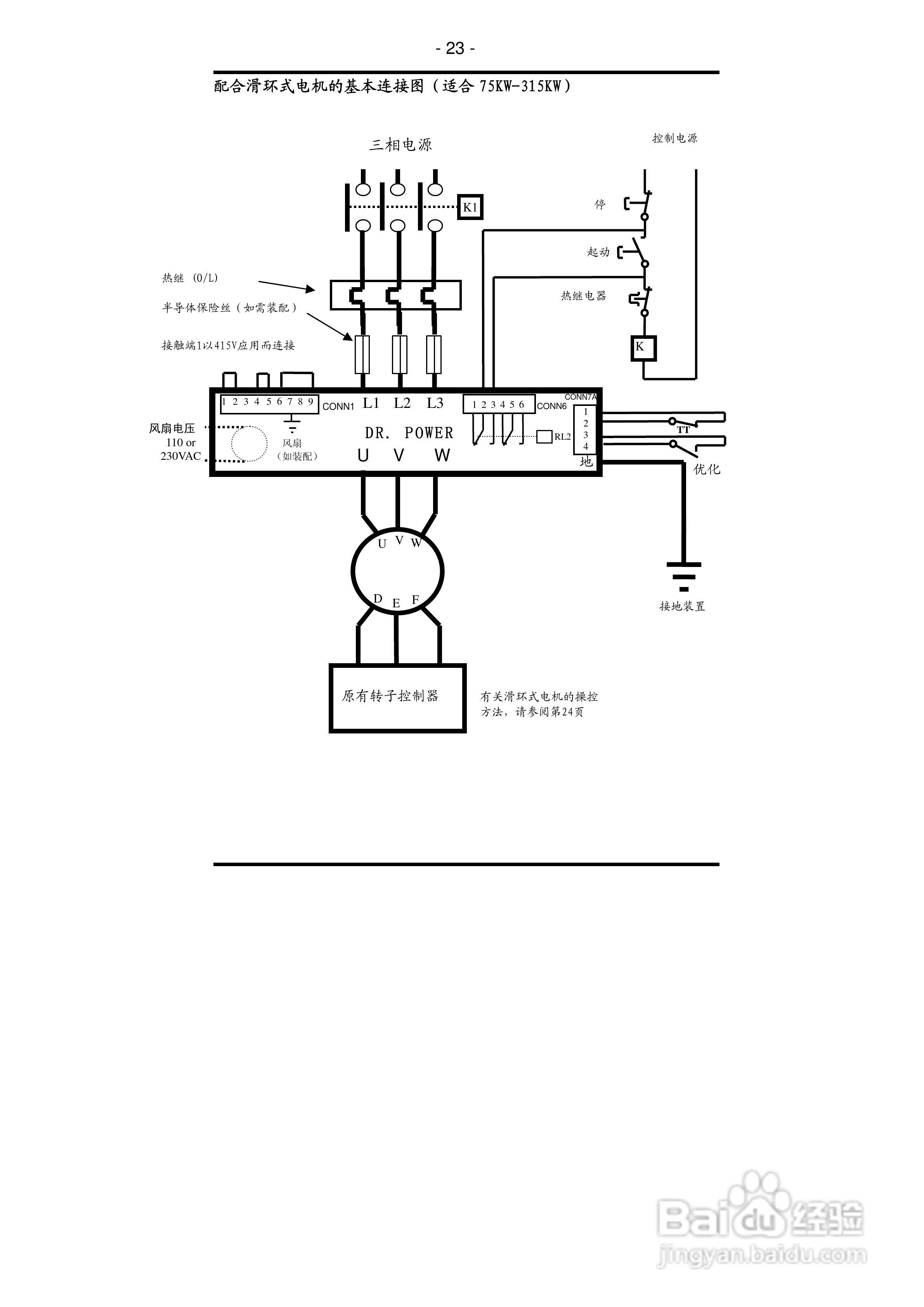
DP系列电机智能节电器使用说明书:[3]
2026-04-01 09:47:56
本篇为《DP系列电机智能节电器使用说明书》,主要介绍该产品的使用方法以及常见故障解决方案。
(共篇)
上一篇:
|
下一篇:
声明:
本网站引用、摘录或转载内容仅供网站访问者交流或参考,不代表本站立场,如存在版权或非法内容,请联系站长删除,联系邮箱:site.kefu@qq.com。
相关推荐
#钟于经典传统味#芹菜木耳飞蛤打卤面
阅读量:54
芹菜有哪些食疗功效
阅读量:151
教你做喜欢的圆椒炒豉汁鸡腿肉
阅读量:165
微型逆变器的安装注意事项
阅读量:167
湖南永州到邵阳南山牧场怎么走?
阅读量:65
猜你喜欢
贡菊的功效与作用
丹参滴丸的功效与作用
怀孕前有什么症状
孕期知识
消防知识安全常识
化学必修二知识点总结
芦荟胶的功效与作用
什么是和田玉籽料
知识英文
熏艾条的功效与作用
猜你喜欢
礼仪的作用
盐酸地芬尼多片的作用与用途
油菜花粉的功效与作用
半边莲的功效与作用
桃胶的功效与作用
运动会助威词
绿萝花的功效与作用
消防知识培训
李子的功效与作用
截图按什么快捷键