小度生活
首页
美食营养
手工爱好
生活家居
返回
小度生活
首页
美食营养
游戏数码
手工爱好
生活家居
健康养生
运动户外
职场理财
情感交际
母婴教育
时尚美容
知识问答
搜索
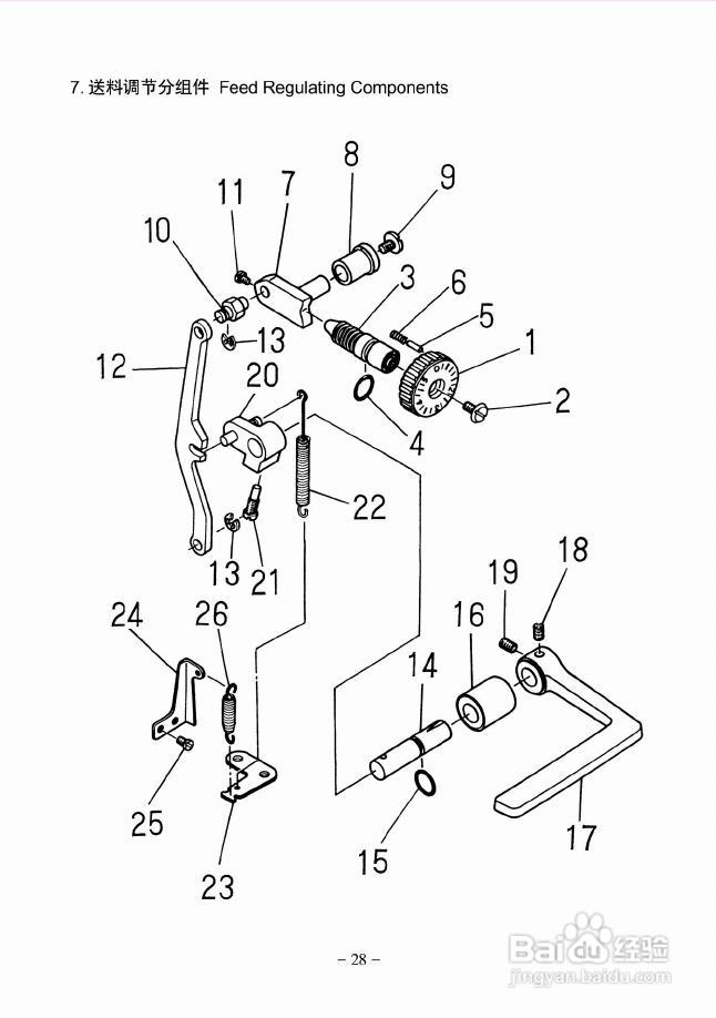
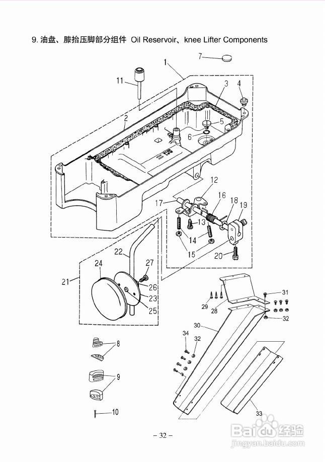
JK-5559W型侧切刀高速平缝机使用说明:[3]
2025-11-19 10:44:07
本篇为《JK-5559W型侧切刀高速平缝机使用说明》,主要介绍该产品的使用方法以及常见故障解决方案。
(共篇)
上一篇:
|
下一篇:
声明:
本网站引用、摘录或转载内容仅供网站访问者交流或参考,不代表本站立场,如存在版权或非法内容,请联系站长删除,联系邮箱:site.kefu@qq.com。
相关推荐
WB51GR01系列智能电力监控仪使用说明书:[2]
阅读量:161
OE和M33系列自制系统恢复1.5系统教程
阅读量:41
WalMart沃尔玛用七彩对色灯箱Judge QC灯管4WM
阅读量:83
类discuz_application中_init_env方法2
阅读量:21
OEMa xNX70系列控制器用户手册:[9]
阅读量:191
猜你喜欢
什么是自考本科
米兰花的养殖方法和注意事项
什么是乌木
receive什么意思
口腔有异味是什么原因
什么是被子植物
九千七什么意思
同仇敌忾是什么意思
大学运动会通讯稿
鬼节是什么时候
猜你喜欢
红卫兵是什么
app store是什么意思
补充公积金是什么意思
橄榄球运动员
什么叫服务器
1955年属什么
我跟你什么仇什么怨
什么是大体积混凝土
襁褓是什么意思
试管婴儿什么意思