小度生活
首页
美食营养
手工爱好
生活家居
返回
小度生活
首页
美食营养
游戏数码
手工爱好
生活家居
健康养生
运动户外
职场理财
情感交际
母婴教育
时尚美容
知识问答
生活知识
搜索
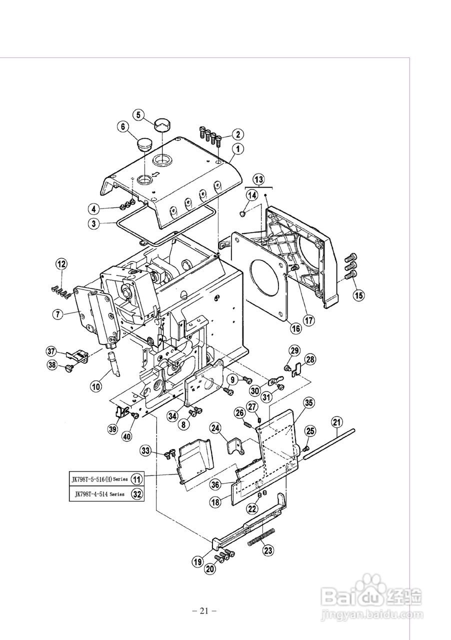
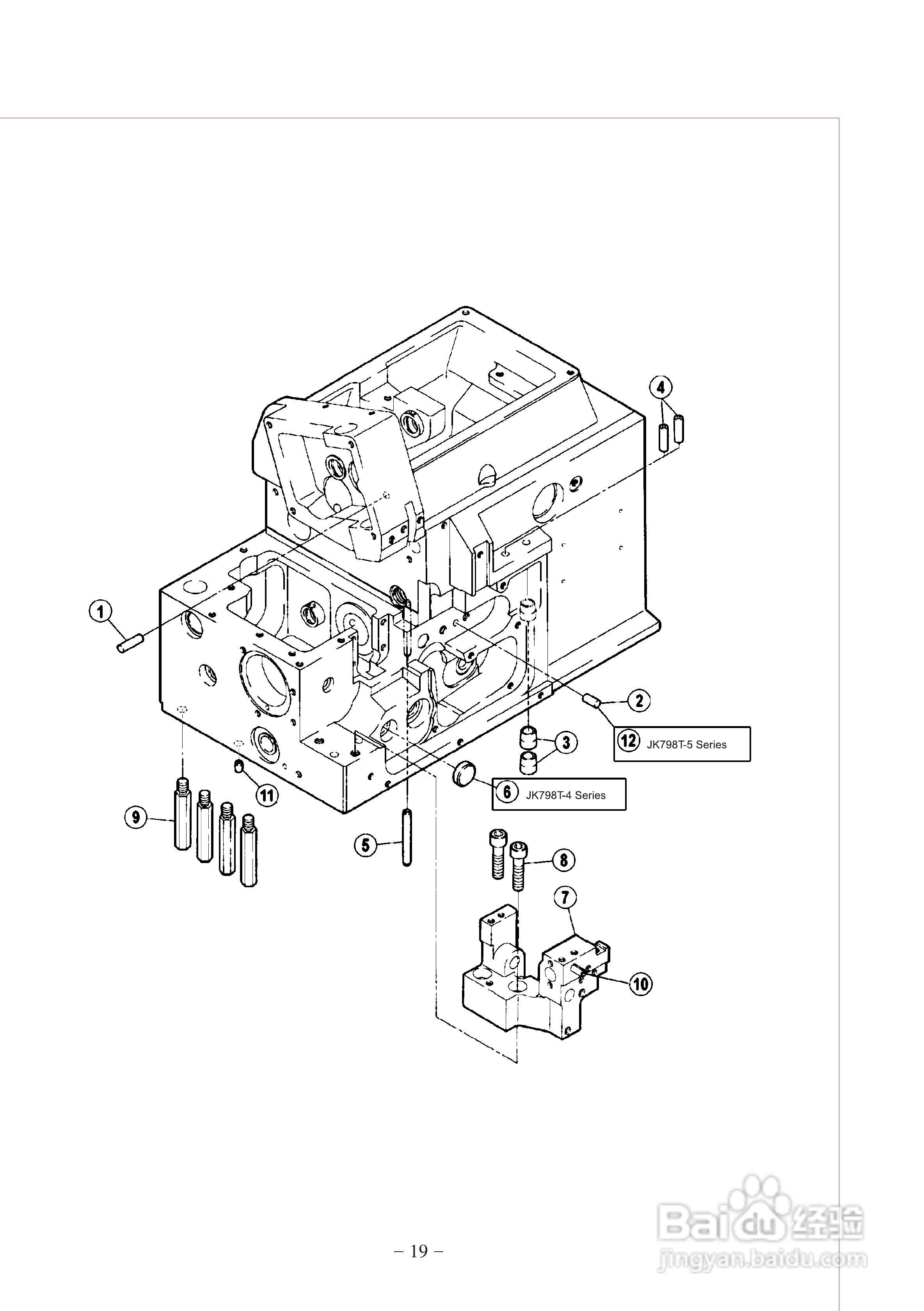
JK-798T型差动式超高速包缝机使用说明:[3]
2026-02-17 19:43:16
本篇为《JK-798T型差动式超高速包缝机使用说明》,主要介绍该产品的使用方法以及常见故障解决方案。
(共篇)
上一篇:
|
下一篇:
声明:
本网站引用、摘录或转载内容仅供网站访问者交流或参考,不代表本站立场,如存在版权或非法内容,请联系站长删除,联系邮箱:site.kefu@qq.com。
相关推荐
JK-798型超高速包缝机使用说明书:[3]
阅读量:51
JK-798型超高速包缝机使用说明书:[5]
阅读量:171
JK-798型超高速包缝机使用说明书:[8]
阅读量:70
JK-788 796型超高速包缝机使用说明:[6]
阅读量:181
JK-788 796型超高速包缝机使用说明:[4]
阅读量:118
猜你喜欢
猕猴桃怎么催熟
微信视频号怎么开通
贫血怎么补
合理化建议怎么写
第一的英文怎么写
我的世界雪人怎么做
下眼袋怎么消除
啤酒鸭怎么做
文件格式怎么转换
狼人杀怎么玩法介绍
猜你喜欢
怎么炖鸡
开车打电话怎么处罚
怎么解压文件
烫伤了怎么办
tenda路由器怎么设置
oppo手机怎么隐藏应用
怎么会爱上你
孩子成绩不好怎么办
我的世界电梯怎么做
潍坊怎么读