淘宝天猫店铺如何操作自然流量与打造爆款
1、 一入淘门深似海,大数据的搜索的改编之下,淘宝的卖家倒下一批又一批,又有新的卖家进入。从08年接触淘宝至今,当初身边至今还在做淘宝的,已经寥寥无几了。您是否也是其中的一员呢?
百度是一个老字号电商交流学习网站了,想想曾经的我,也是无数个日夜混迹在这里,自学,探讨,交流,也已经好久没有来了。今日,我也将暂时退出互联网行业了(个人问题),写下这篇文章,作为自己对淘宝之路的总结,算是给自己的一份礼物吧,我的青春基本都给了它。个人交流微信:18927834869,欢迎交流。也许不才的我,可以教会您许多。
在看文章的网友,也许会想,是不是又是那个培训机构的,还是代运营的,还是.......我也表明,不是。多年的淘宝生涯,淘宝客服我做过,培训机构我开过,代运营我也开过,淘宝美工我做过,淘宝运营我也做过,直通车车手我也做过,那都是过去了。现在的我,只是一个无业游民。纯属个人分享,想与我交流的,我欢迎,知无不答。如果不是想交流,做朋友的,想拉我培训的,抱歉,别打扰,也许做您前辈我还绰绰有余。
这篇文章也许会很长很长,写到累了,我就停了。有心的人,我想也许您能吸收到很多。无心的喷子,请绕路了,有时间做喷子,不如您分享下自己的经验写写文章分享更实际。觉得能从我问文章中能吸收到一些知识的,麻烦评论写一下,点个赞,这也是对笔者的尊重吧。谢谢
虚假交易,这是每个商家都在顾虑与交流探讨的一个多年话题。S单,这是避免不到的,不理是互联网上的任何平台,拼多多,淘宝,京东.........都离不开。老店,新店,大卖家,中小卖家,都需要。以前S单排查并没有那么的严格,记得那些年的我们直接发链接S都可以,现在S单已经被新闻曝光了,各个互联网平台也重视了,都针对排查虚假交易的排查系统进行了改革,基本很多店铺是一S就死。可是还是大多数的卖家,还会去S单,因为新产品在没有老客户的基础下,无法做客户营销,又为了产品有点基础销量,有评价,才能吸引客人下单,直通车又烧不起,推广费用昂贵,所以都知道S单有可能会被抓,都还是要冒险,这已经成为了互谅网行业的潜规则了。
所以这个话题的探讨从未停止过。为什么有的大店,每天S个几十上百单,没事,为什么有的卖家,一S单就被排查虚假交易了。其实这个问题不难的,我做淘宝的时候,基本被抓的概率为5%,我们是怎么去做的呢。其实只要针对排查系统的规则,做一个细化,自然您就能最大程度的避免被排查(没有人能做到百分百不会被抓)。
现在大家S单,最明智都是利用老客户营销去做。没有老客户的商家,基本都是在一些QT,IS,YY,鱼塘等等这些地方。放单的时候的放单要求,无非都是一些,周不过二,月不过10,代收不超过3,安全系数低的不要,没有实名制的不要,没有什么.....没有达到要求的不要。这些都是老掉牙的东西了,毫无营养。就反问您自己一句,您自己的大号旺旺号,有试过一个星期买10件产品以上的吗?我想每个人都会有,那是不是你买过的店铺就会被抓虚假交易呢?无疑是不会的,否则淘宝就乱套了,你想要那个店铺垮下,那不是变成分分钟的事情啊,找一些待收货超过3的,周超过2的,月超过10的,去买人家的产品,人家的产品就被虚假交易排查了???无疑问,这是不会的,否则淘宝就乱了。就像以前我自己和一些朋友在做淘宝客推手的时候,也就是做代购的时候,我们自己的大号,每个月购买产品可远远超过100件成交记录。(不清楚什么是淘宝客代购的,自己去阿里妈妈查查就知道了。简单的就是帮别人购买产品,从而赚取淘宝客佣金)。所以如果身为商家的您,认为自己要求刷手周不过二,月不过10,代收不超过3,安全系数低的不要,没有实名制的不要,没有什么....就可以避开淘宝系统排查的话,这是不可能的。相反,您要求S手用自己的大号S,代收和月购买记录超一点都没有关系,更安全。——这只是第一步。
S手号找好了,这里就要确认您自己的关键词,商家在选择自己的S单的关键词是非常重要的,例如吧,我们举个例子。雪纺露背沙滩连衣裙,这个词语去S单,会被排查吗?很多人会觉得不会,因为这个是长短词语。在产品没有权重的时候,很多的商家会选择用这样的词语去S单,那我告诉您为什么不行吧。如图:



1、这是直通车后台数据,因为现在无任何官方软件可以查看到某个关键词的全网免费流量的点击率,转化率。(自己问下卖家云客服就清楚了)。所以我们可以借助直通车数据做一个参考值的作用。因为百分之98%的关键词,主要直通车的点击指数高,免费流量这个词语的行业点击指数也会高,这是一个成正比的数据比例。
大家可以看到这个词语的直通车数据,全网直通车七天展现量为0,点击指数为0,转化率为0,如果您去刷这个词语,保持每天去成交,不用三两天,您就中大奖了,很快您就会收到淘宝系统排查虚假交易的信息了。这也是N个淘宝商家经常忽略了的问题。别总把被排查虚假交易的责任,推到S手身上,更多的问题是商家的问题,S手只是按照您的要求做事赚取佣金而已,您还是这个S手的老板,就像公司下属出现问题,最后都是老板的错,老板难逃责任。所以商家在S单的时候,要考虑自己S单的关键词大数据的流量——这是第二个问题——S单的关键词不是满目选择的。(如何选择属于自己产品的关键词这是另外的话题,后面在写了)。
这里先插入一个话题,方便后面的理解。淘宝现在是千人千面的展示,N个商家也许不理解。所以在这里理解什么是千人千面的展示,基本概括为根据个人的旺旺,年龄、性别、爱好、职业、消费水平标签受到淘宝属性统计的影响,短期内不发生变化,但由于买家账号在淘宝平台上某段时间会产生很多购物行为或购物意向,包括了关键词搜索、浏览宝贝、收藏加购和购物频率等等,这些行为是淘宝系统不可预知的随意性变化明显的行为标签,也就是说同一个买家属性标签实际上会对应N个行为属性标签,这也导致买家人群标签不稳定的一面,简称为千人千面。
在同等人群标签的时候,产品一致,销量一致,价格一致,好评一致,动态评分一致,下架时间一致,等等都一致,可是为什么会优先展示A的产品,不展示B的产品?假设同一时间里,您的淘宝账号在广东搜索连衣裙这个关键词,和在河南搜索连衣裙这个关键词,所展示的产品为什么又不一致呢?这就是淘宝大数据碎片式流量的展示了,例如我和你的产品,在同等人群标签和产品标签下,我的产品在河南有成交,得到好评,您的产品没有在河南成交过,那在同等人群标签和产品标签的基础上,我的产品会排名在您的前面很多,和您的宝贝对比之下,会优先展示我的产品。物语类聚,如果我的产品只在河南成交一单,您的产品在河南每天都有成交,那在同等人群标签和产品标签下(其他属性都一致:比如下架时间,动态分等等),您的是每天都有成交,那您的排名就会在我的前面。简单理解这是地域权重。为什么要在这时候说这些呢,只是为了让大家知道地域的重要性,强调一下。
在理解地域的重要性了,继续往下写了。在确定了关键词之后,我们就能理解到S手不是任何地域我们都符合的。例如无袖连衣裙这个关键词是您定的S单词语,如图:

2、大家可以看图片上的数据,七天数据里面,湖北没有任何的转化,假设您找的刷手是湖北的每天去成交几单试一下,不出几天您又中大奖了,虚假交易的通知很快就会下达到您的店铺了。这就是您会被抓的第三个问题了,刷手的地域IP也是很重要的一点。相反之,就算给您这个关键词在湖北排名在淘宝首页又有何用,因为数据告诉您这个地域没有任何成交。
还有N多的商家,在找S手的时候,符合什么周不过几.......月不过几........就都要了。这里又错了,忽略了人群标签和产品标签要匹配才能打标的问题。这个标,可以分为标品与非标品。标品的意思是,不分人群标签不分男女号。例如护膝,这些就是标品。在发布产品的时候不用填写人群。非标品的就是发布产品的时候需要填写人群,例如连衣裙,您在发布产品的时候需要填写年龄如图:

3、假设您选择的是18-24岁,可是您找的S手都是一些40-49岁的,那您的人群标签,和产品标签就不符合,在个性化搜索里面,您的排名机制就无法精准的推送给您的客人,您的流量就会做不起来。所以在S单的假设您发布的产品标签是18-24周岁的,那您就要找S手的号是实名制的也是要这个年龄阶段,才会给您的产品和人群标签打标。所以我们的产品是连衣裙,购买的人是女孩子,那我们就要查S手的号,要求截图看号的性别和年纪。例如:

4、有实名制的旺旺号是无法更改,性别和年纪和名字的。就像这个我们看到,性别女,年纪96年,符合我们18-24岁的产品标签,那我们S单就要找这样的号,不符合的不要,否则个性化搜索打标就对不上了,流量也做不起来,你S再多单,也白搭了。您除了得到一点销量累计,可是您产品想靠销量排名得到流量,那您离流量的路还很漫长了。这是第四个我们要注意到的问题。
S单的第五个问题..........第六............第七..........八........九...........十.................等等,就不写了,这些基础东西,都写了这么多.。想关注这个S单问题的,可以自己去知乎上搜索:【丰哥视频】,文章下面就有视频可以观看,那是我个人录制的视频讲解实操技巧。唉,我也文笔不好,也许是我写的啰嗦,估计大家都觉得我写这些基础没营养了,看不下去了。在这里就不啰嗦S单的问题了,等有不清楚的,在私聊我交流了。我们接下来聊点别的。也不知道有没有人看的到我的文章,会有人评论,点个赞吗?
我是突然想起什么就写什么的,所以大家觉得有营养就看看吧。
如何提升产品的转化率呢。影响转化的是:您产品的流量精准度,详情页,价格,动态评分,销量,评价,客服等,基本可以规划为这几个问题。想解决这个转化率也很简单,一一排查一遍,自然就知道问题在哪里了,就像医生诊断下药一样,找到问题就能解决问题,转化率就自然提升起来了。这一块,我们也挑一块出来聊聊吧。详情页吧。
详情页?90%的店家,都会觉得这是美工的责任,这么理解并没有错。可是如何去衡量一个详情页适合不适合自己的店铺宝贝,99%的店家也许不知道(可能)。首先很多的美工都是靠着自己的想法,以及找同产品类似的宝贝详情页然后模仿的去做。这点是错误的!!!为何这么说呢?因为每个店铺所用的引流关键词,每个店铺所投入的资金是不一样的。这就是大家常说的一个话题【流量精准度】,这个也是和美工息息相关的。例如:A店铺,虽然和您的款式相同,可是它的宝贝引流的关键词直通车和自然流量主要来源都是:真皮女包为主,所以它的宝贝详情页主要展示的自然就是如何描述自己的包包是一个真皮的为主详情页,以包包的材质为中心去突出,才能提高该产品的转化率。可是您的该产品,假设是以“女大包”为自己主推刷的关键词,您去模仿人家主要以展示材质真皮为主的详情页,自然您的流量精准度就不行了,自然转化率就低了,因为客人搜索“真皮女包”,主要想买的就是真皮包包的心里购买欲望,搜索“女大包”,那客人主要想够买的心里就是包包的容量大为主,这是两个概念的问题。不要轻易去模仿别人的详情页,因为未必适合您的产品!!!所以好的详情页其一——与您的宝贝引流关键词息息相关,根据自己主要推广的引流关键词,去制作符合自己流量精准度的详情页。
店家如何挑选适合自己的关键词呢?这个问题也和自己的投入资金以及宝贝的价格息息相关。例如,假设您的宝贝,价格是卖199元,可是您的关键词,打算用真皮女包,可是这个词语的销量排名市场平均价是89元,您觉得这个词语您的转化率能高吗?有的人会说这个是千人千面的展示,这个是确实.可按照销量排名搜索,购买的客人还是很多的。这个关键词的销量排名,平均价格,能证明这个词语大众能接受的价格是多少。这方面在女装产品上容易提现的出。例如【雪纺连衣裙】和【名媛连衣裙】这两个词语都符合您的宝贝。您现在宝贝的定价是198元。雪纺连衣裙,这个关键词的销量排名平均价是59元,名媛连衣裙这个关键词的销量排名的市场平均价格是200元。这会您会发现,雪纺连衣裙进来的流量,转化您会很低。相反,名媛连衣裙这个关键词您进来的流量转化会比较高。所以选择自己直通车推刷的关键词和您的产品定价也是息息相关的。详情页也一样,雪纺连衣裙主要展示的就是雪纺的材质,透气等等为主,名媛连衣裙所要做的详情页,显示的是高贵的场合,聚会,档次,款式的设计等为主,这样的详情页展示是不一样的,才能匹配到您的流量精准度,所以如何选择适合自己的关键词,也和您自己的宝贝定价是有关系的。
定好自己主引流关键词后,把您的同款店家找出来进去看看别人的中差评,还有这个关键词的销量排名首页的所有店铺,都点击进去看看别人的中差评。例如:别人的中差评,都是一些,褪色,车工差,码数不正等等。那您该产品的详情页,里面也要针对这些别人中差评的问题,去用图片展示出来您的优势,例如,不褪色,车工好,码数正等等作为自己的卖点。每个详情页在展示自己产品的时候,也分为有“主中次”的展示。主要展示的卖点就是符合您入店关键词的流量精准度,例如您是女大包,那您‘主’主要展示的就是包包的大小容量,接下来就是展示同款和该关键词销量排名里别人中差评所担心的问题,为“中”卖点。“次”卖点就是产品的照片了,产品的照片也是有讲究的,例如您定位的关键词:礼服连衣裙。那客人就是想买来参加晚会等场合穿的,所以您拍摄的时候,背景如果是用在火车站,飞机场等作为拍摄现场,那就不合适了。更合适的背景会是一些公司聚会,生日聚会,晚会等现场为拍摄背景会更贴切。
所以很多人的美工详情页为什么老是做不好,就像我们常常讨论的一个话题,不懂运营的美工是做不好美工的这个职位的。并不是盲目的靠着自己的想象去做,虽然你做的好看,那也只能说你会做图片,会说你做的美观而已。但是能不能提高店铺的转化,就不一定了,并不是你会PS,你就能做好淘宝产品的详情页,只能说你会做图片。
也有很多的店家,会在淘宝上找详情页制作的淘宝网店。然后就发一个类似的连接给对方,就告诉别人说要做成这样子的,然后就给钱。就像我们前面分析说到的,别人的详情页不一定适合你。别人的美工只是用模板帮你作图就收费几百元,做出来的详情页对你有没有用,人家也不会管你,更不会去帮你查别人评价等等这些事情。也不是说所有的淘宝详情页制作的店都是这样。还是知道有个别的详情页制作的淘宝店还是不错的,就像【运筹设计】和【高老庄视觉设计】这两个淘宝店做的详情页设计还是很不错的,都是一些做过运营的人做的美工。个人觉得是挺负责的,因为他们的美工都是一些做了几年淘宝运营的人,所以清楚什么样子的详情页适合这个客人,还会帮客人探讨分析店铺存在的问题,而且收费也是行业价格,很实惠。不会一聊天就问客人想做什么样子的,而会教客人分析店铺数据问题,告诉客人什么样子才合适自己的产品。能感受到他们的专业。不知道现在有没有开了,我只有他们的联系方式,这里就不好发出来了。好了,不聊这个问题了,等下以为是打广告了。
接下来就是做主图,主图大家都知道是非常影响点击率的。这就是色调的搭配问题,如果在同页面的产品中,做到显眼。点击自然就高了。例如别人的主图颜色都是偏黑色系列的,这时候你的也是黑色系列,那您的主图自然就跳不出来了。相反别人的都是黑色系列的,你的主图是白色的,那您的视觉效果就出来了,能让人一眼就看到你的产品。所以撞色的效果是最好了,别人是什么颜色主图你用和他撞色的颜色。撞色是指对比色搭配,包括强烈色配合或者补色配合。强烈色配合指两个相隔较远的颜色相配,如:黄色与紫色,红色与青绿色,这种配色比较强烈;补色配合指两个相对的颜色的配合,如:红与绿,青与橙,黑与白等。例如和您同页面的宝贝假设有44家店铺(根据您主要推刷的关键词来搜索),他们用黑色底色的有20家,用红色底色的有4家,用白色底色的有20家,自己记录下来,对比撞色系,就能知道自己要用什么颜色了。简单的理解就是,主图也好,详情页也好,都是围绕自己的流量入口的词语等来制作的,不是什么数据都不查,然后就靠着自己的想法玩设计的。靠着自己的灵感设计的,做室内装修的较多,但是做淘宝的美工,一定需要懂一些运营知识才行,否则就需要一个合格的运营,明确的告诉您的美工需要如何去做。
接下来写点什么呢,我也不知道大家想看什么,大家想看什么的一会可以私信告诉我,给点思路。如果没有,那我就继续随便写写吧。
淘宝无线端猜你喜欢的流量还是很大的,要不我们聊聊这个吧。简单的介绍一下什么叫猜你喜欢,猜你喜欢产品主要是一个人群标签和猜你喜欢权重决定的,淘宝为了让我们的流量更加精准化,让客人能够快速找到符合客人购买习惯,搜索关键词,价格等等因素的产品,不同的价格,不同的人群,淘宝会给客人展示不同的产品。让大家更明了一点呢,猜你喜欢的排名机制可以细化为这13个指标,1:图片。淘宝店是第五张图。商城是第二张图。2:宝贝点击3:销量权重(评价评语数量衡量)4:单品宝贝的人气增长值5:单品宝贝的好评率6:单品宝贝的退货速度7:单品宝贝的发货速度8:单品宝贝的转化率9:单品宝贝的页面停留时间10:单品宝贝的购物车量11:单品宝贝的收藏量12:单品宝贝的跳失率。13;产品标签和人群标签相符。
我们挑一个来说吧,就第13来聊聊吧。简单的理解就是产品被打标了。前面我们在聊刷单的时候,有提到打标的问题,如果您是靠刷单想拿到才你喜欢的流量,简单理解就是您结合自己产品标签为基础,模仿人群标签的购物行为,你的产品标签和人群标签相匹配度越高,该产品在符合产品标签和人群标签的权重值约高。想快速拿到这块的流量,也可以利用直通车,在直通车里面如图:

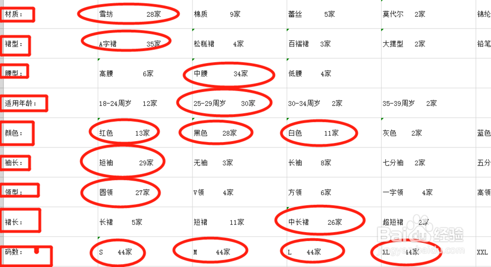
5、从而做好以上谈到的13个指标,做好这些,您自然就可以拿到猜您喜欢的流量了。也有很多的商家,会发现不稳定,有时候突然一天流量暴涨了,没有几天就突然下滑了。这就是您的坑位产出比不够了,当淘宝给了您的产品流量,您的成交转化不行的话,流量又会被没收走了,会把位置让给别的店家了。所以想要稳定猜你喜欢这块流量的,首先您自己的产品本身的点击转化这些指标要好才行,只靠刷单维护的点击转化是不够的。也可以理解为产品标签和人群标签,就如一块正负极的磁铁。是相吸引的,人群标签这是连淘宝都无法控制消费者明天会买什么的机制。所以卖家们,只要做好自己的产品符合大众化人群标签即可,做好自己产品后,也就是做好刚说到的13个指标。喜欢这个系列的消费者,您的产品自然能得到猜你喜欢排名。所以产品标签,越受大家的欢迎,需要的人越多,那您的产品获得猜你喜欢的流量就会越大。所以产品标签是决定流量大小的基础。如何才能让自己的产品标签能覆盖的更多的人群,这个就来源您的产品了。例如雪纺短袖连衣裙,大数据点击指数是10万,无袖雪纺连衣裙,大数据点击指数是1万,人群标签一致情况下,雪纺短袖连衣裙获得的流量肯定会比无袖雪纺连衣裙多很多。也就是首先您的产品要符合热搜属性。如何知道热搜属性,有很多办法,可以用软件,也可以手动收集。例如您是定位做连衣裙的,我们在选择自己的产品的时候可以先收集好热搜属性,千万不要凭着自己的眼睛喜好来定款式,用数据说了算,例如淘宝搜索连衣裙,按销量排名(因为买的人多),点击进去看看别人的产品的属性是一些什么,然后收集起来,如图:

6、 这样您就会很明确现在连衣裙的热搜属性是什么了,雪纺的,A字群,短袖的,圆领子的,图案是纯色的,中长款的,24-25周岁的,要有黑色,红色,白色........价格等等细节了。这样您找出的款式,符合这些要求的越多,那您的款式就越好。款式符合热搜属性越多,那您的款式覆盖适合的人群也会越多,符合了大众化,那您如果得到猜你喜欢的排名,流量也能最大化。所以产品款式是很重要的,也就是您的产品标签这是得到大流量的基础。(不要凭着自己的眼观去看款式,知道了热搜属性,带着这些目的去找款式产品就更容易了)。
写的挺久了,也不知道大家看的怎么样。在继续聊点别的。为什么刷单没有效果,为什么流量上不去,为什么烧直通车,为什么开通淘宝客等等。这些其实就是一个运营,去制定一个属于自己店铺的操作计划,然后公司整个团队都围绕这个计划去配合执行,如果一个运营连自己的运营计划都没有的话,那就是满目的了,满目就肯定做不好了。一般做的计划会是什么样子的,我给大家找找以前的一些基本的基础计划吧。如图:

7、这就是一个初步的基础计划,后期还要根据自己的实际数据情况,在调整的。每个关键词,要成交那些地域,每个地域每天要成交多少单(不刷单的,可以用直通车解决,直通车有地域投放),宝贝要递增多少百分比例,关键词要递增多少比例,关键词的地域要增长多少比例,收藏人数要递增多少比例,购物要递增多少比例,收藏成交人数要递增多少比例,购物成交人数要递增多少比例。这些都是有计划,在执行的,才能更快速拿到电脑端和手机端综合排名和猜你喜欢的免费流量,不是满目操作的。如图:

8、这只是初步计划,不是绝对计划切勿模仿,因为后期要根据数据更改的,以及产品。每个店铺,每个产品所涉及的关键词和详情页都不一样,关键词的地域也不一样,切入操作的时间点也不一样,所以不能模仿的,切记。任何数据都是控制在增长的比例中,地域的我就没有标记起来了,因为是前几个月的文档了,地域也是逐步增长的,例如表格里的四川,四川做的是1:4比例。至于店铺该如何去制定出自己产品的最佳操作计划,到时候有人看我在更新吧,也可以发私信给我与我交流,今天确实写的很多了,也不知道有没有人能看到这个文章。我的文化水平低,所以文采不好,写起来也不知道表达的友友们看不看得懂。如何去写自己宝贝的标题。这个N多人在分享,N多人在谈论技巧,也谈论了N年了。今天我也在此分享下..........
首先在制作自己产品的标题时,先要明确到标题,影响了宝贝那些问题。基本可以分为如下:
1:影响电脑端与手机端自然流量搜索(标题上没有的关键词字眼,消费者搜索该关键词时,无法搜索到您的宝贝)。
2:影响手机端淘宝猜你喜欢免费流量。(猜你喜欢产品主要是一个人群标签和猜你喜欢权重决定的,淘宝为了让我们的流量更加精准化,让客人能够快速找到符合客人购买习惯,搜索关键词,价格等等因素的产品,不同的价格,不同的人群,淘宝会给客人展示不同的产品)
3:影响人群标签(年龄、性别、爱好、职业、消费水平标签受到淘宝属性统计的影响,短期内不发生变化,但由于买家账号在淘宝平台上某段时间会产生很多购物行为或购物意向,包括了关键词搜索、浏览宝贝、收藏加购和购物频率等等,这些行为是淘宝系统不可预知的随意性变化明显的行为标签,也就是说同一个买家属性标签实际上会对应N个行为属性标签,这也导致买家人群标签不稳定的一面,因此在做精准人群时要充分统计分析利用好这个购物行为标签。)
4:影响直通车关键词的质量得分之一。(您推广的直通车的关键词与您宝贝的相符程度。体现在宝贝标题信息和直通车推广内容信息上。如果关键词是在您宝贝标题中用到的,特别是您直通车的推广标题中也出现,那么该关键词与您宝贝的相关度就会提高,出价也会更实惠)
这样大家就更能理解到,标题里的关键词,和宝贝的推广流量大小,息息相关,影响也是非常非常大的。
宝贝标题在不用错类目词,无违禁词语的情况下,正确的描述宝贝卖点,覆盖的关键词数量越多,能获得流量入口越多。
大家也不要去用什么红海词,蓝海词什么的,首先要符合您自己宝贝才行,否则就算这个词语在好,流量在大,那也和您一点关系都没有,更不要去复制别人的标题,因为虽然类目相同,可是您们的价格不同,产品属性不同,而且别人的店铺是因为有去做推广,您去用别人爆款的标题,是没意义的,结果就是看着别人好,自己的一点自然流量都没有。
中小卖家基础相对弱一些,那我就写的详细一点,也许会比较繁琐啰嗦,各位网友体谅。
如何去制作自己的精准标题。 首先要明确自己的类目,例如您是做大码女装的类目的,主要卖的是连衣裙。
第一步:既:类目——大码女装,子类目——连衣裙,这样我们可以定位自己的中心词先,中心词就是:大码连衣裙。
第二步:明确了中心词,接下来就在淘宝上搜索大码连衣裙这个关键词。如下:

9、第三步:任意点击一个店铺进去,之后点击T0P20万关键词。如图:

10、第四步:点击最新更新的TOP20万关键词的,手机端与PC端,下载出来。如图:

11、第五步:点击打开刚下载的手机端与电脑端的T0P20万关键词表,然后1:点击筛选。2:输入自己的中心词语:大码连衣裙。3:点击确定。这样覆盖了大码连衣裙的所有关键词就都筛选出来了。如图:

12、第六步:点击筛选,点击类目,输入您的类目:大码女装,打钩,点击确定。这样您这个大码女装类目,包含中心词:大码连衣裙 的所有关键词,就筛选出来了。如图:


13、 目前没有任何官方软件可以查看到某个关键词,在淘宝上该关键词的自然流量,搜索点击指数,点击率,转化率等等(不清楚的可以自己咨询淘宝云客服)。所以这一块是一个盲区,可是直通车的是付费的流量,这块数据淘宝做的非常的好了,可以查看得到这些数据。直通车位置和淘宝自然搜索位置,都是展示在淘宝的页面上(站外除外),所以直通车某个关键词的数据和自然流量的数据是成正比的,所以可以借助这块的数据库,我们可以做参考值。(不是绝对值)
有很多的卖家们走到前面六步,估计标题就以为做好了,这里就错了。淘宝上做任何一个选择,任何一个操作,都需要有数据的支撑,切记。接下来我们继续。
第七步:我们需要把我们的中心词,算出市场平均价。例如我们讲到的中心词是:大码连衣裙。我们就要在淘宝上搜素关键词:大码连衣裙,点击按照销量排名,把销量首页所有自然流量别人的价格加起来,在除以44(因为一共44个店铺),得出平均价。如图:

14、这样我们就得出了大码连衣裙的平均价格:73.5元。我们为什么要算出平均价呢,这个平均价格有什么作用?——大家都知道卖的好的,排名在热词销量首页的,我们都叫爆款,都是买了几大千,几大万件的,都很羡慕吧。别人的平均价格,能得到一个结论,喜欢大码连衣裙的客人,普遍能接受的价格范围在73.5元左右,人的购物心理,起伏不要超过10元还是能接受的,例如69元——79元。这个价格我们可以评估得到,大纵客人喜欢接受的价格范围是在69元——79元之间。如果您是计划要打造爆款的话,那您的价格最好是在这个69-79元的区间中,这样您能覆盖的客户群体才会多,后期手淘推荐,猜你喜欢的流量,你能覆盖的客户群体才会多,流量才能做到最大化。标题影响了什么,我们上面已经说到了,这里就不重复了。如果您不是打造爆款的想法,那这个第七个知识点,您可以忽略吧。我们接着往下写了,目前明确自己做的是——大码女装类目——中心词——大码连衣裙——大纵价格和自己的宝贝定价是69——79元区间。
第八步:就如我们之前所说的,任何决定我们要用数据说话,所以我们在刚才下载筛选好的关键词还有上百个,这时候我们要用那些词语作为我们的标题关键词,我们还需要用数据来支撑。要把每个词语的,点击率,转化率,点击指数,市场宝贝数量,该关键词的市场平均价,销量首页第一页最后一名,销量第十页面最后一名(淘宝展示是100页面,可是几本没有客人买东西会看到第99页面去购买的,一般都在前10页面就购买好了,也就是我们的关键词能排名在前10页面,我们的流量会好很多,生意也才会好很多,所以我们要收集好这些数据,判断我们后期操作流量的难度)。如图:

15、例如我们图片显示的,关键词:大码连衣裙长款 过膝 这个关键词,市场平均价是43元,对我们没用,比如您的产品宝贝真的出现在这个词语的首页的时候,大家都在卖40元左右(大众化能接受的价格),您的产品宝贝在卖79元,您觉得自己的产品在这个词语的页面里,转化能高吗?点击率能高吗?所以这样的词语我们要一个一个的排除掉,包括点击率低的,转化率低的(转化低的词语也不要,因为这些转化假设才0.2%的转化率,就算这个词语给你做进来500个访客数,你也才成交一单,拉低了自己的数据指标,所以作废这个词。换句话说,假设这个词语转化能做到2%的转化,一天这个词语你做500的访客数,也能成交10单,你多几个这些词语,每天成交的单数才会多,数据指标才会好),点击指数低的(流量都没有的词语没用),不符合自己宝贝属性的不要,全部一个一个的排除掉,排除完后,省下的才是适合自己的。
第九步:把剩下的关键词,全部排列出来。把雷同的文字,挑选出来。例如:我们一共还有20个词语,筛选后,这20个关键词,同样有“大”字的有20词语,同样有“胖”字的有14个词语,同样有........................如图:

16、第十步:按照该词语,雷同字眼最多的,挑选出30个字,组成标题,读起来顺畅即可。如图:

17、这样组成自己的宝贝标题,流量的精准度才会是最高的。后期在操作流量,点击率,转化率等等,才能最大化。当然再好的标题,不去操作也不行,也要去做好自己的推广。想把店铺的自然流量玩起来,想推广省钱,想做好点击率,转化率,那您的前提是:做好自己的标题!!!
我想我写的很详细了,有一些忽略的步骤,或者看不懂的,也可以去看下我之前录制的小视频,就更加清晰明了了。大家可以自己去知乎搜索【丰哥视频】
我不是任何培训机构,纯属个人经验的分享。因为个人问题,我将退出淘军大队伍了,目前只是一个无业游民。想与我交流经验的我欢迎,给我发私信或者评论区留言。希望看到此文章的网友们,祝愿大家生意兴隆!!!