小度生活
首页
美食营养
手工爱好
生活家居
返回
小度生活
首页
美食营养
游戏数码
手工爱好
生活家居
健康养生
运动户外
职场理财
情感交际
母婴教育
时尚美容
知识问答
生活知识
搜索
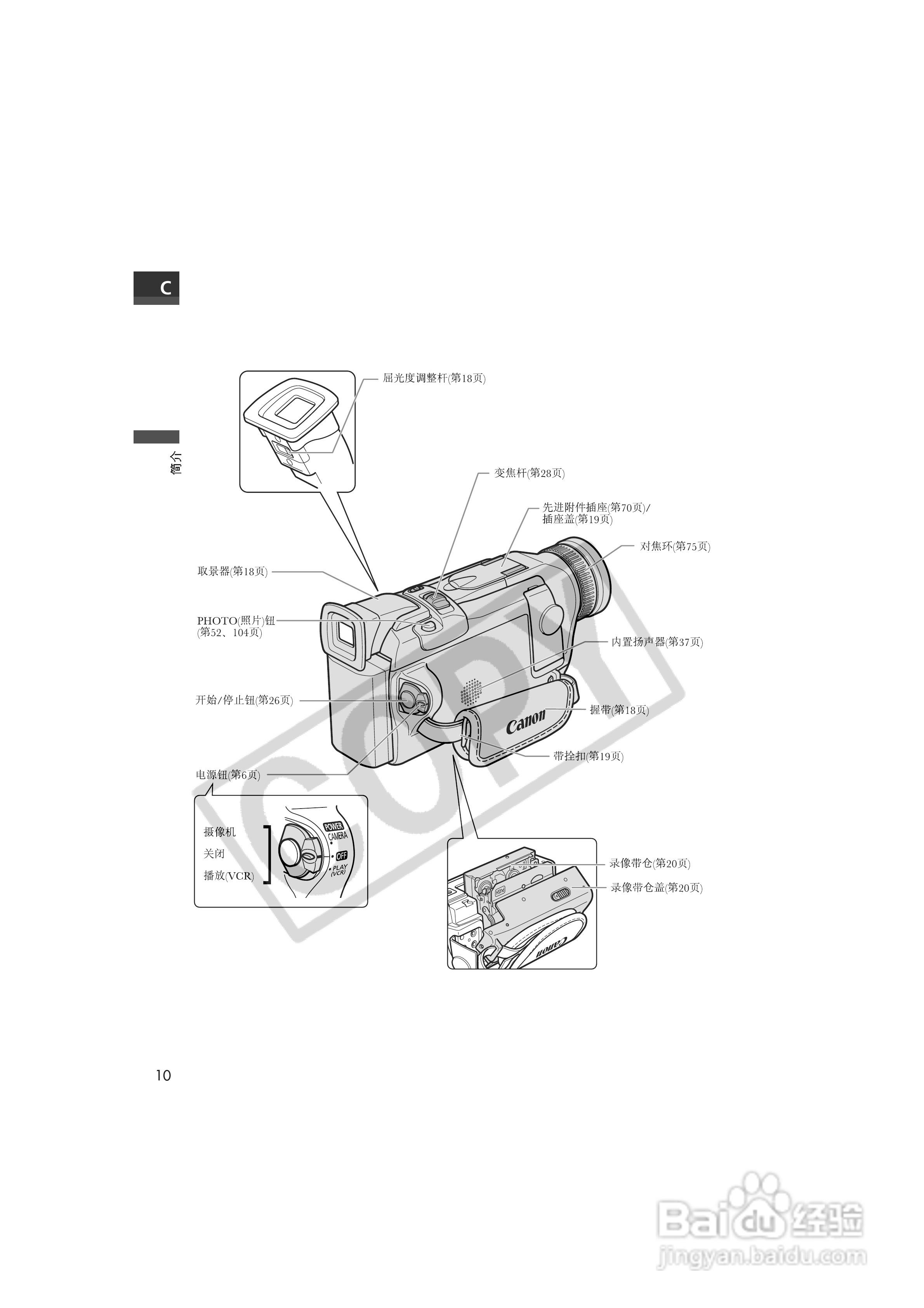
佳能MVX150i数码摄像机使用说明书:[1]
2025-10-27 10:57:02
本篇为《佳能MVX150i数码摄像机使用说明书》,主要介绍该产品的使用方法以及常见故障解决方案。
(共篇)
下一篇:
声明:
本网站引用、摘录或转载内容仅供网站访问者交流或参考,不代表本站立场,如存在版权或非法内容,请联系站长删除,联系邮箱:site.kefu@qq.com。
相关推荐
ps怎么把文字设为红色描边
阅读量:187
酒店点菜系统有哪些 酒店点餐系统设计怎么做
阅读量:188
黄桃牛奶汁
阅读量:40
海缸开缸教程?
阅读量:177
如何进行空气质量探索性分析呢?
阅读量:159
猜你喜欢
怎么打野
野菜大全
螺丝滑丝怎么拧下来
脸上有皱纹怎么办
什么都不会怎么找工作
帝豪怎么样
捷达车怎么样
小妇人简介
水粉画图片大全
qq飞车网名大全男生
猜你喜欢
18岁身份证号大全
小学语文基础知识大全
姓杨的男孩名字大全
观察日记50字大全
薯条怎么做才外脆里嫩
米兰花怎么养
简单折纸大全图解
旅游景点大全
汉堡包的英语怎么写
四年级上册应用题大全