小度生活
首页
美食营养
手工爱好
生活家居
返回
小度生活
首页
美食营养
游戏数码
手工爱好
生活家居
健康养生
运动户外
职场理财
情感交际
母婴教育
时尚美容
知识问答
生活知识
生活百科
搜索
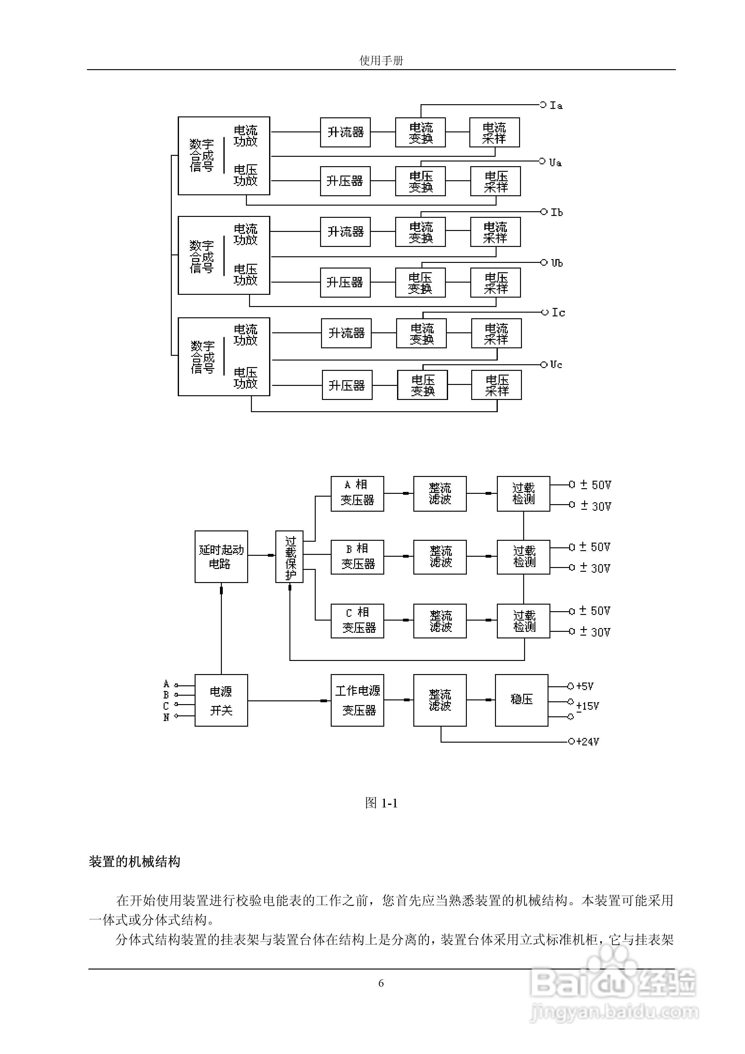
格宁YC-1893D三相电能表多功能校验装置说明书:[1]
2026-04-17 18:39:45
本篇为《格宁YC-1893D三相电能表多功能校验装置说明书》,主要介绍该产品的使用方法以及常见故障解决方案。
(共篇)
下一篇:
声明:
本网站引用、摘录或转载内容仅供网站访问者交流或参考,不代表本站立场,如存在版权或非法内容,请联系站长删除,联系邮箱:site.kefu@qq.com。
相关推荐
格宁YC-1893D三相电能表多功能校验装置说明书:[6]
阅读量:141
YC-98T微机型三相电能表现场校验仪说明书:[1]
阅读量:128
YC-98T微机型三相电能表现场校验仪说明书:[3]
阅读量:185
YC-98T微机型三相电能表现场校验仪说明书:[8]
阅读量:172
YC-98T微机型三相电能表现场校验仪说明书:[4]
阅读量:163
猜你喜欢
多肉植物怎么种
怎么增加肺活量
离职后五险一金怎么办
珍珠粉怎么吃
广东麻将怎么打
怎么让咬肌变小
怎么样才能生儿子
怎么调节内分泌
漂流日记怎么写
皮肤发黄怎么调理
猜你喜欢
网上预约挂号怎么挂
微商怎么加人
赛轮轮胎怎么样
路由器怎么修改密码
找不到打印机怎么办
珀薇面膜怎么样
evisu怎么读
蓝屏怎么办
电子邮箱怎么注册申请
鼻子上长痘痘怎么办