高压表怎么接线测量怎么做?
1、现在先来做测量前准备
SGB-C系列交直流数字高压表属于高压设备,请务必在空旷场地做试验。

2、试验环境:
仪器正常使用应满足:环境温度0~40℃,湿度≤85%RH。
3、打开低压显示表,看液晶显示数字是否清晰,若显示模糊或没有显示,请检查显示表内部电池。

1、正确接线
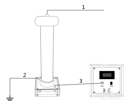
按图4所示接线方法正确接线。高压输入接均压球顶端接线柱,接地柱通过仪器配套接地线连接到大地,高压分压器和低压显示表通过仪器配套同轴电缆连接。连接好后,检查连线,确认无误后,选择相应的档位和量限即可开始测量。

2、正确接线后,打开低压显示表“Power”开关,将功能开关切换至AC档,选择High档,即可测量工频高压,液晶示值即为被测工频高压值。如测量电压低于20kV,可将功能开关切换至Low档,以获得更高的测量精度。测试完毕后,切断高压,等低压显示仪表归零后方可进入现场。(交流测试时,仪表会缓慢回零,但高压电源可能已经没有电了。)
3、正确接线后,打开低压显示表“Power”开关,将功能开关切换至DC档,选择High档,即可测量直流高压,液晶示值即为直流高压值。如测量电压低于20kV,可将功能开关切换至Low档,以获得更高的测量精度。测试完毕后,切断高压,等低压显示仪表归零后方可进入现场。注意:在测量直流时,因有滤波电容存在,测试完毕必须先放电才可靠近高压分压器。
4、华天电力为了满足客户的实际要求而设计,高压分压器可以独立使用,用市面上普通的万用表即可代替低压显示表。高压分压器分压比是1000:1,万用表示值乘以1000就等于被测高压电压值。即万用表示值的单位换成kV即可。
5、更换电池
打开低压显示表,如发现液晶显示模糊,或没有反应,说明该仪器内部电池电压偏低,需要更换。具体步骤如下:
1.按Power开关关闭低压显示表电源;
2.把低压显示表面板上的四个螺丝拧下,把面板提起;
3.把电池盒上的螺丝拧下,电池盒盖打开,更换9V电池。(注意电池正负极性)