小度生活
首页
美食营养
手工爱好
生活家居
返回
小度生活
首页
美食营养
游戏数码
手工爱好
生活家居
健康养生
运动户外
职场理财
情感交际
母婴教育
时尚美容
知识问答
搜索
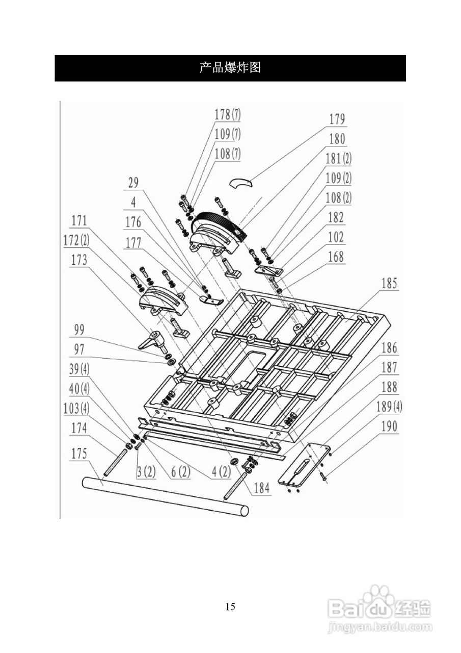
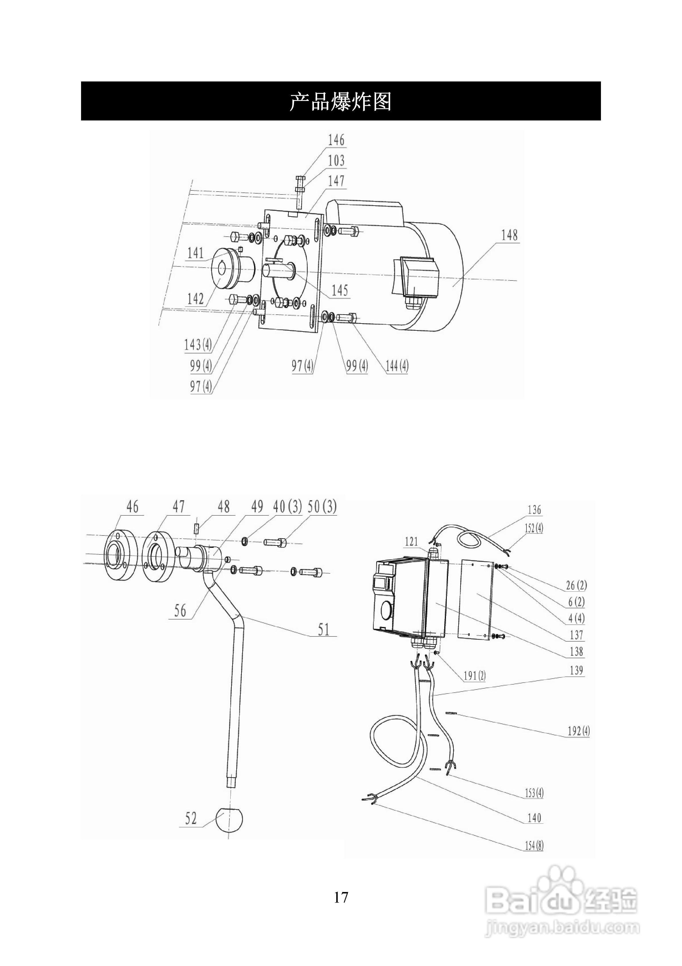
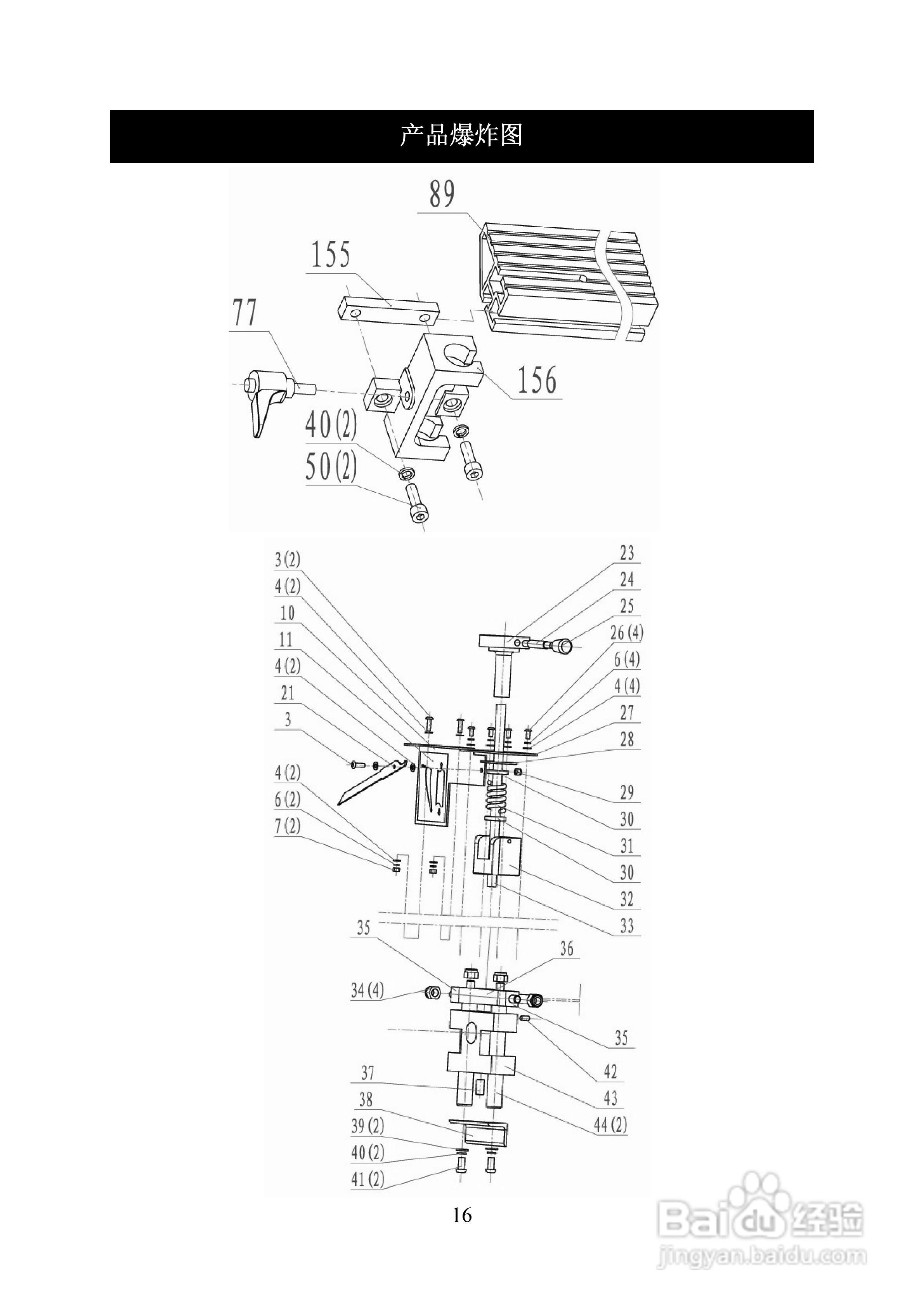
海威细木工带锯机HW616操作说明书:[2]
2025-10-26 23:11:33
本篇为《海威细木工带锯机HW616操作说明书》,主要介绍该产品的使用方法以及常见故障解决方案。
(共篇)
上一篇:
|
下一篇:
声明:
本网站引用、摘录或转载内容仅供网站访问者交流或参考,不代表本站立场,如存在版权或非法内容,请联系站长删除,联系邮箱:site.kefu@qq.com。
相关推荐
海威细木工带锯机HW616操作说明书:[1]
阅读量:159
海威细木工带锯机HW614操作说明书:[1]
阅读量:137
海威细木工带锯机HW614操作说明书:[3]
阅读量:179
木工带锯机使用与保养
阅读量:28
木工带锯机、带锯跑车操作规程
阅读量:155
猜你喜欢
神奇公司在哪里
如何做蛋挞
cad如何画箭头
小产权房怎么贷款
如何辨别玉的真假
如何长高个子
换驾驶证去哪里
堵车怎么发朋友圈搞笑
qq好友恢复在哪里
貔貅如何开光
猜你喜欢
cad怎么连续标注
路由器密码忘了怎么办
ppt怎么转换成word
枸杞泡水喝的正确方法
梦幻西游怎么钓鱼
怎么样锻炼
得胜麦克风怎么样
暴风魔镜怎么样
三星堆遗址在哪里
五台山旅游地图