小度生活
首页
美食营养
手工爱好
生活家居
返回
小度生活
首页
美食营养
游戏数码
手工爱好
生活家居
健康养生
运动户外
职场理财
情感交际
母婴教育
时尚美容
知识问答
生活知识
生活百科
搜索
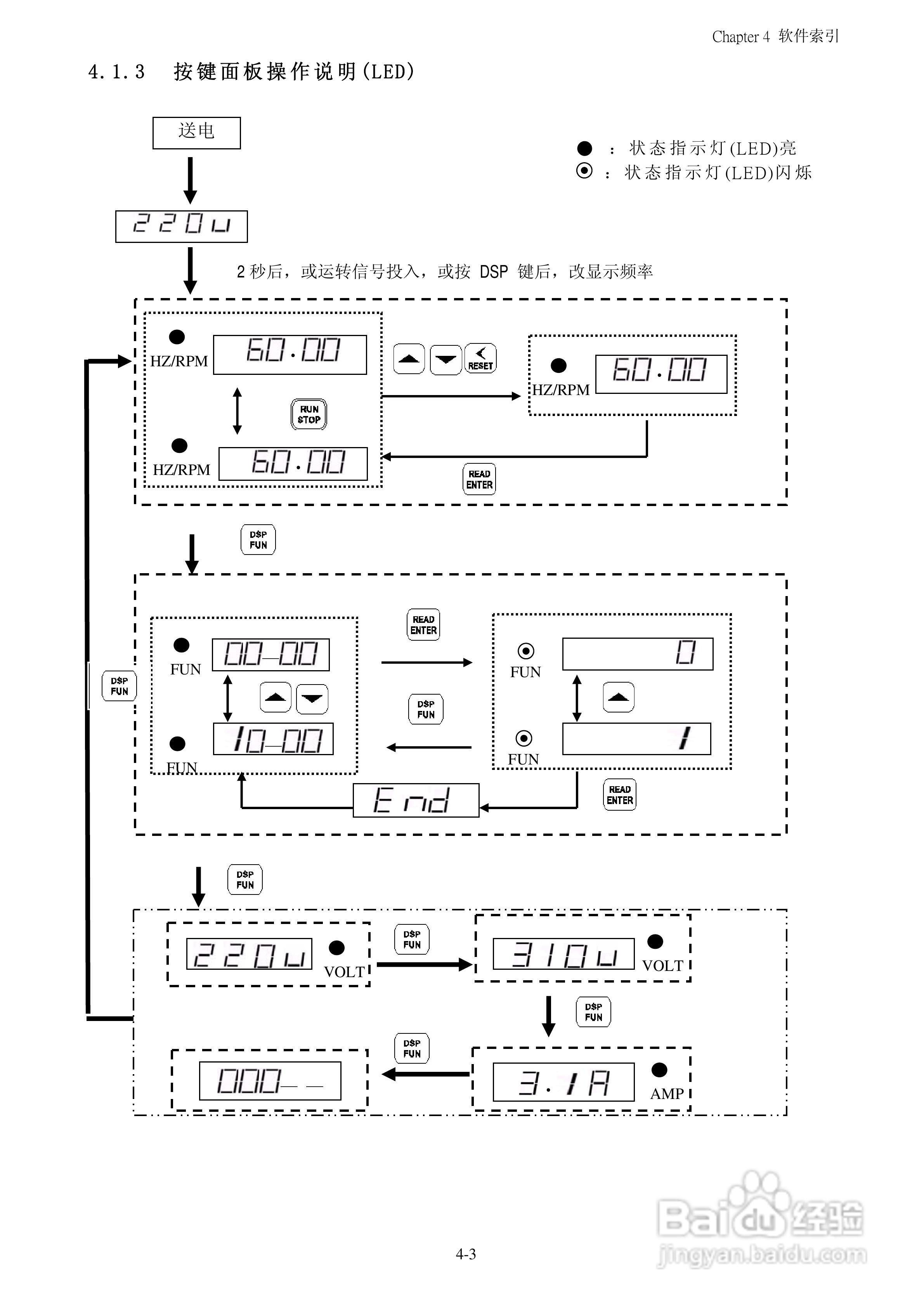
FATEK FID-N1-550-43X变频器使用说明书:[4]
2026-03-28 11:07:50
本篇为《FATEK FID-N1-550-43X变频器使用说明书》,主要介绍该产品的使用方法以及常见故障解决方案。
(共篇)
上一篇:
|
下一篇:
声明:
本网站引用、摘录或转载内容仅供网站访问者交流或参考,不代表本站立场,如存在版权或非法内容,请联系站长删除,联系邮箱:site.kefu@qq.com。
相关推荐
FATEK FID-N1-550-43X变频器使用说明书:[8]
阅读量:186
FATEK FID-S1-015-21变频器使用说明书:[4]
阅读量:195
FATEK FID-S1-015-21变频器使用说明书:[1]
阅读量:74
FATEK FID-S1-015-21变频器使用说明书:[2]
阅读量:116
使用说明书封面怎么做
阅读量:74
猜你喜欢
如何成为健身教练
小孩半夜哭闹怎么回事
生活安全知识
如何实现共同富裕
怎么注册网站域名
taurus怎么读
大闸蟹如何保存
如何开通创业板
如何注册qq号
网络上传速度慢怎么办
猜你喜欢
lol无极剑圣怎么玩
飞歌导航怎么样
墙上挂画怎么安装
经常便秘怎么调理好
如何进入recovery模式
etf基金是什么
win7怎么换桌面壁纸
怎么提高自己的口才
如何将照片变小
小米智能生活