icp备案怎么做
根据国内的《国务院互联网信息服务管理办法》中第二条、第四条明确规定“在中华人民共和国境内从事互联网信息服务的,必须取得许可或者履行备案手续,否则不得从事互联网信息服务”。也就是说只要你的网站放在中国境内就必须得进行ICP备案,没有备案,会被处罚甚至是关闭网站。那么ICP备案需要怎么做呢?需要准备哪些材料呢?
一、icp备案需要哪些材料:
以企业为主体备案的需要准备以下资料:
1、提供文档资料内容为:域名、备案人姓名、身份证号、公司名称、营业执照号、手机号、座机号、电子邮箱、详细地址。邮寄(不是以公司备案的就不需要营业执照了)
2、提供营业执照副本扫描件、身份证扫描件、域名证书扫描件及法人全上半身照片(白底、大小为100K)。
以个人为主体备案的需要准备以下资料:
1、个人身份证复印件一份
2、真实性核验单一份
3、幕布照片
原来备案主体备过案的,在以上备案资料的基础上补充以下资料:
1、提供上一次备案时的原始备案密码(若密码丢失,可由原来ICP接入服务商协助找回,或者直接携带备案主体证明件到深圳市通信管理局申请找回密码)2、以企业为主体的备案的,一并将“企业营业执照”和“组织机构代码证”复印件各两份。
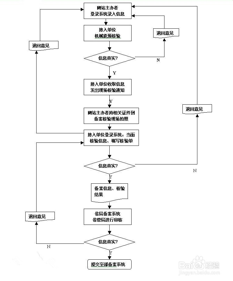
二、icp备案过程

三、icp备案查询
可以上相关网站上进行查询
声明:本网站引用、摘录或转载内容仅供网站访问者交流或参考,不代表本站立场,如存在版权或非法内容,请联系站长删除,联系邮箱:site.kefu@qq.com。
阅读量:145
阅读量:140
阅读量:44
阅读量:139
阅读量:167