小度生活
首页
美食营养
手工爱好
生活家居
返回
小度生活
首页
美食营养
游戏数码
手工爱好
生活家居
健康养生
运动户外
职场理财
情感交际
母婴教育
时尚美容
知识问答
搜索
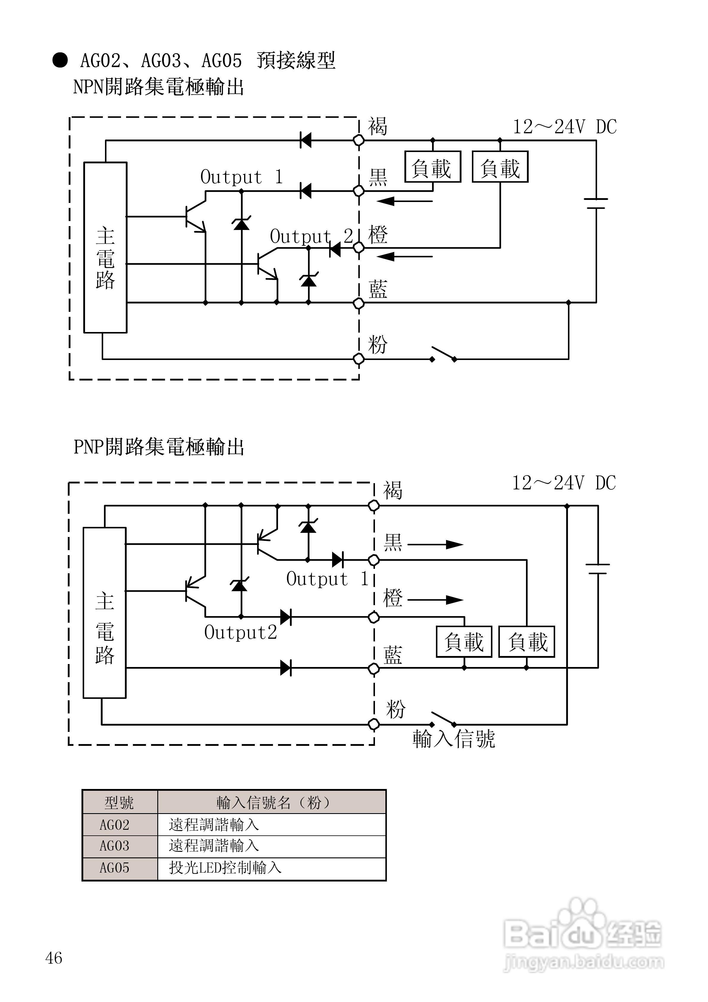
山武HPX-AG系列光电开关使用说明书:[5]
2025-11-17 02:12:31
本篇为《山武HPX-AG系列光电开关使用说明书》,主要介绍该产品的使用方法以及常见故障解决方案。
(共篇)
上一篇:
|
下一篇:
声明:
本网站引用、摘录或转载内容仅供网站访问者交流或参考,不代表本站立场,如存在版权或非法内容,请联系站长删除,联系邮箱:site.kefu@qq.com。
相关推荐
山武HPX-AG系列光电开关使用说明书:[1]
阅读量:110
日本山武指示调节器SDC40A使用说明书:[5]
阅读量:20
日本山武指示调节器SDC40A使用说明书:[4]
阅读量:196
日本山武指示调节器SDC40B使用说明书:[15]
阅读量:57
使用说明书wf2651使用指南
阅读量:160
猜你喜欢
led显示屏怎么改字
夜间模式怎么开
手发麻是怎么回事
鼻子出血怎么回事
海普凯诺1987奶粉怎么样
花呗怎么提高额度
灰指甲怎么传染
板栗怎么去皮和壳
区块链怎么赚钱
得痔疮怎么办
猜你喜欢
苹果怎么导入通讯录
喝多了怎么解酒
养老保险怎么算
备忘录怎么写
舌苔厚白是怎么调理
dnf浓缩的异界精髓怎么得
螃蟹怎么蒸
宣传语怎么写
不穿的衣服怎么处理
达英35怎么吃