小度生活
首页
美食营养
手工爱好
生活家居
返回
小度生活
首页
美食营养
游戏数码
手工爱好
生活家居
健康养生
运动户外
职场理财
情感交际
母婴教育
时尚美容
知识问答
生活知识
生活百科
搜索
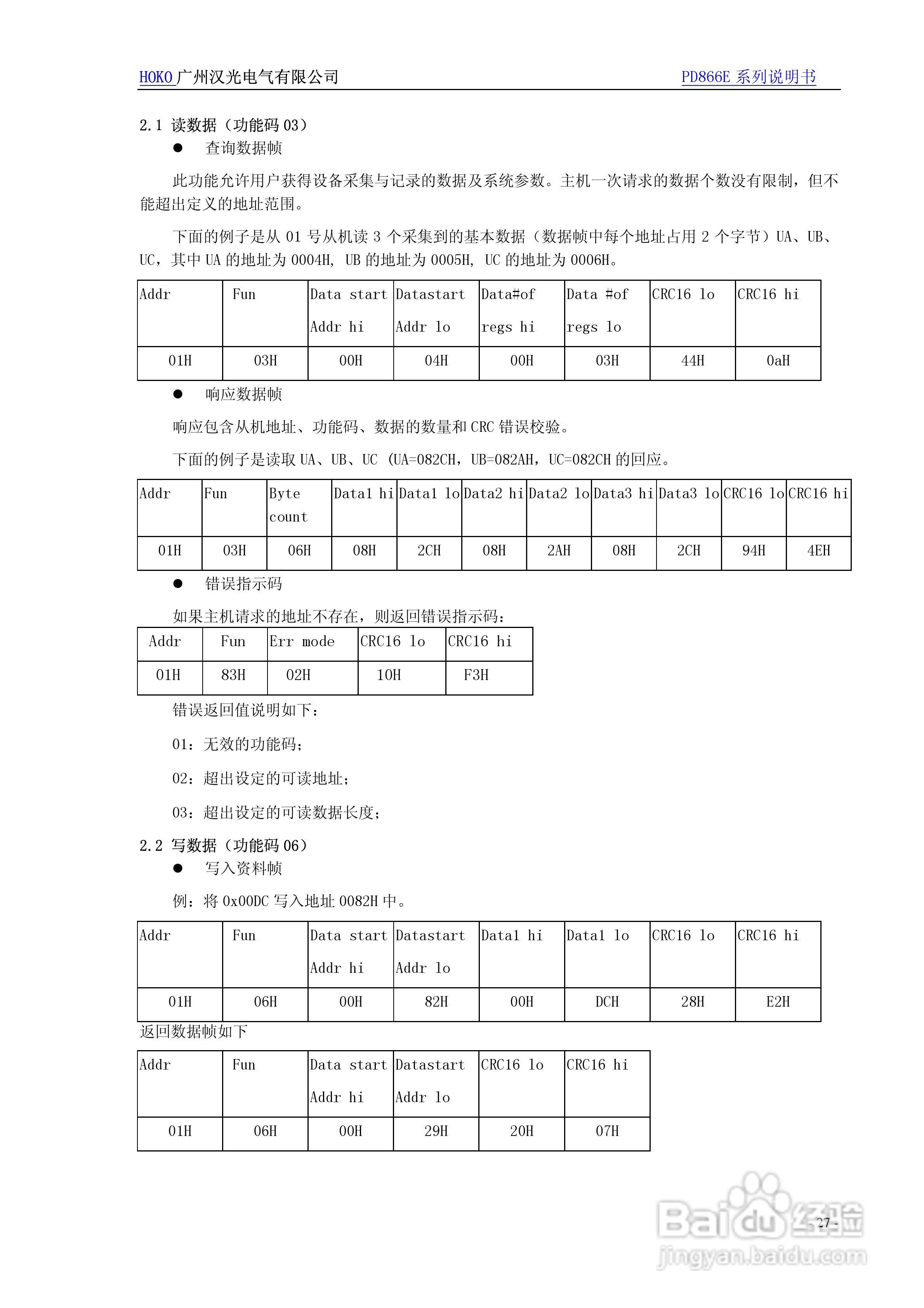
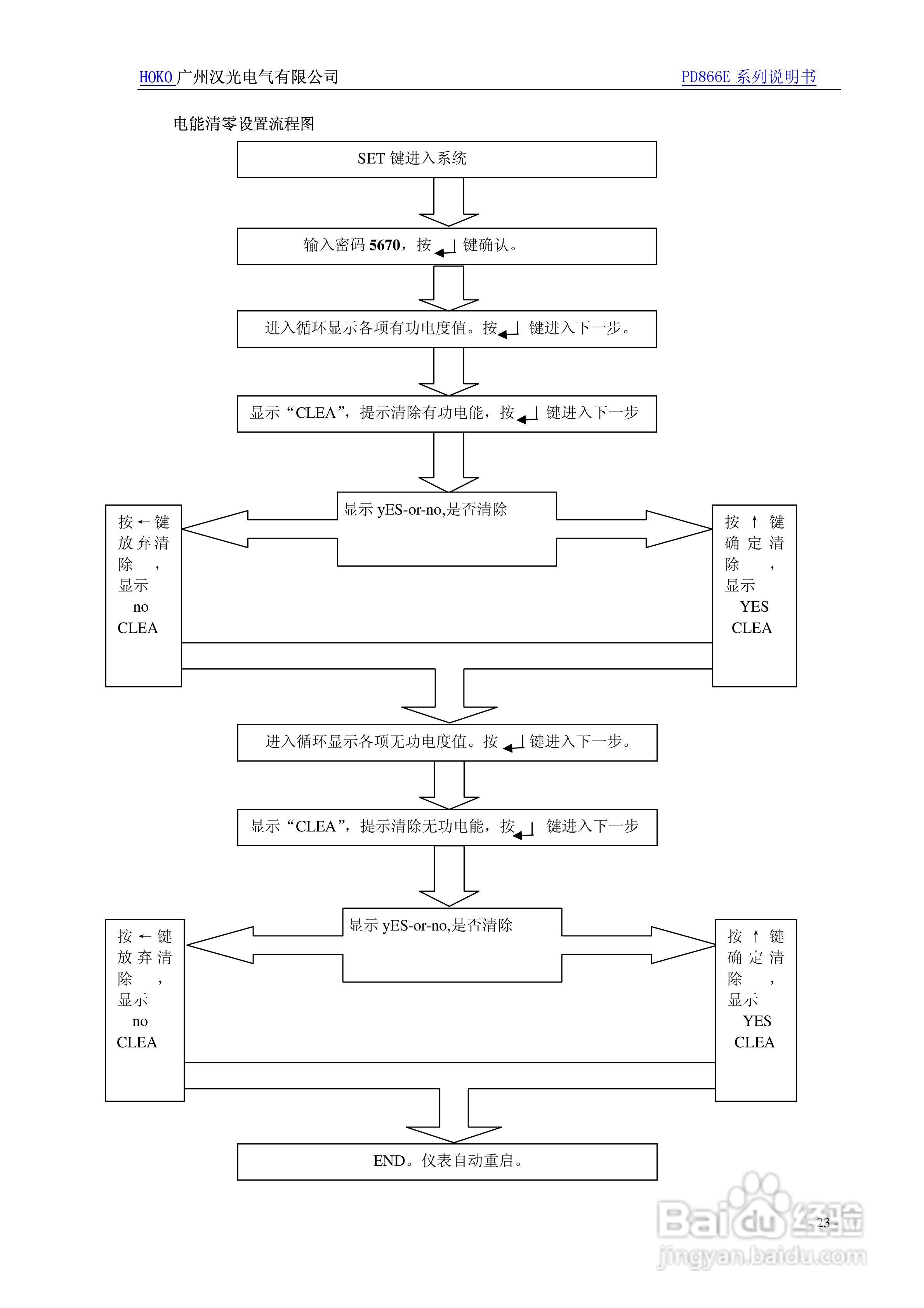
PD866E(HKE)系列多功能电力仪表使用说明书:[3]
2026-05-02 00:35:01
本篇为《PD866E(HKE)系列多功能电力仪表使用说明书》,主要介绍该产品的使用方法以及常见故障解决方案。
(共篇)
上一篇:
|
下一篇:
声明:
本网站引用、摘录或转载内容仅供网站访问者交流或参考,不代表本站立场,如存在版权或非法内容,请联系站长删除,联系邮箱:site.kefu@qq.com。
相关推荐
孕妇感冒了吃什么好的比较快呢?
阅读量:154
户外炉具怎么保养及维护
阅读量:39
怎样学修理车床(5)
阅读量:182
长江甲鱼怎么钓
阅读量:191
软水能喝吗?
阅读量:124
猜你喜欢
造影是什么
敢死队4什么时候上映
祈使句是什么
ca什么意思
运动手环有什么用
降雨量毫米是什么概念
独立法人是什么意思
经常头晕是什么原因
从容不迫是什么意思
obm是什么意思
猜你喜欢
奚落的近义词是什么
鲁迅是什么家
主语谓语宾语是什么
感冒喝什么汤
什么是固态硬盘
pron是什么词性
骨刺是什么
养小鬼是什么意思
失眠是什么
中央委员什么级别