小度生活
首页
美食营养
手工爱好
生活家居
返回
小度生活
首页
美食营养
游戏数码
手工爱好
生活家居
健康养生
运动户外
职场理财
情感交际
母婴教育
时尚美容
知识问答
生活知识
搜索
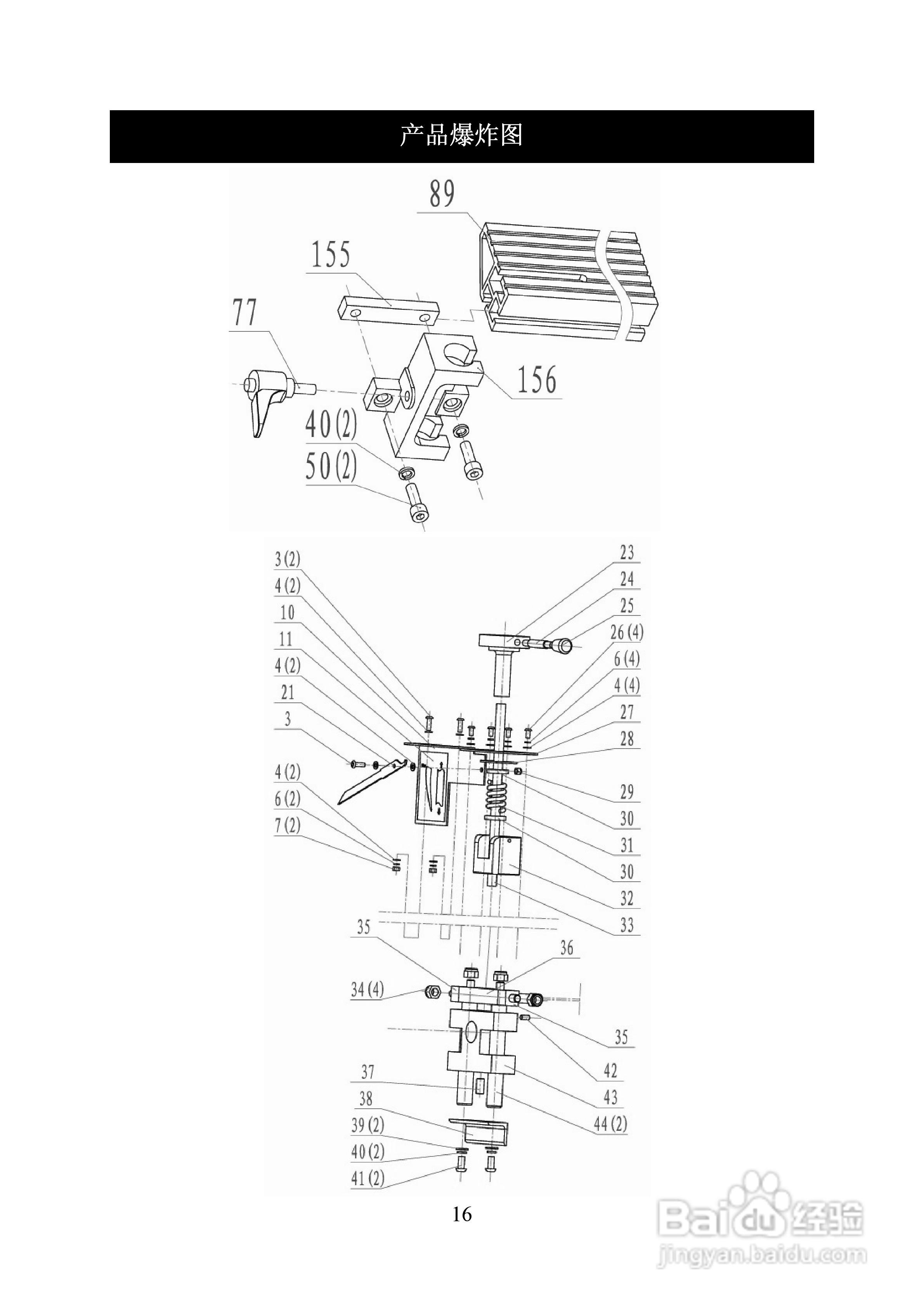
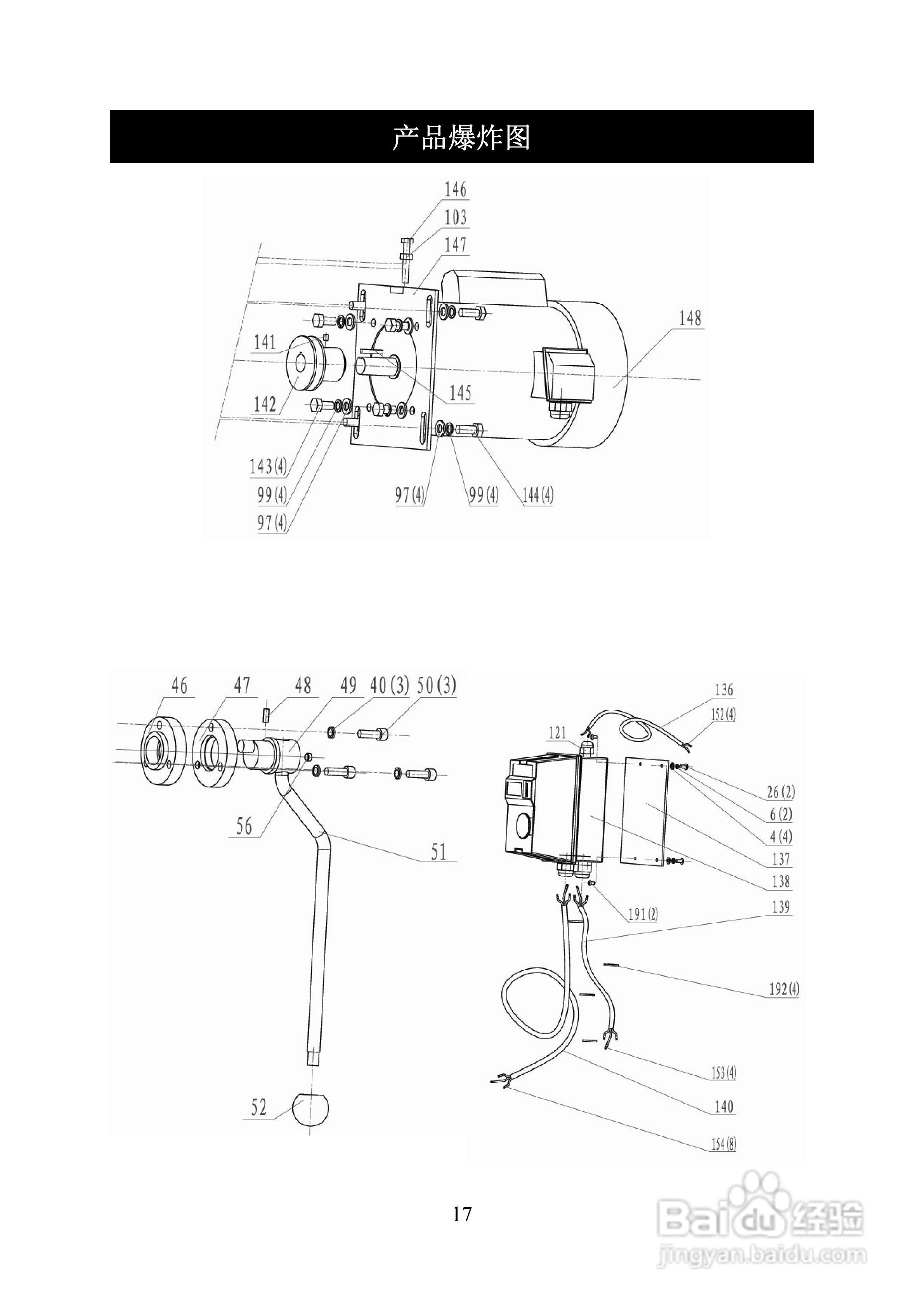
海威细木工带锯机HW614操作说明书:[2]
2025-10-25 08:47:39
本篇为《海威细木工带锯机HW614操作说明书》,主要介绍该产品的使用方法以及常见故障解决方案。
(共篇)
上一篇:
|
下一篇:
声明:
本网站引用、摘录或转载内容仅供网站访问者交流或参考,不代表本站立场,如存在版权或非法内容,请联系站长删除,联系邮箱:site.kefu@qq.com。
相关推荐
海威细木工带锯机HW614操作说明书:[1]
阅读量:35
海威细木工带锯机HW616操作说明书:[1]
阅读量:26
木工带锯机使用与保养
阅读量:99
木工带锯机、带锯跑车操作规程
阅读量:187
怎么选购细木工板材
阅读量:116
猜你喜欢
honey是什么
nest是什么意思
冲马煞南是什么意思
plc是什么意思
什么是黄褐斑
苹果5什么时候上市的
bf风是什么意思
sf是什么意思
什么是小说
哽咽是什么意思
猜你喜欢
bit是什么意思
白鞋子发黄有什么办法变白
乐此不疲是什么意思
电脑截图按什么键
中专是什么文化程度
honey是什么
僚机是什么意思
痘痘反复长是什么原因
977是什么意思
平治道涂是什么意思