亚克力灯带做法
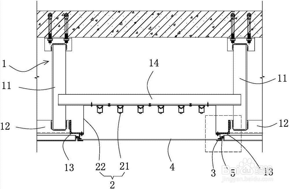
1、你这做法就不太对,钛金板很薄,一压就变形了,像这种造型的正确做法是里面有木工板做底板的。

2、灯槽也是木工板做的,要要钛金边的 话,是用木工板留钛金条扣进去的,如果还要弄亚克力的话。

3、除了留钛金板的扣槽,还需要留一两公分的木板在灯槽里,用来贴亚克力,这样你外面贴亚克力只要不是太宽像你下面这个图这样的 不拿工具徒手很难压进去的。

4、最后亚克力和钛金边在封上玻璃胶,涂抹均匀一点,玻璃胶缝弄整齐点。

5、(可以用透明胶之类的贴两边然后在中间涂玻璃胶,弄好一扯就整齐了),这就好看稳固了。

声明:本网站引用、摘录或转载内容仅供网站访问者交流或参考,不代表本站立场,如存在版权或非法内容,请联系站长删除,联系邮箱:site.kefu@qq.com。
阅读量:121
阅读量:138
阅读量:104
阅读量:189
阅读量:52