小度生活
首页
美食营养
手工爱好
生活家居
返回
小度生活
首页
美食营养
游戏数码
手工爱好
生活家居
健康养生
运动户外
职场理财
情感交际
母婴教育
时尚美容
知识问答
生活知识
生活百科
搜索
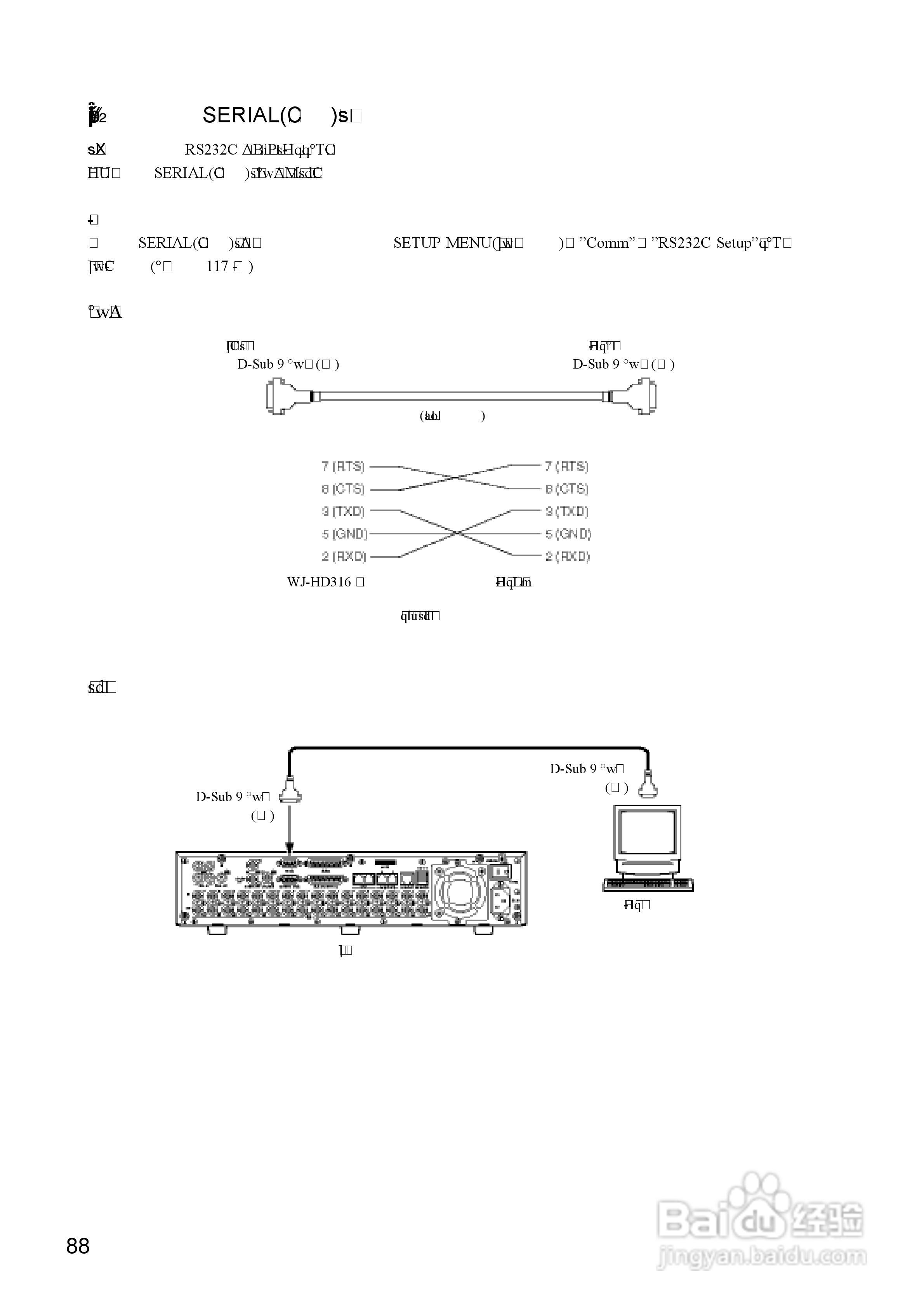
Panasonic 数位光碟记录器WJ-HD316操作手册:[9]
2026-03-29 15:23:35
本篇为《Panasonic 数位光碟记录器WJ-HD316操作手册》,主要介绍该产品的使用方法以及常见故障解决方案。
(共篇)
上一篇:
|
下一篇:
声明:
本网站引用、摘录或转载内容仅供网站访问者交流或参考,不代表本站立场,如存在版权或非法内容,请联系站长删除,联系邮箱:site.kefu@qq.com。
相关推荐
Panasonic 数位光碟记录器WJ-HD316操作手册:[11]
阅读量:64
Panasonic 数位光碟记录器WJ-HD309操作手册:[8]
阅读量:91
数位板绘画教程
阅读量:169
数位板怎么用
阅读量:94
数位笔与数位屏光标不准的解决方法
阅读量:170
猜你喜欢
契税什么时候交
肌酐偏低是什么原因
献血有什么好处
乳糖是什么
判三缓四是什么意思
750是什么金
脱机使用打印机是什么意思
led是什么意思
光纤是什么
1月11日是什么星座
猜你喜欢
云计算是什么意思
什么是闰年
流鼻血是什么原因
保税区是什么意思
5月24日是什么星座
valentine s day是什么意思
三个土念什么
结婚14年是什么婚
武则天属什么生肖
6月17日是什么星座