小度生活
首页
美食营养
手工爱好
生活家居
返回
小度生活
首页
美食营养
游戏数码
手工爱好
生活家居
健康养生
运动户外
职场理财
情感交际
母婴教育
时尚美容
知识问答
生活知识
搜索
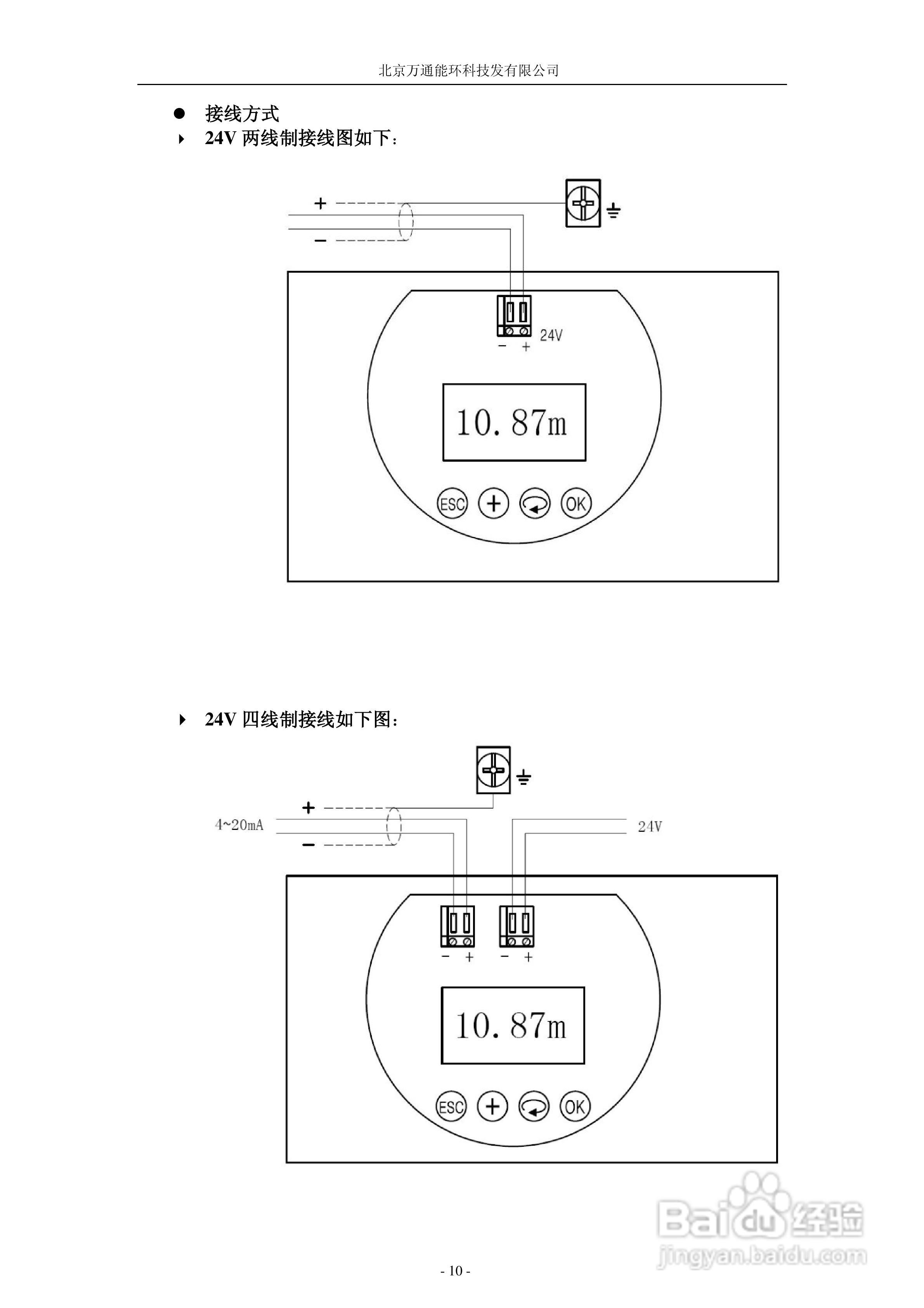
VT81-5高频雷达物位计说明书:[2]
2025-10-22 04:50:47
本篇为《VT81-5高频雷达物位计说明书》,主要介绍该产品的使用方法以及常见故障解决方案。
(共篇)
上一篇:
|
下一篇:
声明:
本网站引用、摘录或转载内容仅供网站访问者交流或参考,不代表本站立场,如存在版权或非法内容,请联系站长删除,联系邮箱:site.kefu@qq.com。
相关推荐
VT81-5高频雷达物位计说明书:[3]
阅读量:101
宏美UEQ5系列智能型双电源自动转换开关说明书:[1]
阅读量:110
声宝DR-S0837/1637型数位监控录放影机说明书:[2]
阅读量:163
光明大陆伙伴系统介绍—娜昂
阅读量:191
我要翘课2第25-26关怎么过关
阅读量:117
猜你喜欢
室内盆栽花卉大全
癫痫病是怎么回事
房贷怎么还最划算
奔驰c级怎么样
怎么下载ps软件
蛋炒饭怎么做才好吃
null文件怎么打开
花木兰简介
廊坊富士康怎么样
衣服上的墨水怎么洗
猜你喜欢
古装美女图片大全
海底两万里简介
小金刚菩提子怎么盘
坐月子食谱大全
道路标线大全及图解
lol怎么加好友
电子手抄报怎么做
贺卡制作方法大全简单
名句大全
自制鱼饵配方大全