小度生活
首页
美食营养
手工爱好
生活家居
返回
小度生活
首页
美食营养
游戏数码
手工爱好
生活家居
健康养生
运动户外
职场理财
情感交际
母婴教育
时尚美容
搜索
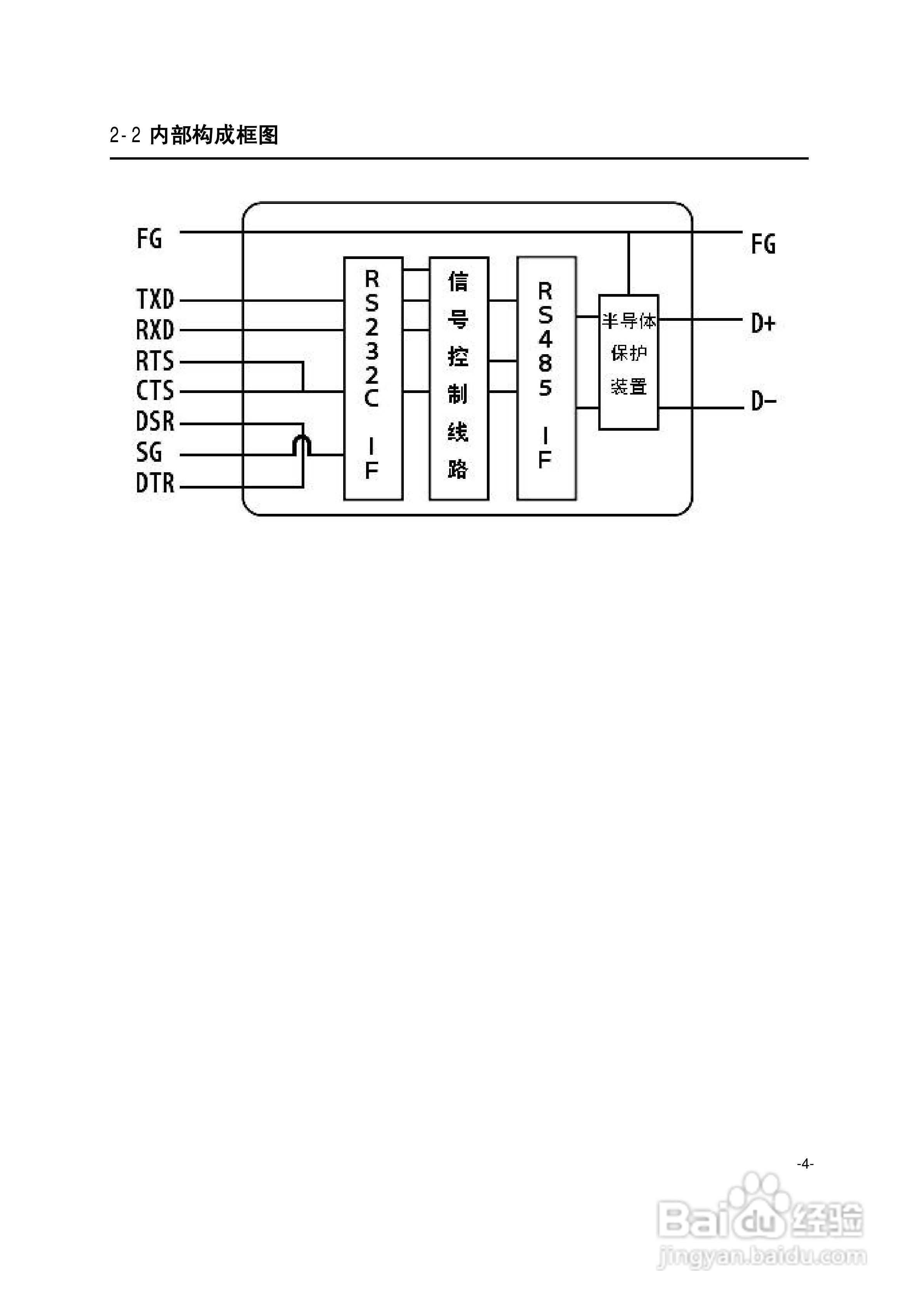
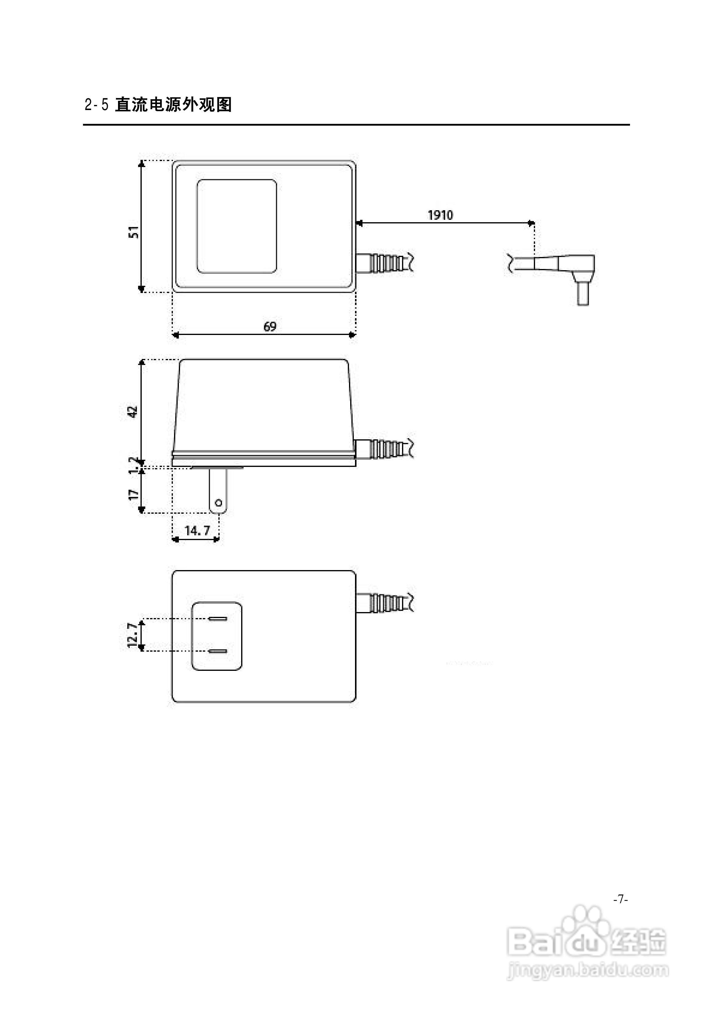
菱科CD485 RS232C/RS485转换器用户手册:[1]
2025-11-03 09:57:35
本篇为《菱科CD485 RS232C/RS485转换器用户手册》,主要介绍该产品的使用方法以及常见故障解决方案。
(共篇)
下一篇:
声明:
本网站引用、摘录或转载内容仅供网站访问者交流或参考,不代表本站立场,如存在版权或非法内容,请联系站长删除,联系邮箱:site.kefu@qq.com。
相关推荐
菱科CD485 RS232C/RS485转换器用户手册:[3]
阅读量:70
ODR-C31 以太网至RS232/422/485 转换器用户手册:[1]
阅读量:94
CANopen-RS485网关设备用户手册1
阅读量:127
如何进行RS485通信
阅读量:20
33.STM32的RS485通信实验
阅读量:87
猜你喜欢
html是什么
梦见牛是什么意思
住房公积金有什么用
舌头发白什么原因
专升本是什么意思
走婚是什么意思
羊和什么生肖最配
毒龙是什么
前端开发需要学什么
什么是整式
猜你喜欢
emmmm什么意思
四叶草项链是什么牌子
物语是什么意思
宫颈筛查是检查什么
1948年属什么生肖
around是什么意思
神兽是什么意思
笼罩的反义词是什么
computer是什么意思
pmp是什么