小度生活
首页
美食营养
手工爱好
生活家居
返回
小度生活
首页
美食营养
游戏数码
手工爱好
生活家居
健康养生
运动户外
职场理财
情感交际
母婴教育
时尚美容
知识问答
生活知识
搜索
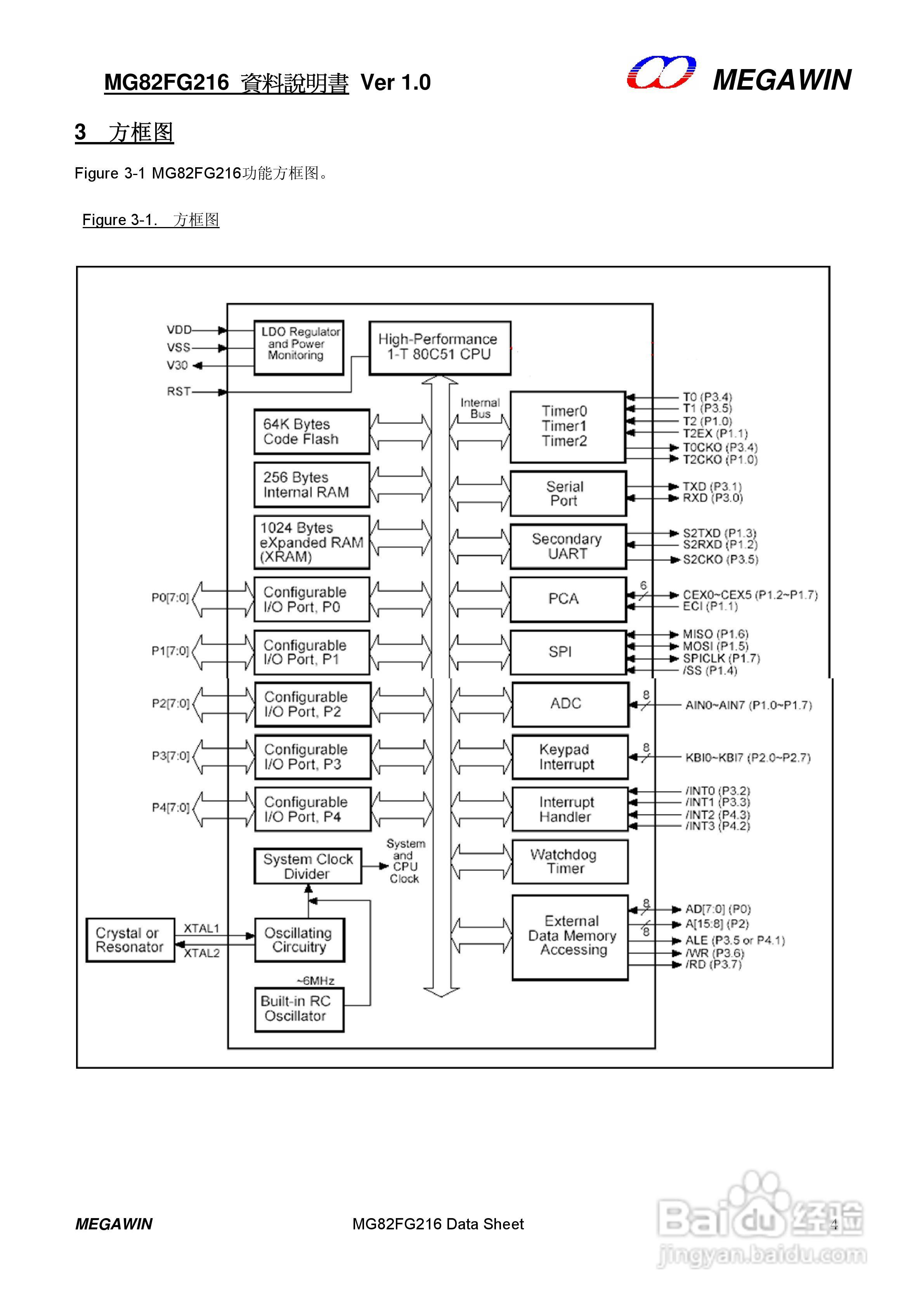
MEGAWIN MG82FG216 8 位微处理器用户手册:[1]
2026-02-20 01:20:06
本篇为《MEGAWIN MG82FG216 8 位微处理器用户手册》,主要介绍该产品的使用方法以及常见故障解决方案。
(共篇)
下一篇:
声明:
本网站引用、摘录或转载内容仅供网站访问者交流或参考,不代表本站立场,如存在版权或非法内容,请联系站长删除,联系邮箱:site.kefu@qq.com。
相关推荐
MEGAWIN MG82FG216 8 位微处理器用户手册:[8]
阅读量:177
MEGAWIN MG82FG216 8 位微处理器用户手册:[7]
阅读量:124
8.0地狱火堡垒老一怎么单刷
阅读量:143
8700k超频教程
阅读量:136
8g内存虚拟内存怎么设置最好
阅读量:42
猜你喜欢
开盘是什么意思
鸡冠花什么时候开
什么app能赚钱
移徒是什么意思
角阀什么牌子好
词牌名是什么意思
桎梏是什么意思
肝内钙化灶是什么意思
六字真言是什么意思
异曲同工的意思
猜你喜欢
行云流水的意思
本命年是什么意思
圆脸适合什么样的发型
pdf是什么意思
教学相长的意思
fresh是什么意思
学什么专业好找工作
嚣张的意思
rpg是什么意思
dsr是什么意思