小度生活
首页
美食营养
手工爱好
生活家居
返回
小度生活
首页
美食营养
游戏数码
手工爱好
生活家居
健康养生
运动户外
职场理财
情感交际
母婴教育
时尚美容
知识问答
生活知识
搜索
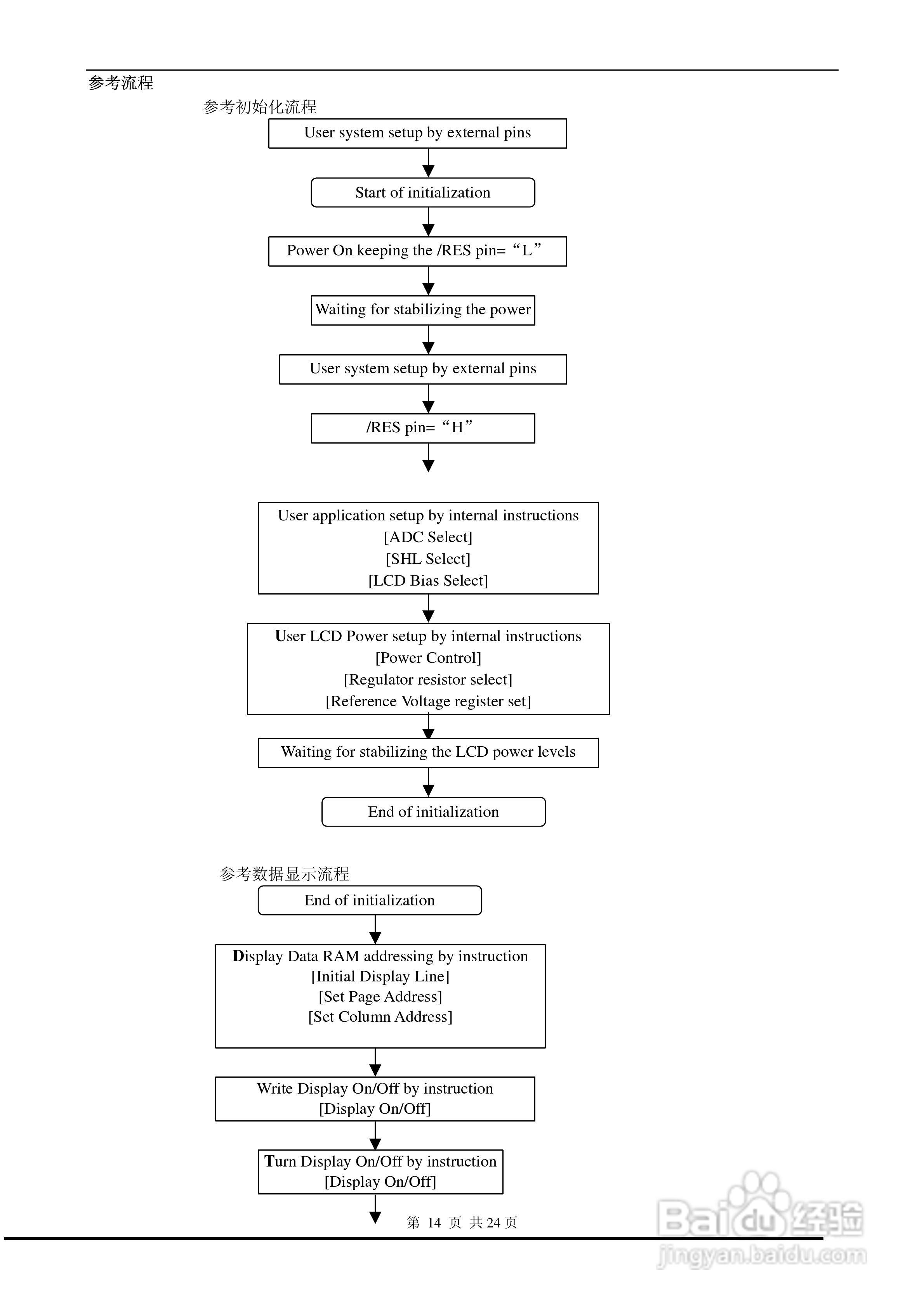
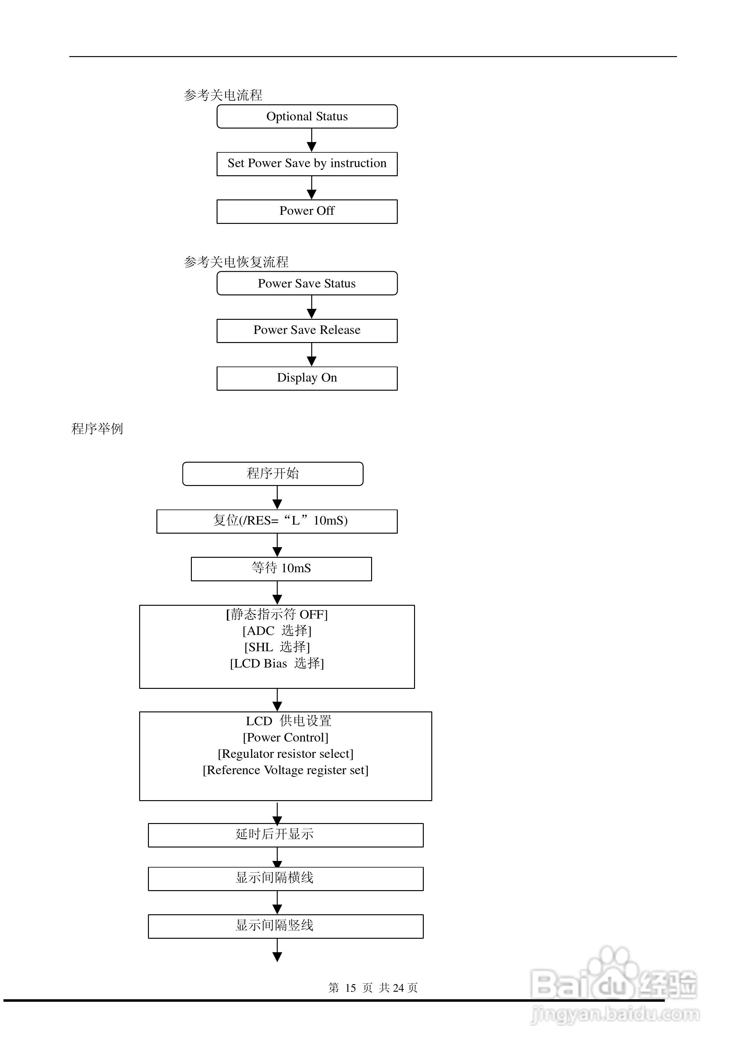
液晶显示模块EDM12864-GR说明书:[2]
2025-12-11 06:25:04
本篇为《液晶显示模块EDM12864-GR说明书》,主要介绍该产品的使用方法以及常见故障解决方案。
(共篇)
上一篇:
声明:
本网站引用、摘录或转载内容仅供网站访问者交流或参考,不代表本站立场,如存在版权或非法内容,请联系站长删除,联系邮箱:site.kefu@qq.com。
相关推荐
EDM12864-02图形点阵式液晶显示模块使用说明书:[1]
阅读量:143
EDM12864K图形点阵式液晶显示模块使用说明书:[1]
阅读量:48
东福EDM12864-18模块使用手册:[2]
阅读量:153
东福EDM12864-12模块使用手册:[2]
阅读量:156
东福EDM12864-18模块使用手册:[3]
阅读量:45
猜你喜欢
干将莫邪的热恋生活
如何赚q币
面瘫是什么原因引起的
生活助手
如何升级浏览器
如何制作南瓜灯
对生活的感悟作文
高考志愿如何填报
如何治疗胃病
ps如何安装字体
猜你喜欢
生活中的哲学
红红的美人脸淡淡柳眉愁是什么歌曲
健康生活方式
偏头痛是什么原因引起的
如何腌制酸菜
win10如何分区
如何培养学习兴趣
婚前财产如何界定
如何预防颈椎病
店铺推广是如何扣费的