小度生活
首页
美食营养
手工爱好
生活家居
返回
小度生活
首页
美食营养
游戏数码
手工爱好
生活家居
健康养生
运动户外
职场理财
情感交际
母婴教育
时尚美容
知识问答
搜索
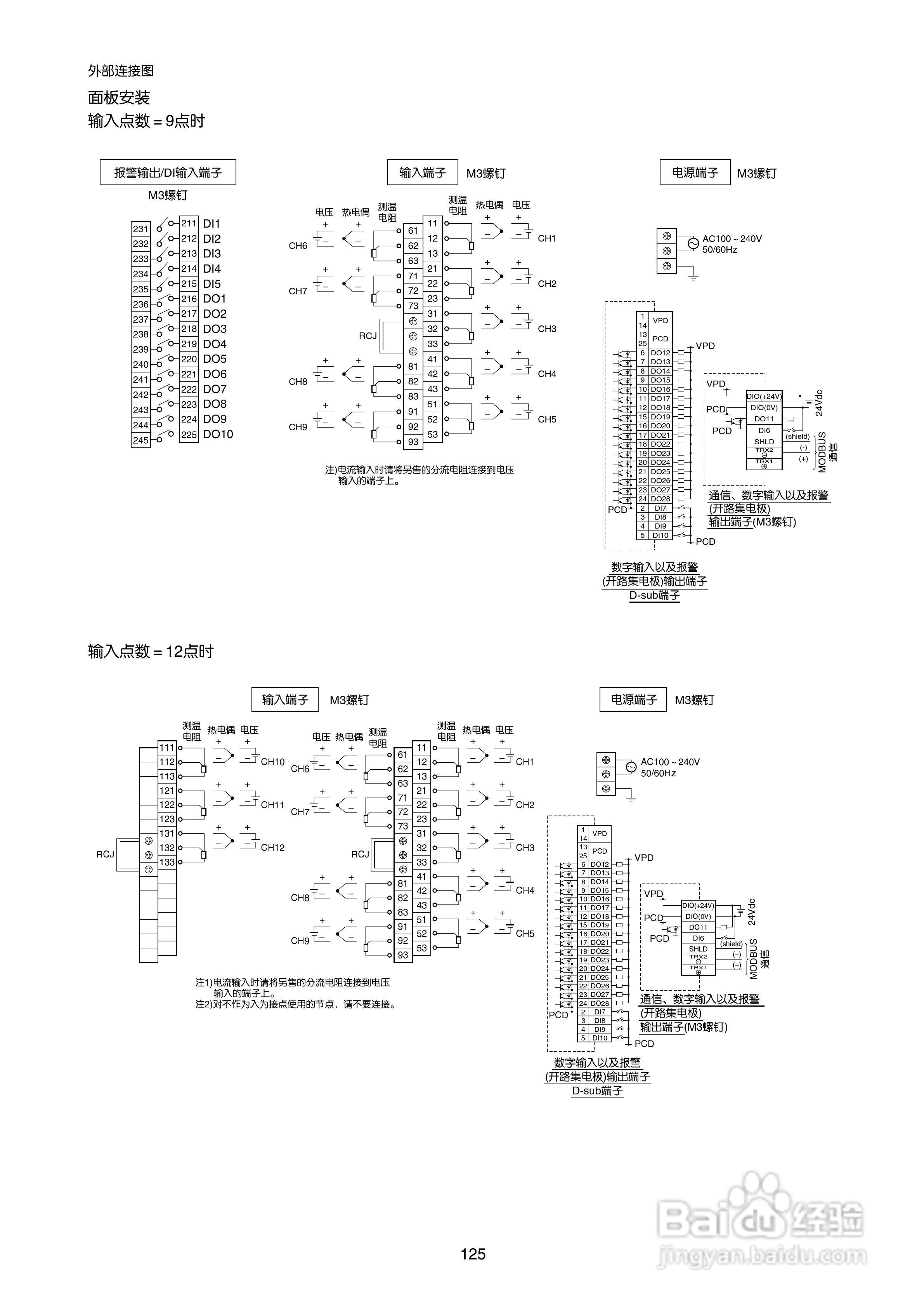
富士电机TN1PHN-C无纸记录仪使用说明书:[14]
2025-10-19 01:42:47
本篇为《富士电机TN1PHN-C无纸记录仪使用说明书》,主要介绍该产品的使用方法以及常见故障解决方案。
(共篇)
上一篇:
声明:
本网站引用、摘录或转载内容仅供网站访问者交流或参考,不代表本站立场,如存在版权或非法内容,请联系站长删除,联系邮箱:site.kefu@qq.com。
相关推荐
富士电机TN1PHN-C无纸记录仪使用说明书:[11]
阅读量:130
富士PHN无纸记录仪使用说明书:[14]
阅读量:144
富士PHN无纸记录仪使用说明书:[8]
阅读量:141
富士PHN无纸记录仪使用说明书:[5]
阅读量:181
富士PHN无纸记录仪使用说明书:[10]
阅读量:139
猜你喜欢
news是什么意思
往事如烟的意思
wheel是什么意思
南锣鼓巷有什么好玩的
潜血是什么意思
pm10是什么意思
脚垫什么牌子好
messy是什么意思
dollar是什么意思
温故而知新是什么意思
猜你喜欢
怨天尤人是什么意思
电热壶什么牌子好
大快人心的意思
卫衣什么意思
婚宴用什么酒
tune是什么意思
15万预算买什么车
教师节送什么鲜花好
软环境是什么意思
滑雪服什么牌子好