如何正确使用决策引擎?
1、购买决策引擎
2、创建事件
事件可以用于定义需要设定复杂决策的业务场景,当调用引擎时,传入相应的事件编码,决策引擎会将不同事件的数据请求路由到相应的策泪脾略集合中进行相应运伟蚊施算。

3、事件名称建议使用易理解的业务场景名称,设置成功后不支持修改。

4、接入决策引擎
决策引信哄擎的接入方式与风险识别的API接入方式一致,以如下截图所示的事件信息为例:

5、请求示例如下所示:

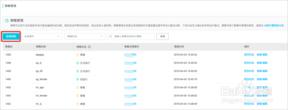
1、点击新建策略按钮,进入策略创建页。

2、策略基础信息输入

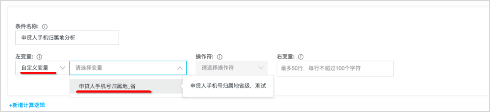
3、策略计算逻辑
输入条件名称,此项为非必填项,为方便可视化预览时直观展示策略逻辑,建议输入易于理解的内容。

4、计算逻辑与预览
计算逻辑编排采用条件序号与符号进行编排。输入编排的内容后,点击“可视化逻辑”即可预览。

5、策略输出与状态
策略输出标签指,在前面的步骤中设定的策略条件逻辑满足的情况下,决策引擎系统返回的内容。

6、策略运行状态定义:草稿状态为保存但不执行计算的状态;试运行为保存且执行计算但不执行输出标签;正式运行为保存且执行计算和执行输出标签。为减少配置操作风险,建议先将策略置为试运行状态,观察运行后再切换为正式运行。

1、在前面步骤都已完成时,向决策引擎发起相应的请求,会收到系统返回如下内容获取返回参数中的tags即获取了该事件下命中策略的标签值。

1、变量中心选中某个希望引用的变量,点击“关联变量”。选择需要再哪个事件中使用,并输入变量名称和描述,方便后续使用时快速了解背景。

2、选中事件后,系统会自动加载事件字段到每个变量字段下,以便一一关联。

3、根据系统提示,将该变量的字段与事件字段做一一对应,提交成功后,该变量就自定义成功了,可在策略管理-策略计算逻辑-变量-自定义变量中选用。

1、运行大盘

2、日志服务
进入控制台,其中project名称为“saf-project”开头的project为风险识别产品自动为您创建并投递相关日志的project。您可以进入该project进行相关数据查询等日志数据使用。

3、操作日志
在监控中心右上角点击“操作日志”即可进入决策引擎的操作日志查看页面。
希望有所帮助。
