小度生活
首页
美食营养
手工爱好
生活家居
返回
小度生活
首页
美食营养
游戏数码
手工爱好
生活家居
健康养生
运动户外
职场理财
情感交际
母婴教育
时尚美容
知识问答
生活知识
搜索
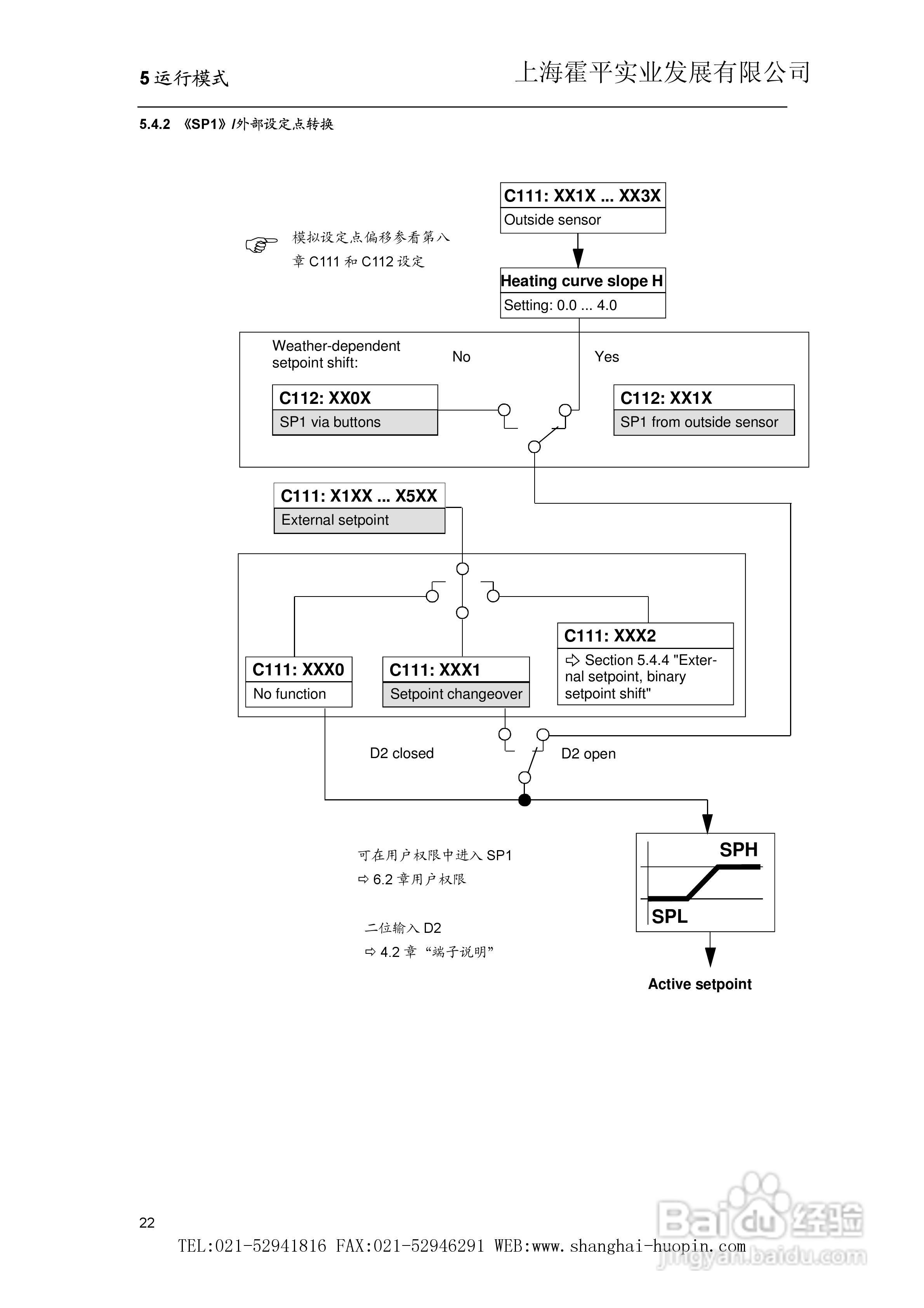
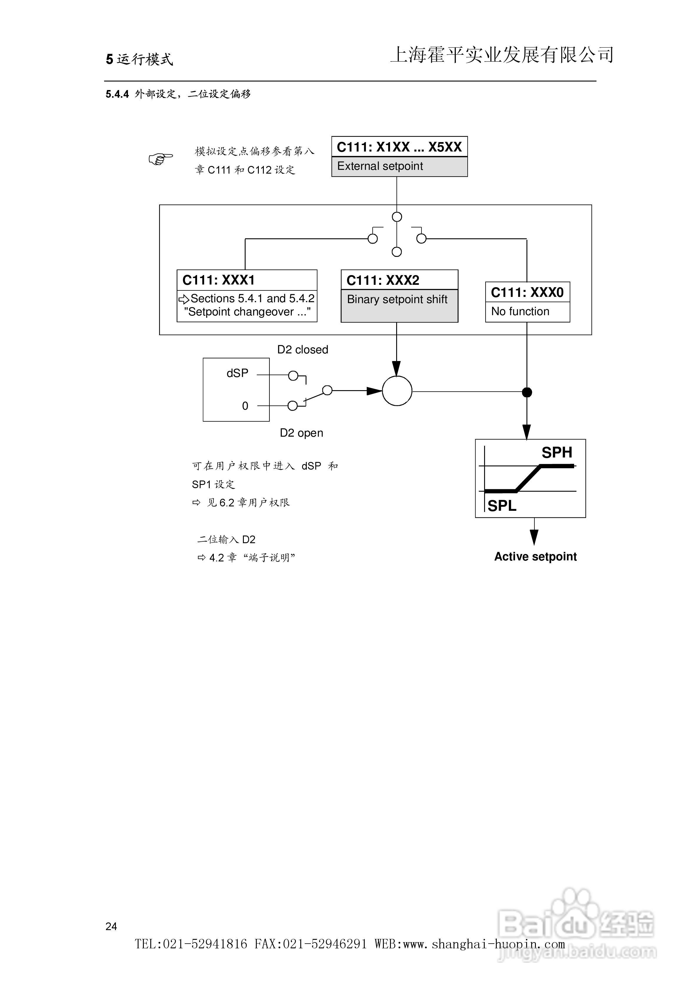
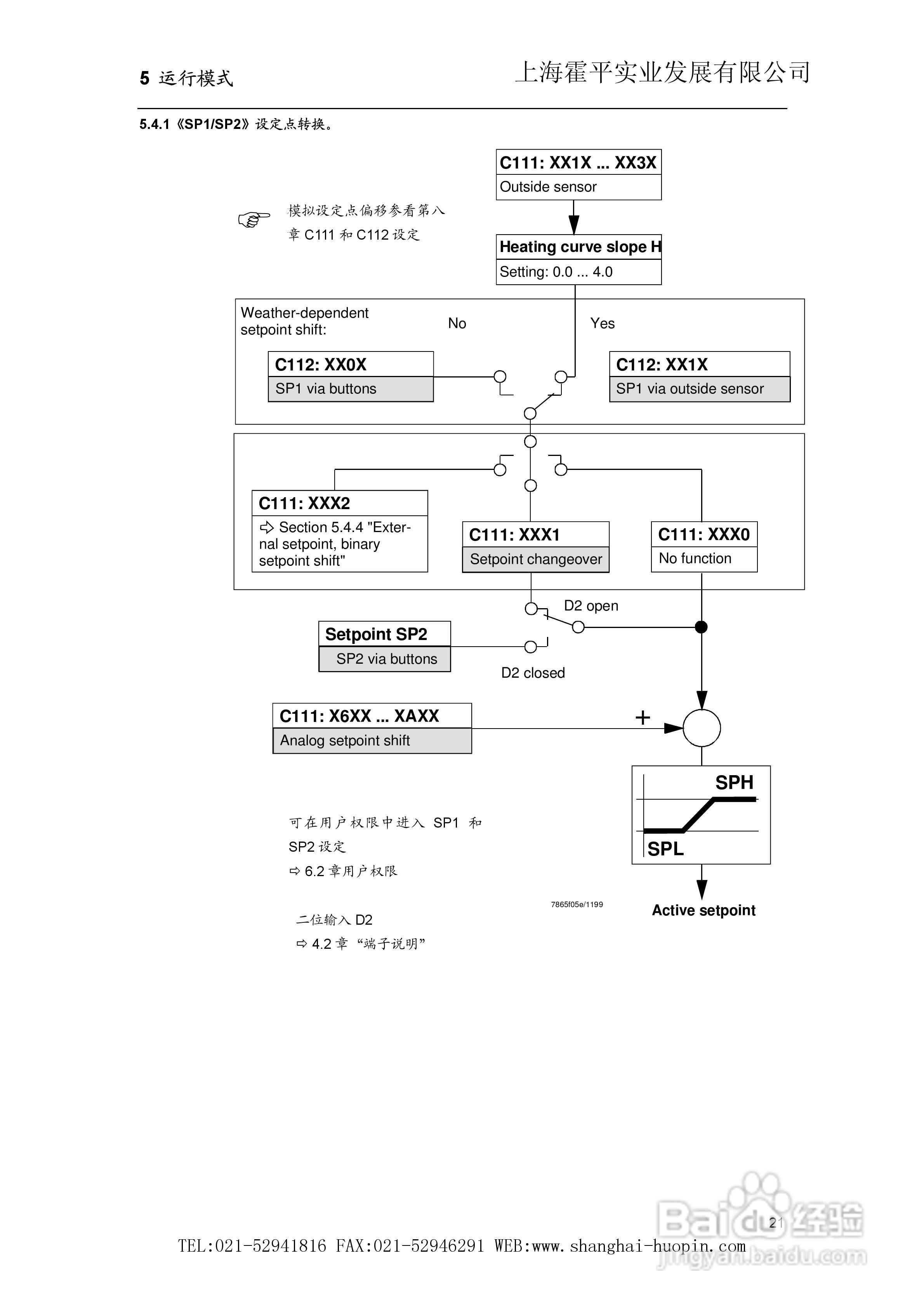
SIEMENS RWF40比调仪使用说明书:[3]
2025-10-24 23:12:29
本篇为《SIEMENS RWF40比调仪使用说明书》,主要介绍该产品的使用方法以及常见故障解决方案。
(共篇)
上一篇:
|
下一篇:
声明:
本网站引用、摘录或转载内容仅供网站访问者交流或参考,不代表本站立场,如存在版权或非法内容,请联系站长删除,联系邮箱:site.kefu@qq.com。
相关推荐
SIEMENS RWF40比调仪使用说明书:[4]
阅读量:79
SIEMENS RWF40比调仪使用说明书:[1]
阅读量:79
BenQ-Siemens A53手机使用说明书:[3]
阅读量:139
SIEMENS RWF40比调仪使用说明书:[2]
阅读量:162
SIEMENS RWF40比调仪使用说明书:[5]
阅读量:113
猜你喜欢
3月17日是什么星座
ping是什么意思
武汉什么时候封城
双是什么意思
什么是记叙文
喝咖啡有什么好处
什么时候容易怀孕
fresh是什么意思
备胎是什么意思
手机发烫是什么原因
猜你喜欢
尖利的近义词是什么
兔子的尾巴有什么作用
yy什么意思
里番是什么意思
pms是什么意思
95518是什么电话
mobile是什么意思
好逸恶劳是什么意思
橙色配什么颜色好看
冰糖是什么做的