小度生活
首页
美食营养
手工爱好
生活家居
返回
小度生活
首页
美食营养
游戏数码
手工爱好
生活家居
健康养生
运动户外
职场理财
情感交际
母婴教育
时尚美容
知识问答
生活知识
搜索
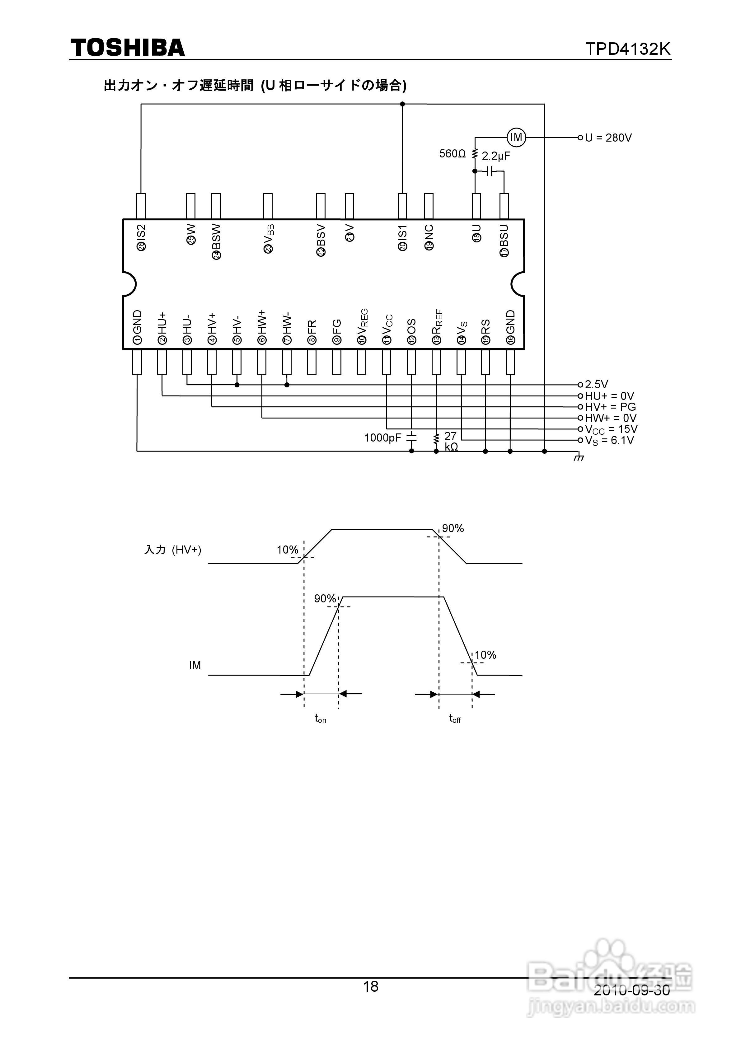
东芝TPD4132K直流无刷电机驱动器说明书:[2]
2026-02-01 10:59:08
本篇为《东芝TPD4132K直流无刷电机驱动器说明书》,主要介绍该产品的使用方法以及常见故障解决方案。
(共篇)
上一篇:
声明:
本网站引用、摘录或转载内容仅供网站访问者交流或参考,不代表本站立场,如存在版权或非法内容,请联系站长删除,联系邮箱:site.kefu@qq.com。
相关推荐
东芝笔记本怎么进入bios设置
阅读量:146
铭朗科技MLDS3605直流伺服驱动器说明书:[2]
阅读量:163
CSBL900直流无刷驱动器使用说明书:[1]
阅读量:151
CSBL900直流无刷驱动器使用说明书:[2]
阅读量:58
铭朗科技MLDS3610直流伺服驱动器说明书:[2]
阅读量:84
猜你喜欢
记者证有什么用
时间节点是什么意思
distance是什么意思
用什么播放器
空手套白狼的意思
直辖市有什么好处
滥情是什么意思
18k是什么意思
送产妇什么礼物好
mind是什么意思
猜你喜欢
维e涂脸有什么功效
脱缰的意思
睥睨是什么意思
阿胶粉什么时间吃好
period是什么意思
我做成了什么作文
奉陪到底什么意思
断袖是什么意思
前车之鉴是什么意思
happened是什么意思