小度生活
首页
美食营养
手工爱好
生活家居
返回
小度生活
首页
美食营养
游戏数码
手工爱好
生活家居
健康养生
运动户外
职场理财
情感交际
母婴教育
时尚美容
知识问答
生活知识
搜索
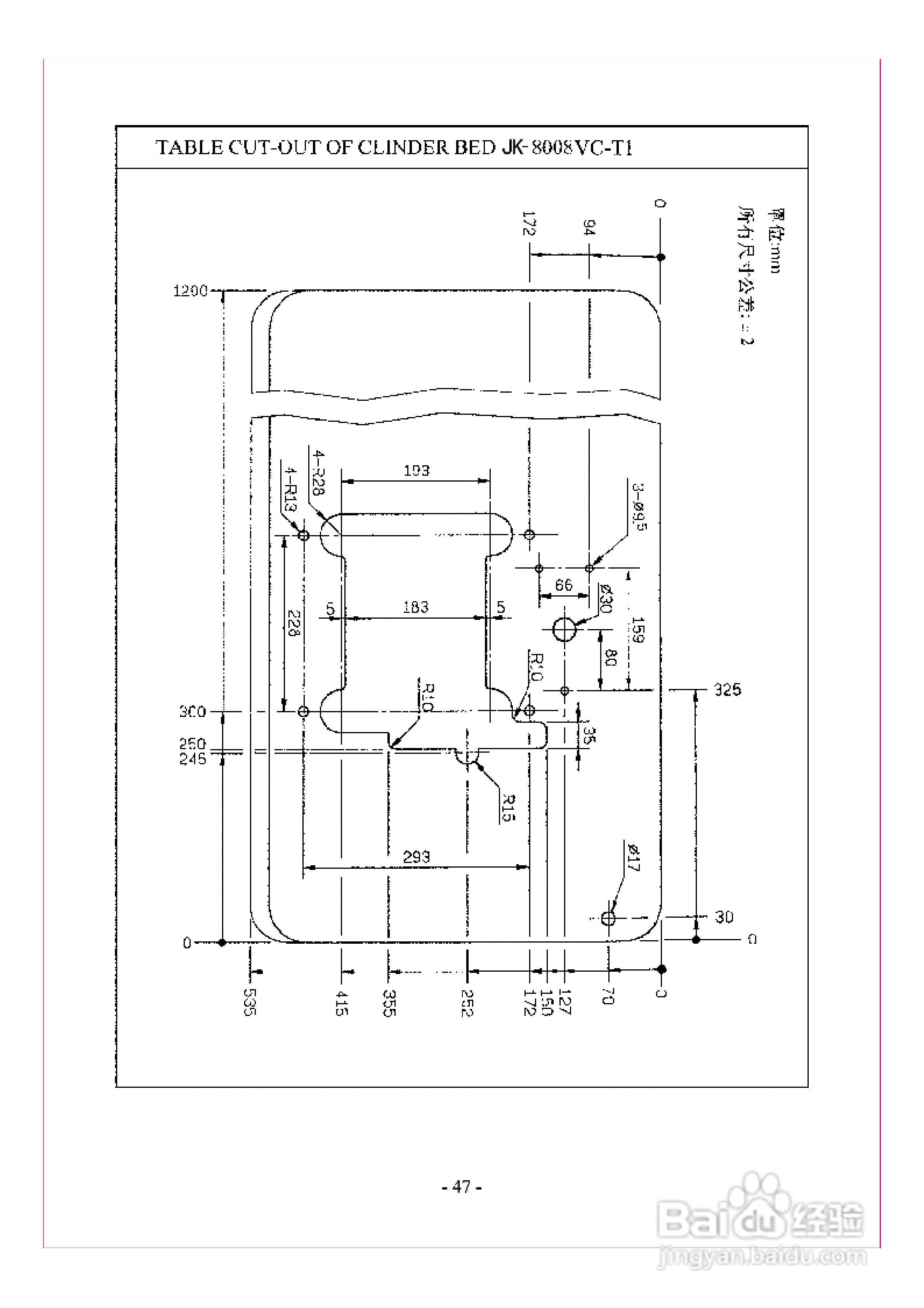
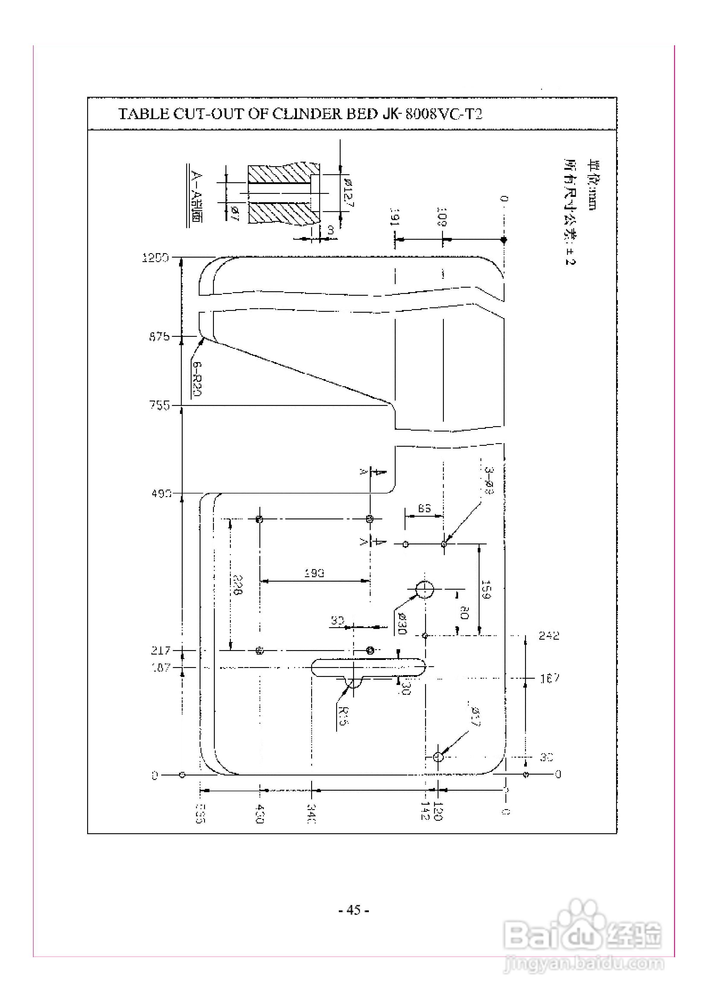
JK-8008VC型多针缝纫机使用说明:[5]
2026-02-06 07:35:59
本篇为《JK-8008VC型多针缝纫机使用说明》,主要介绍该产品的使用方法以及常见故障解决方案。
(共篇)
上一篇:
声明:
本网站引用、摘录或转载内容仅供网站访问者交流或参考,不代表本站立场,如存在版权或非法内容,请联系站长删除,联系邮箱:site.kefu@qq.com。
相关推荐
CorelDRAW中段落文字如何转曲?
阅读量:130
coreldraw调色板
阅读量:70
QLAV88手机使用手冊:[6]
阅读量:80
swissquote谈谈怎么巧妙的跟庄
阅读量:143
CorelDRAW中设置首字下沉行数的方法
阅读量:26
猜你喜欢
愿景是什么意思
屁多是什么原因
hm2是什么单位
子字五行属什么
ft是什么意思
etc是什么
纯牛奶什么时候喝最好
2月8号是什么星座
umbrella是什么意思
only是什么意思
猜你喜欢
1994年属什么生肖
way是什么意思
keep什么意思
卡其色是什么颜色
什么是服务
直男是什么意思
log是什么意思
秉承是什么意思
公关是什么意思
鼻子上长痘痘是什么原因