上海图书馆图书如何网上续借
1、在百度搜索引擎中搜索"上海图书馆",点击打开上海图书馆官方网站。

2、访问上海图书馆官方网站,聚焦到站点导航部分。


3、点击站点导航部分"书刊网上续借/预约"超链接,进入登录页面。输入用户名、密码和验证码之后,点击【登录】按钮,进入我的图书馆页面。

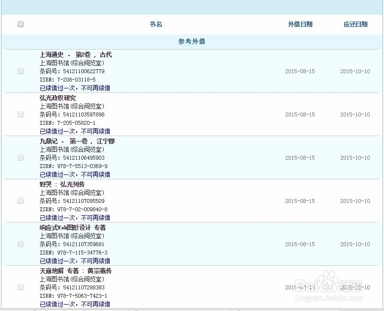
4、在我的图书馆页面中,点击左侧的"已借图书/续借"超链接。

5、进入到右侧的续借面板,点击【续借】按钮,实现续借功能。

6、续借成功,退出账号。

声明:本网站引用、摘录或转载内容仅供网站访问者交流或参考,不代表本站立场,如存在版权或非法内容,请联系站长删除,联系邮箱:site.kefu@qq.com。