小度生活
首页
美食营养
手工爱好
生活家居
返回
小度生活
首页
美食营养
游戏数码
手工爱好
生活家居
健康养生
运动户外
职场理财
情感交际
母婴教育
时尚美容
知识问答
生活知识
搜索
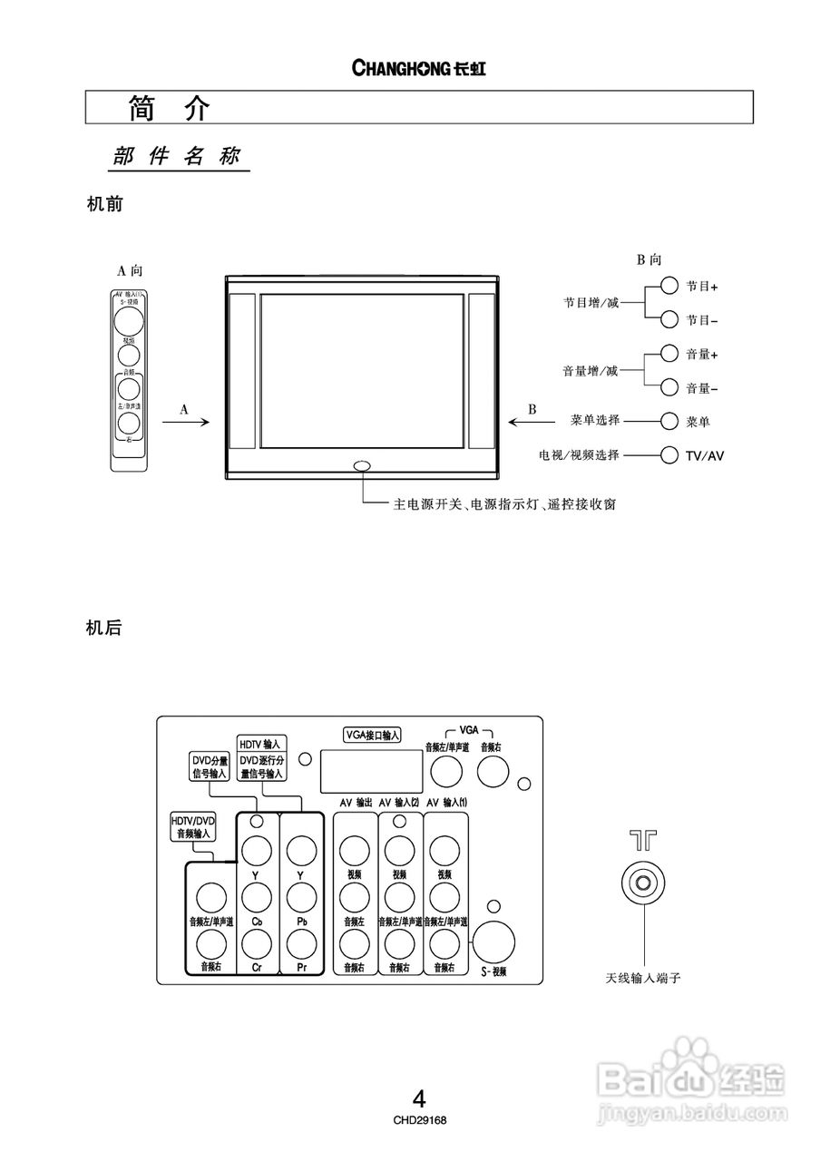
长虹彩色电视CHD29168型说明书:[1]
2025-10-21 02:22:23
/>
/>
(共篇)
下一篇:
声明:
本网站引用、摘录或转载内容仅供网站访问者交流或参考,不代表本站立场,如存在版权或非法内容,请联系站长删除,联系邮箱:site.kefu@qq.com。
相关推荐
长虹彩色电视CHD29155型说明书:[2]
阅读量:181
长虹彩色电视CHD25158型说明书:[2]
阅读量:149
长虹彩色电视CHD29168型说明书:[3]
阅读量:64
长虹彩色电视CHD29158型说明书:[3]
阅读量:53
长虹彩色电视CHD29168型说明书:[2]
阅读量:76
猜你喜欢
摘抄大全好词好句好段
这个符号怎么打
肉粽子的肉怎么腌制好吃
方法
咸鱼怎么做好吃
教育科学研究方法
感冒吃什么水果好得快
红烧黄鱼的家常做法
蜂蜜真假鉴定方法
润肠通便的方法
猜你喜欢
胃受凉了怎么办
室内装修效果图大全
人是怎么怀孕的
荨麻疹的有效治疗方法
治疗打嗝最有效的方法
白条鸡怎么炖好吃
通心粉怎么做好吃
多用电表的读数方法
芥菜丝的腌制方法大全
佛手瓜怎么炒好吃