小度生活
首页
美食营养
手工爱好
生活家居
返回
小度生活
首页
美食营养
游戏数码
手工爱好
生活家居
健康养生
运动户外
职场理财
情感交际
母婴教育
时尚美容
知识问答
生活知识
搜索
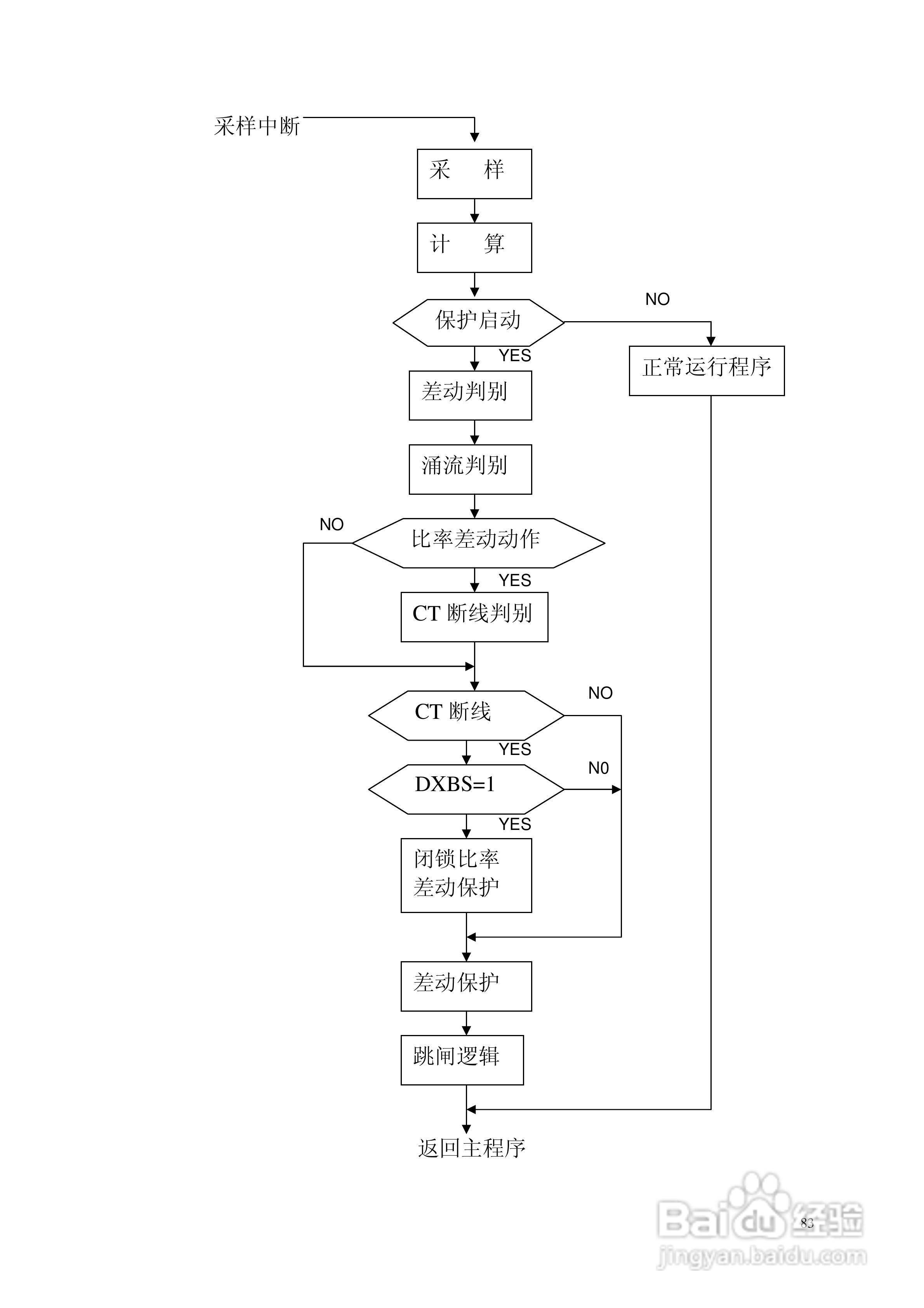
安瑞FSA-3152A备用电源自投装置技术说明书:[11]
2026-02-26 10:20:16
本篇为《安瑞FSA-3152A备用电源自投装置技术说明书》,主要介绍该产品的使用方法以及常见故障解决方案。
(共篇)
上一篇:
|
下一篇:
声明:
本网站引用、摘录或转载内容仅供网站访问者交流或参考,不代表本站立场,如存在版权或非法内容,请联系站长删除,联系邮箱:site.kefu@qq.com。
相关推荐
安瑞FSA-3152A备用电源自投装置技术说明书:[13]
阅读量:34
安瑞FSA-3152A备用电源自投装置技术说明书:[20]
阅读量:159
安瑞FSA-3152A备用电源自投装置技术说明书:[23]
阅读量:109
安瑞FSA-3152A备用电源自投装置技术说明书:[24]
阅读量:181
安瑞FSA-3152A备用电源自投装置技术说明书:[22]
阅读量:54
猜你喜欢
冬季搭配
普洱茶减肥
成都市区旅游攻略
桃花岛旅游攻略
健身能减肥吗
节食减肥的危害
qq怎么改头像
全球速卖通怎么开店
高尔夫车怎么样
华国锋简介
猜你喜欢
目录的省略号怎么打
离合器怎么踩
我的世界怎么造飞机
呼啦圈能减肥
簪子怎么用
减肥药排行榜前十名
蛋白质减肥法食谱
奇迹暖暖搭配竞技场
怎么赶走老鼠
红烧甲鱼