小度生活
首页
美食营养
手工爱好
生活家居
返回
小度生活
首页
美食营养
游戏数码
手工爱好
生活家居
健康养生
运动户外
职场理财
情感交际
母婴教育
时尚美容
知识问答
生活知识
搜索
FATEK FID-S1-015-21变频器使用说明书:[6]
2025-10-23 14:43:13
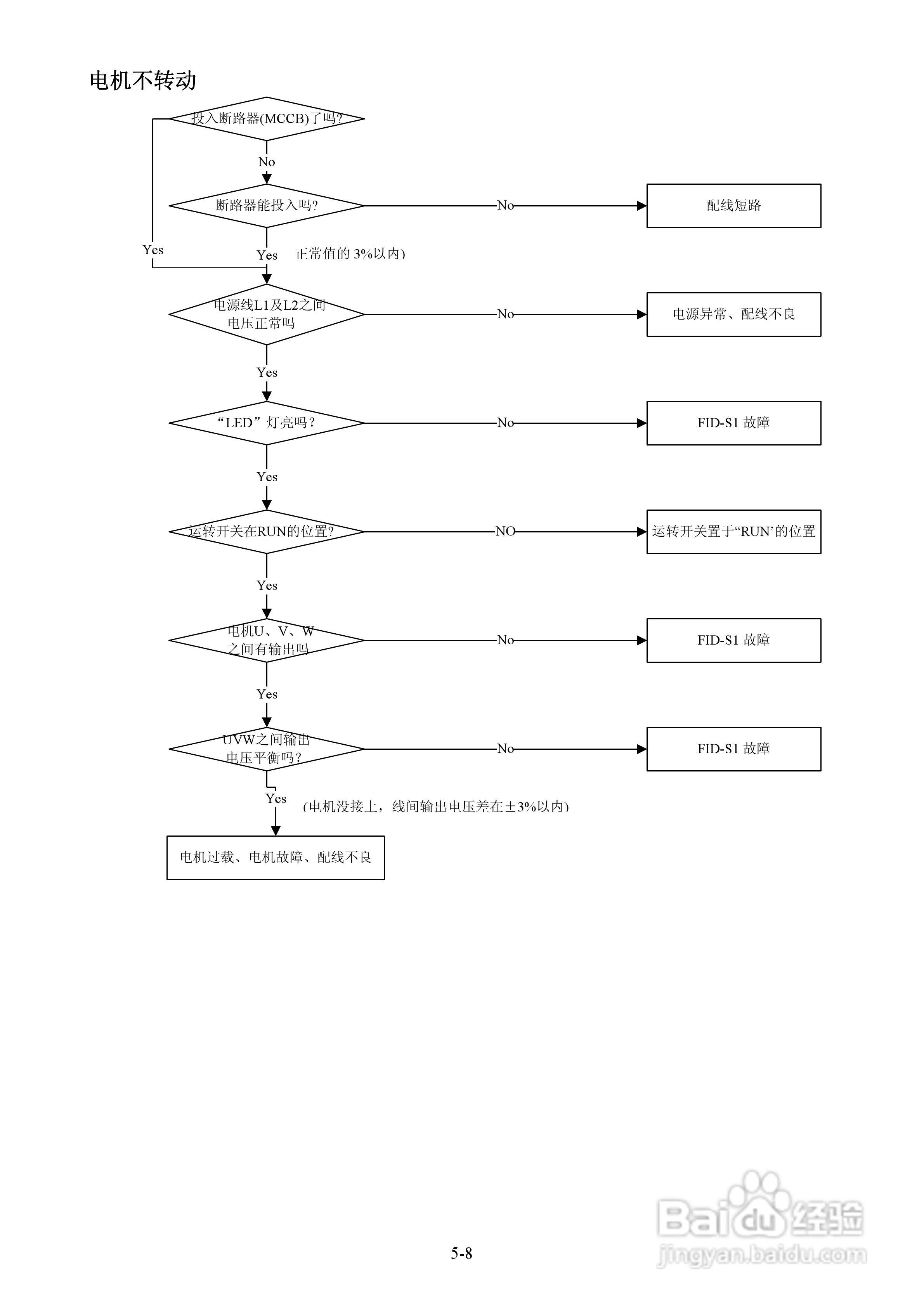
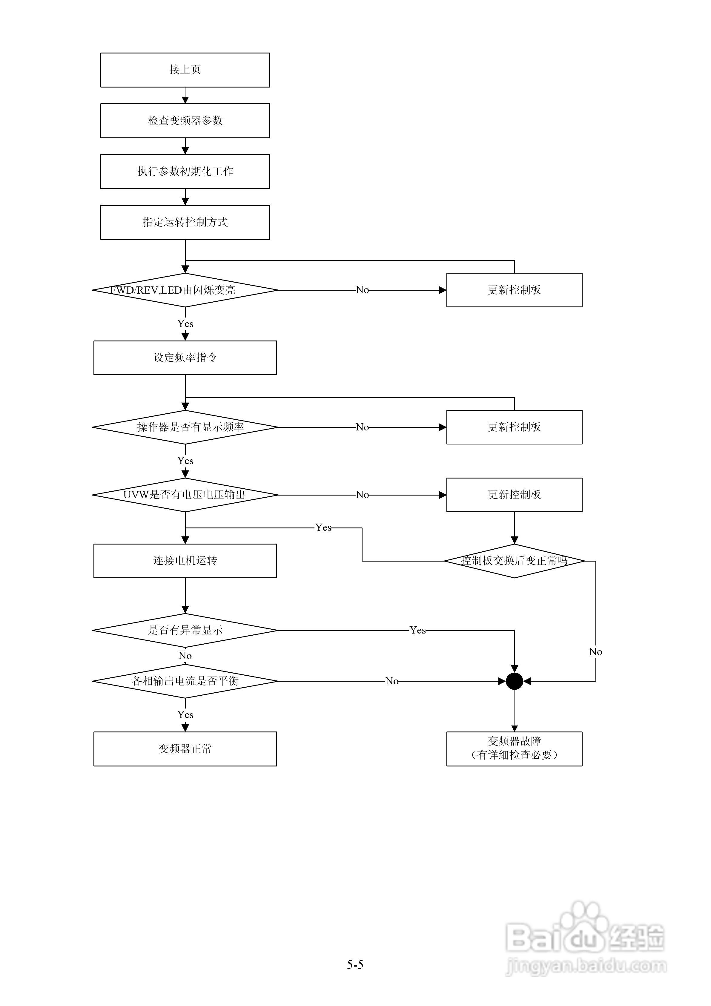
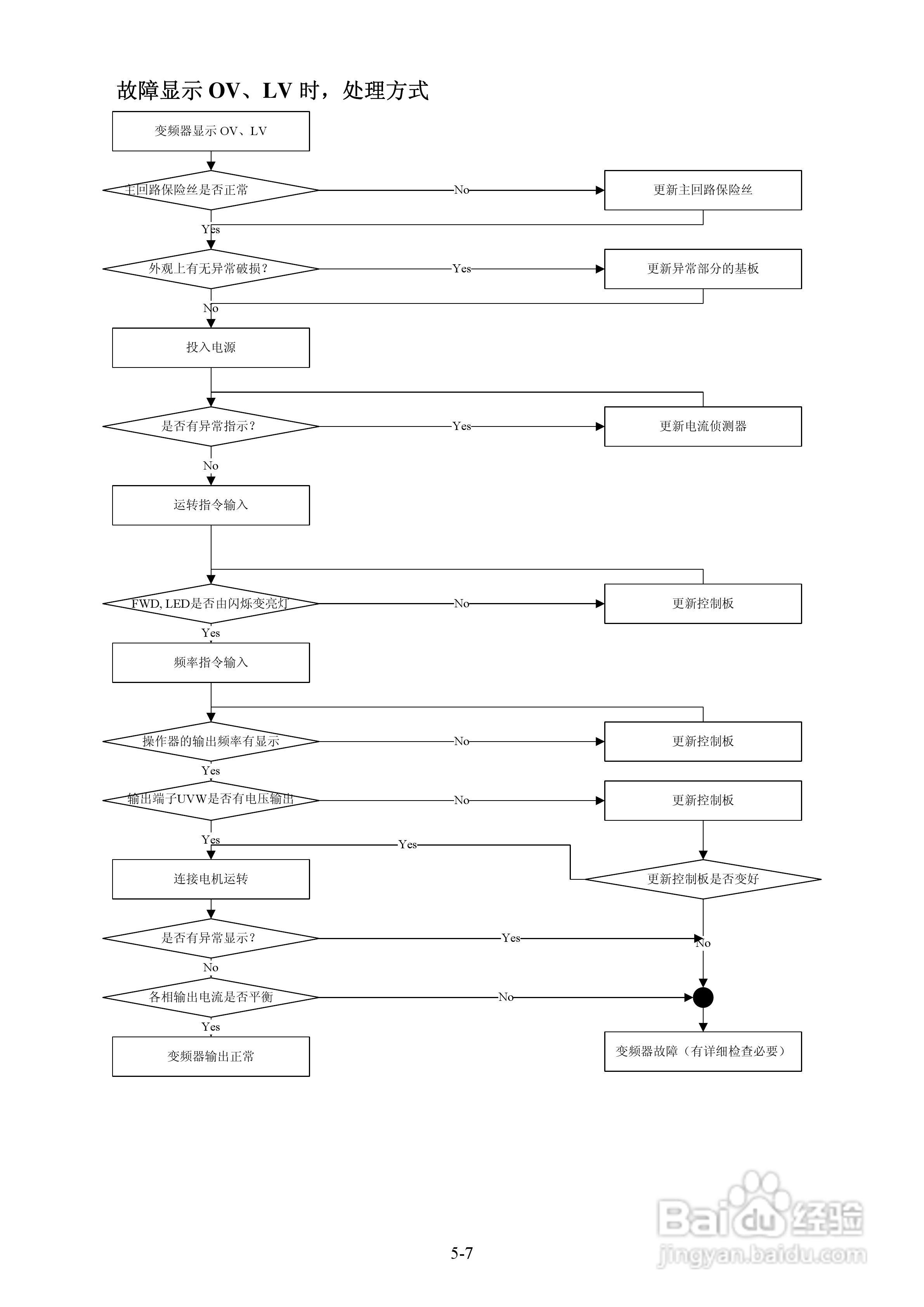
本篇为《FATEK FID-S1-015-21变频器使用说明书》,主要介绍该产品的使用方法以及常见故障解决方案。
(共篇)
上一篇:
|
下一篇:
声明:
本网站引用、摘录或转载内容仅供网站访问者交流或参考,不代表本站立场,如存在版权或非法内容,请联系站长删除,联系邮箱:site.kefu@qq.com。
相关推荐
FATEK FID-S1-015-21变频器使用说明书:[1]
阅读量:123
FATEK FID-N1-550-43X变频器使用说明书:[8]
阅读量:134
FATEK FID-N1-550-43X变频器使用说明书:[7]
阅读量:120
使用说明书wf2651使用指南
阅读量:70
使用说明书封面怎么做
阅读量:158
猜你喜欢
息息相关的意思
国考与省考有什么区别
梦见驴是什么意思
四面楚歌是什么意思
披荆斩棘是什么意思
concert是什么意思
马子是什么意思
电影剪辑用什么软件
沧海横流的意思
什么叫继续教育
猜你喜欢
i don t care是什么意思
什么是nc
蜀黍什么意思
莘莘学子的意思
双十一什么时候开始
cm是什么意思
咏柳的咏是什么意思
全心全意的意思
适得其反的意思
wifi是什么意思