小度生活
首页
美食营养
手工爱好
生活家居
返回
小度生活
首页
美食营养
游戏数码
手工爱好
生活家居
健康养生
运动户外
职场理财
情感交际
母婴教育
时尚美容
知识问答
生活知识
生活百科
搜索
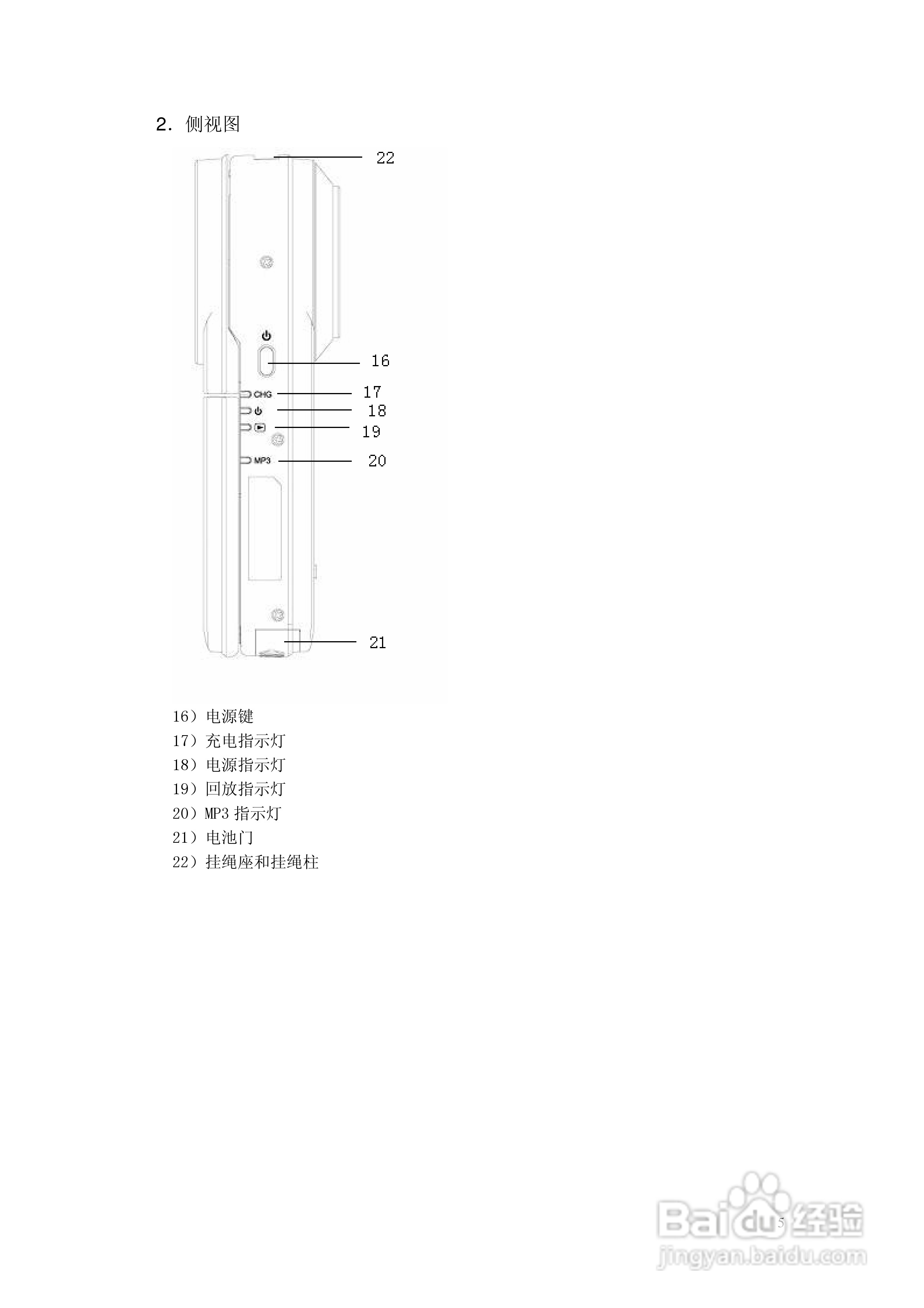
TCL DV009数码摄像机用户手册:[1]
2026-04-21 19:10:48
本篇为《TCL DV009数码摄像机用户手册》,主要介绍该产品的使用方法以及常见故障解决方案。
(共篇)
下一篇:
声明:
本网站引用、摘录或转载内容仅供网站访问者交流或参考,不代表本站立场,如存在版权或非法内容,请联系站长删除,联系邮箱:site.kefu@qq.com。
相关推荐
办的身份证怎么查询办下来没
阅读量:122
怎么查身份证办理进度
阅读量:170
自助办理身份证如何查询办理进程
阅读量:146
江苏身份证办证进度如何在网上查看
阅读量:46
新办的身份证怎样查到哪里了
阅读量:36
猜你喜欢
虚伪是什么意思
oh my god什么意思
泰国有什么特产
卡哇伊是什么意思
什么是企业性质
黎明的意思
hb是什么意思
什么是单循环赛
mode是什么意思
手指月牙代表什么
猜你喜欢
十二星座最怕什么
你教会了我什么最重要
year是什么意思
电疗的作用
直男是什么意思啊
propose什么意思
筒骨炖什么好
崩溃是什么意思
乌梅的作用与功效
引擎是什么意思