小度生活
首页
美食营养
手工爱好
生活家居
返回
小度生活
首页
美食营养
游戏数码
手工爱好
生活家居
健康养生
运动户外
职场理财
情感交际
母婴教育
时尚美容
知识问答
生活知识
搜索
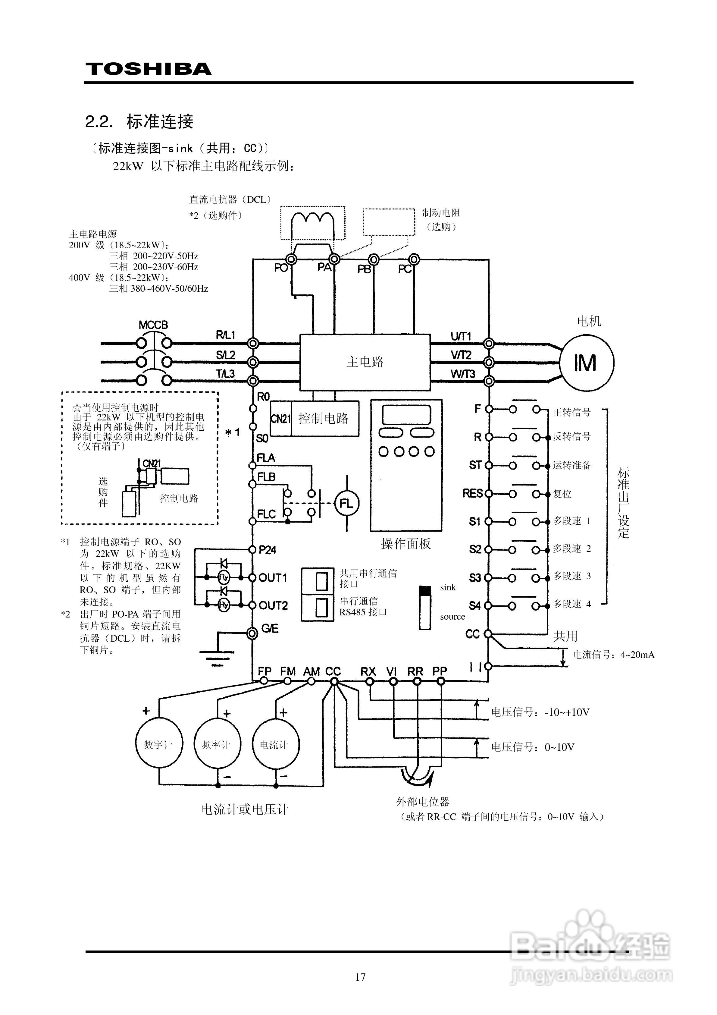
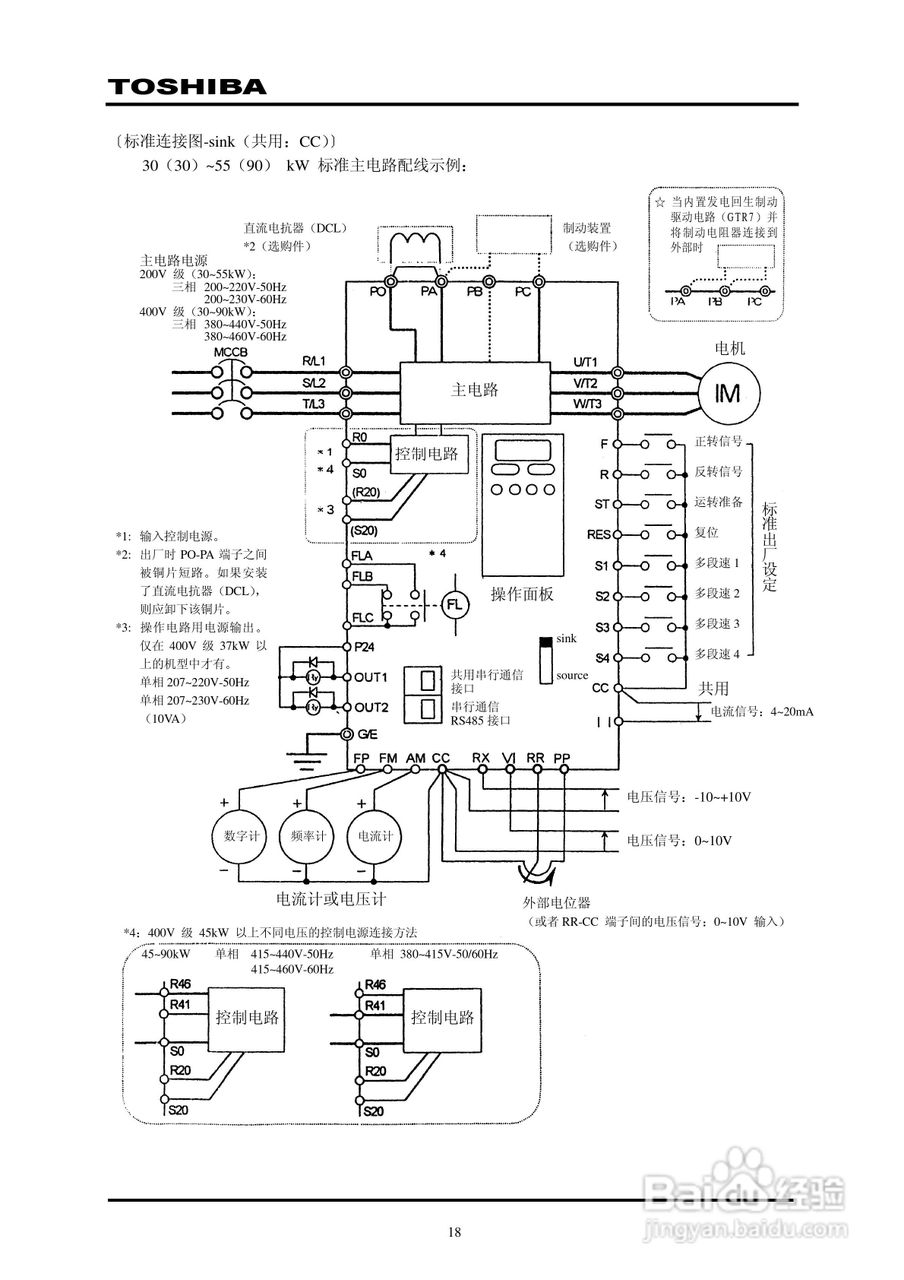
东芝VPFP-4315KP变频器中文说明书:[2]
2026-02-16 07:32:36
本篇为《东芝VPFP-4315KP变频器中文说明书》,主要介绍该产品的使用方法以及常见故障解决方案。
(共篇)
上一篇:
|
下一篇:
声明:
本网站引用、摘录或转载内容仅供网站访问者交流或参考,不代表本站立场,如存在版权或非法内容,请联系站长删除,联系邮箱:site.kefu@qq.com。
相关推荐
变频器调试接线教程
阅读量:144
变频器滤波器的选型
阅读量:25
久川C0315A4变频器中文说明书:[2]
阅读量:41
变频器怎么恢复出厂设置
阅读量:134
变频器维修教程
阅读量:176
猜你喜欢
月亮怎么拍
苹果手机信号差怎么办
黑眼圈很重怎么办
车架号怎么看
欠款不还怎么办
怎么算星座
手机话费怎么充q币
胃下垂怎么办
呼吸道感染怎么办
面部皮肤过敏怎么办
猜你喜欢
我的世界mod怎么安装
和平鸽怎么画
ps蒙版怎么用
信用卡到期了怎么办
怎么截视频
新飞燃气灶怎么样
性冷淡怎么治疗
苹果4s怎么下载软件
qq空间怎么设置权限
苹果手机怎么连电脑