小度生活
首页
美食营养
手工爱好
生活家居
返回
小度生活
首页
美食营养
游戏数码
手工爱好
生活家居
健康养生
运动户外
职场理财
情感交际
母婴教育
时尚美容
知识问答
生活知识
搜索
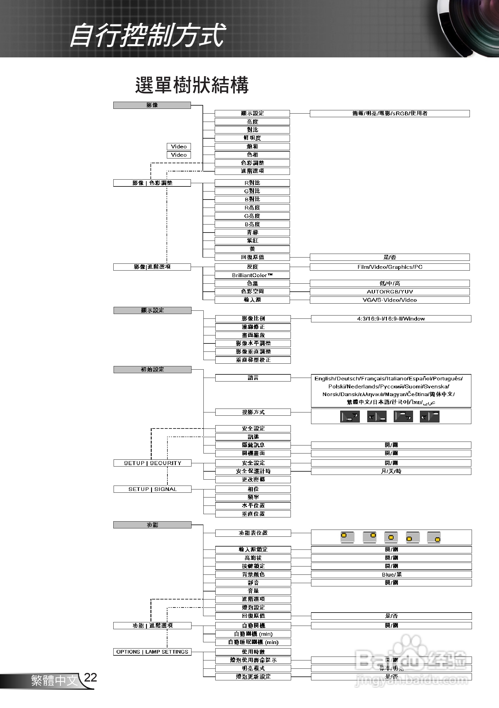
奥图码EP720投影机使用说明书:[3]
2026-02-26 17:03:08
本篇为《奥图码EP720投影机使用说明书》,主要介绍该产品的使用方法以及常见故障解决方案。
(共篇)
上一篇:
|
下一篇:
声明:
本网站引用、摘录或转载内容仅供网站访问者交流或参考,不代表本站立场,如存在版权或非法内容,请联系站长删除,联系邮箱:site.kefu@qq.com。
相关推荐
奥图码 EP750投影机说明书:[3]
阅读量:88
奥图码 EP772投影机说明书:[3]
阅读量:91
奥图码 EP761投影机说明书:[3]
阅读量:31
奥图码 EP780投影机说明书:[3]
阅读量:128
Optoma奥图码 EP732投影机说明书:[3]
阅读量:184
猜你喜欢
舌头中间有裂纹是怎么回事
电脑安全模式怎么解除
产后便秘怎么办
真菌感染怎么办
文号的括号怎么打
入耳式耳机怎么戴
拭怎么组词
怎么写剧本
明信片怎么寄
白色一次性口罩怎么分正反
猜你喜欢
考研调剂是怎么回事
好莱客衣柜怎么样
包子怎么发面
怎么给c盘增加空间
气虚怎么办
怎么治疗颈椎病
婴儿黄疸高怎么办
西安电子科技大学怎么样
铃声多多怎么设置铃声
加油英文怎么写