小度生活
首页
美食营养
手工爱好
生活家居
返回
小度生活
首页
美食营养
游戏数码
手工爱好
生活家居
健康养生
运动户外
职场理财
情感交际
母婴教育
时尚美容
知识问答
生活知识
搜索
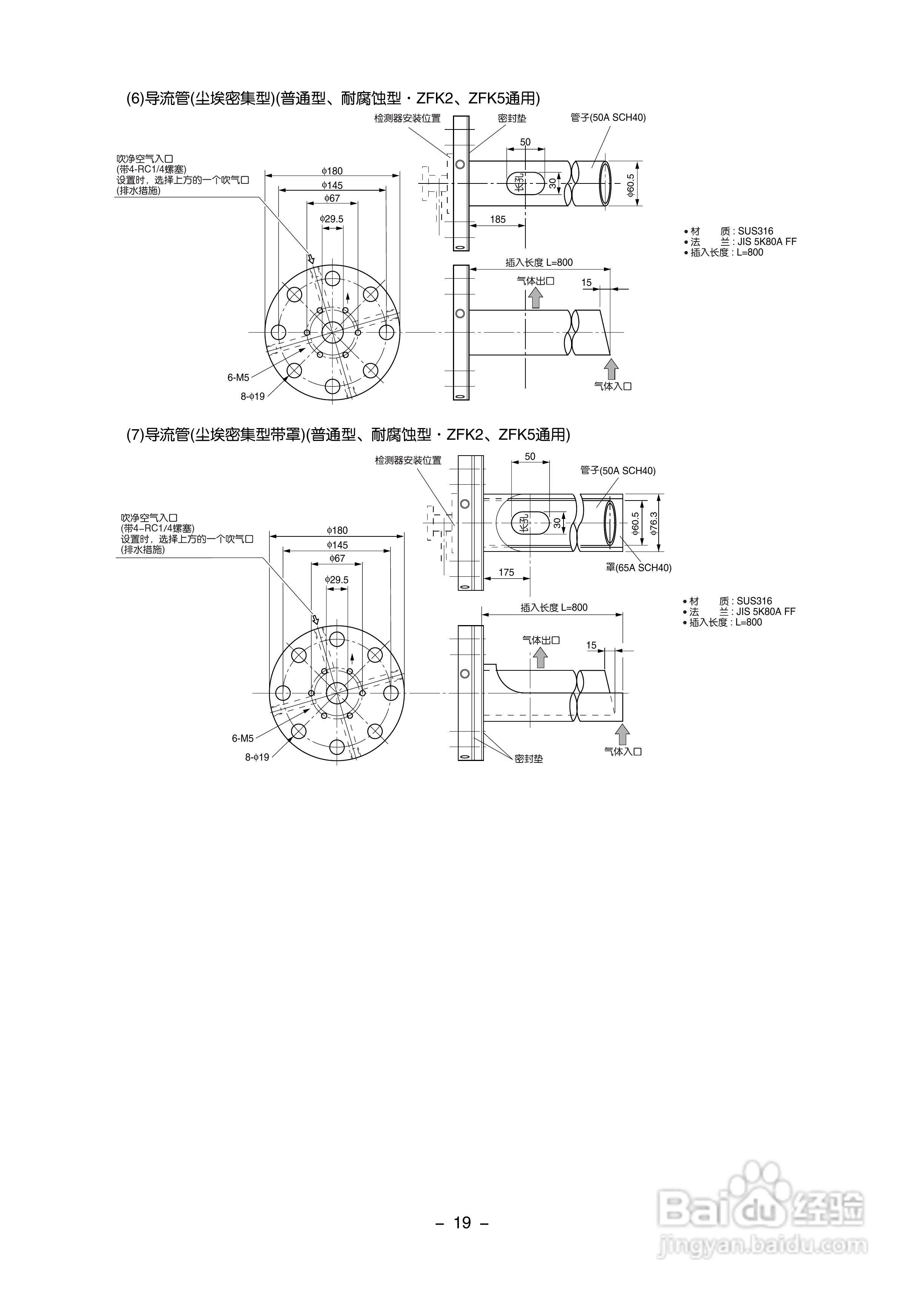
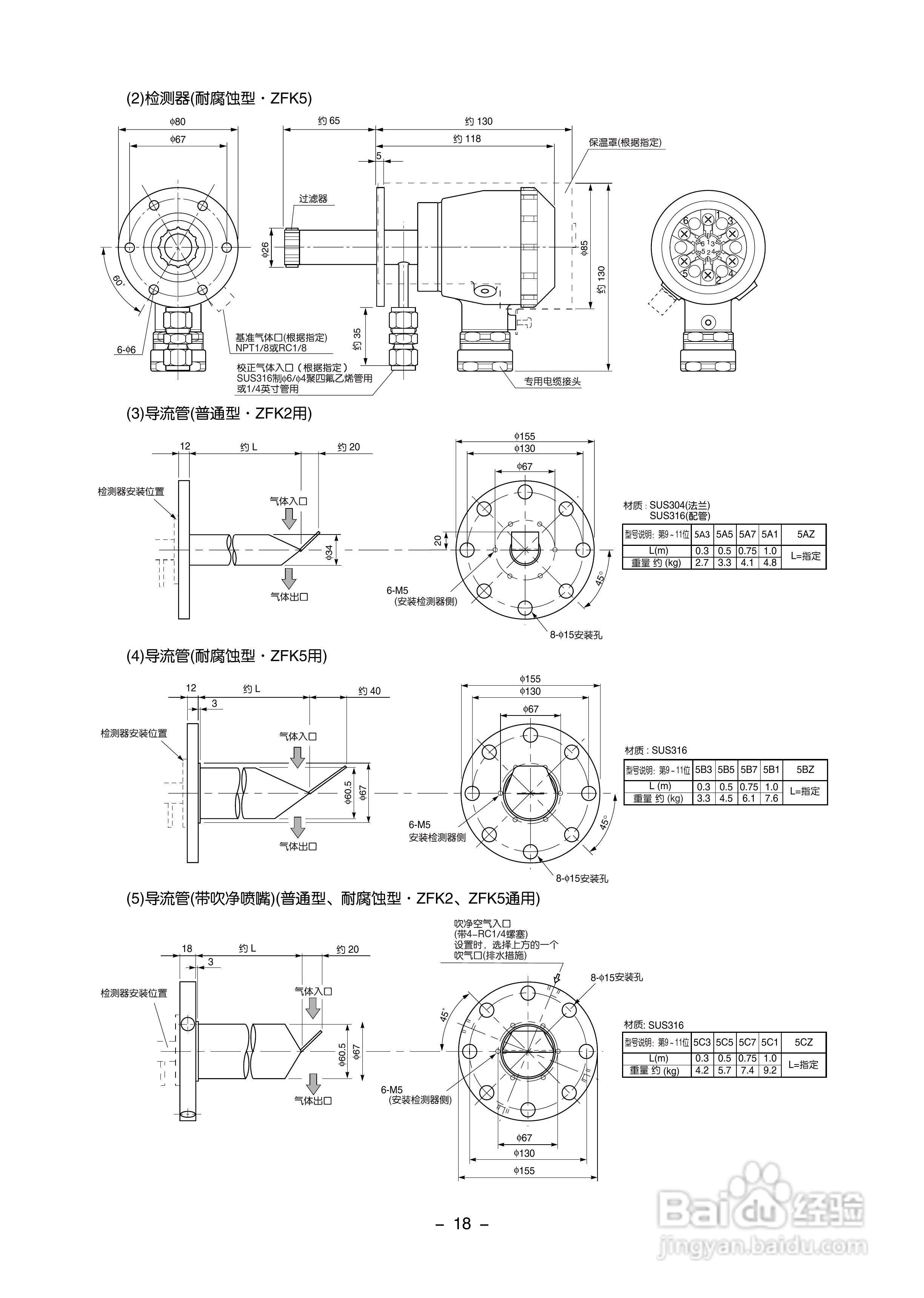
富士ZFK2,5 插式氧化锆氧检测器使用说明书:[3]
2026-02-28 06:09:30
本篇为《富士ZFK2,5 插式氧化锆氧检测器使用说明书》,主要介绍该产品的使用方法以及常见故障解决方案。
(共篇)
上一篇:
声明:
本网站引用、摘录或转载内容仅供网站访问者交流或参考,不代表本站立场,如存在版权或非法内容,请联系站长删除,联系邮箱:site.kefu@qq.com。
相关推荐
魔力宝贝手游黑色旋律攻略
阅读量:139
100层电梯游戏第44关攻略
阅读量:20
微信小游戏中国象棋残局三国演义第346关攻略
阅读量:90
《孤岛探索之旅第二章》怎么过?(1)
阅读量:111
《找到老公的私房钱3》第23关游戏攻略
阅读量:85
猜你喜欢
鲍鱼怎么做好吃又简单方便
宝宝吐奶怎么回事
关节炎最佳治疗方法
炒肉丝的家常做法
油泼面的家常做法
玉米怎么做好吃
泡椒凤爪怎么做好吃
扇贝粉丝蒜蓉家常做法
龙的图案图片大全
焊接方法
猜你喜欢
有黑眼圈是怎么回事
绿豆芽怎么炒好吃
我的世界音符盒怎么做
取名字大全免费
免费追剧大全电视剧网站
dnf天空套大全1到12
蒸肉的家常做法
店铺名字大全
陈述句改反问句的方法
灰指甲初期治疗方法