小度生活
首页
美食营养
手工爱好
生活家居
返回
小度生活
首页
美食营养
游戏数码
手工爱好
生活家居
健康养生
运动户外
职场理财
情感交际
母婴教育
时尚美容
知识问答
生活知识
生活百科
搜索
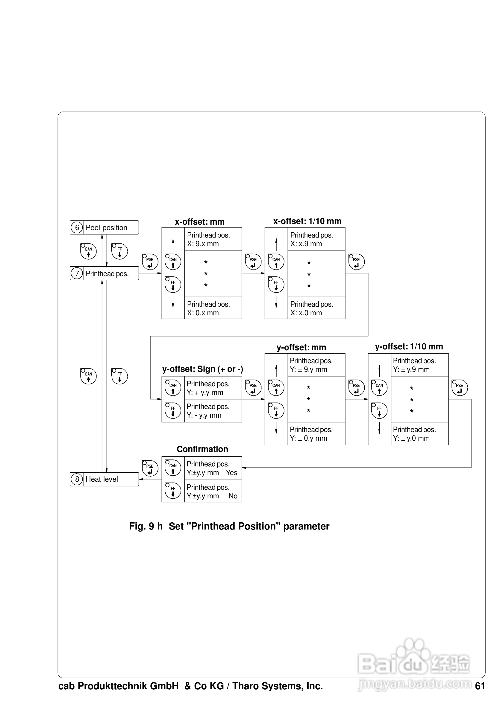
cab A8200打印机使用说明书:[7]
2026-04-22 17:59:55
本篇为《cab A8200打印机使用说明书》,主要介绍该产品的使用方法以及常见故障解决方案。
(共篇)
上一篇:
|
下一篇:
声明:
本网站引用、摘录或转载内容仅供网站访问者交流或参考,不代表本站立场,如存在版权或非法内容,请联系站长删除,联系邮箱:site.kefu@qq.com。
相关推荐
cab A8200打印机使用说明书:[8]
阅读量:119
cab A8200打印机使用说明书:[14]
阅读量:93
cab A8300打印机使用说明书:[7]
阅读量:113
打印机驱动程序如何安装
阅读量:35
打印机彩色打印怎么设置 如何设置打印彩色
阅读量:41
猜你喜欢
忐忑不安是什么意思
狼狈是什么意思
质朴无华的意思
halloween是什么意思
什么东西咬牙切齿
什么隔离霜好
不禁的意思
颓废的意思
of course是什么意思
十万火急的意思
猜你喜欢
四字祝福语
震惊的意思
妖魔鬼怪的意思
策马奔腾什么意思
端午节祝福短信
英文祝福
disc是什么意思
坍落度是什么意思
榨油的意思
美股熔断是什么意思