小度生活
首页
美食营养
手工爱好
生活家居
返回
小度生活
首页
美食营养
游戏数码
手工爱好
生活家居
健康养生
运动户外
职场理财
情感交际
母婴教育
时尚美容
知识问答
生活知识
搜索
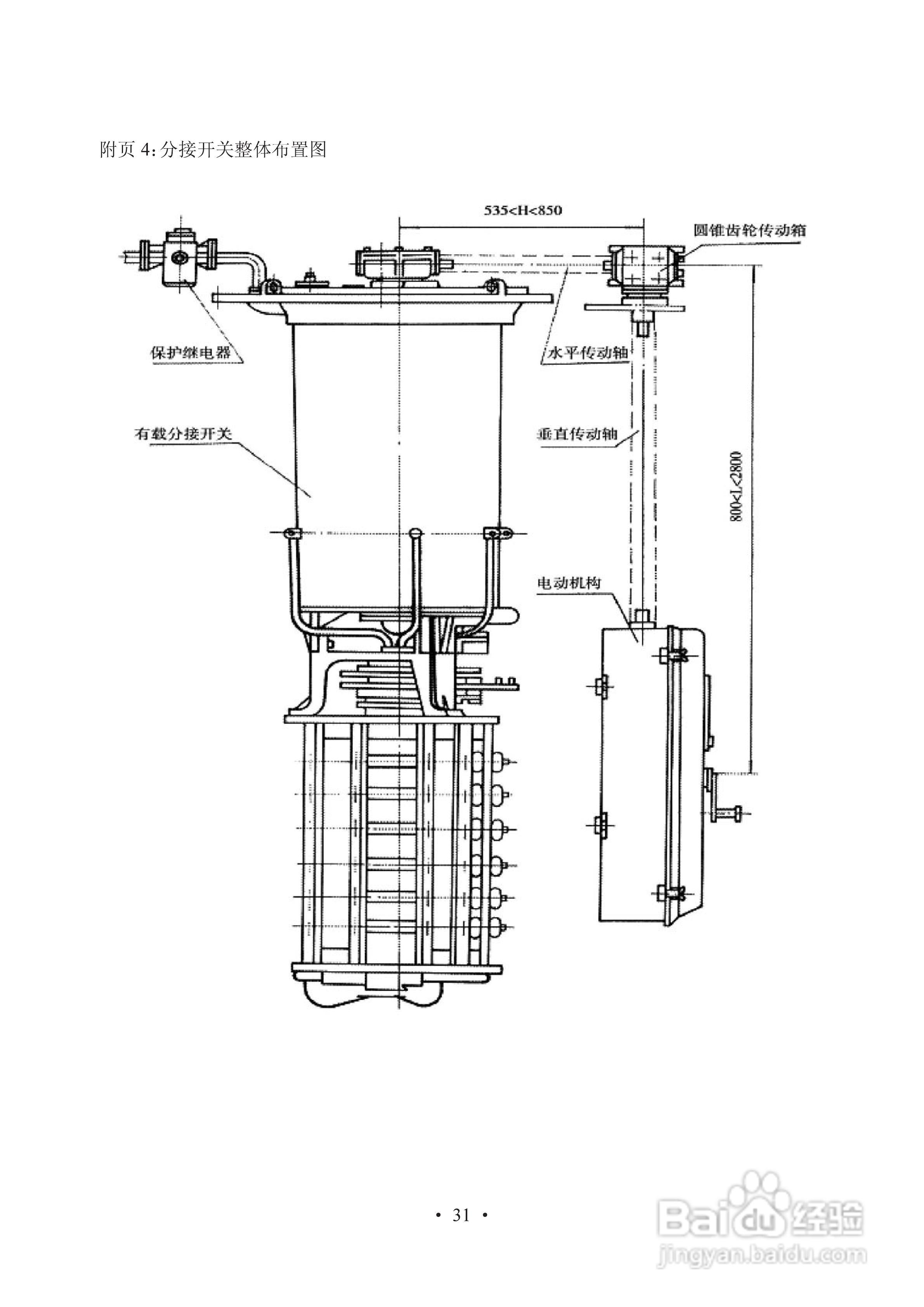
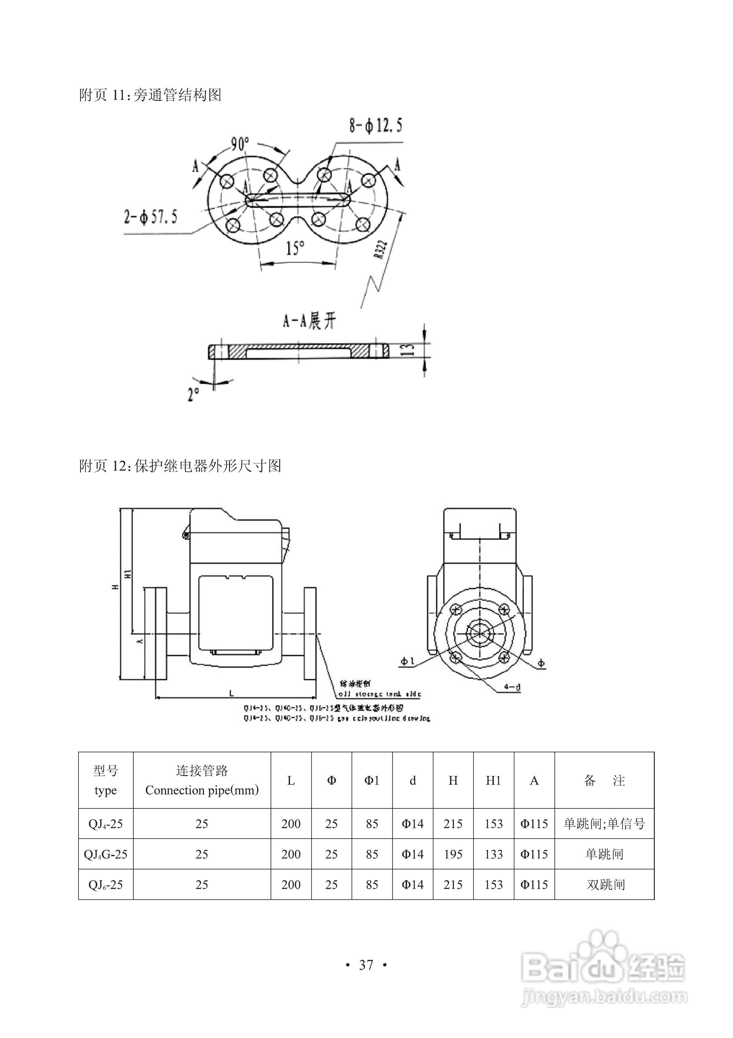
长征电力VMM油浸式真空有载分接开关说明书:[4]
2026-02-08 00:23:24
本篇为《长征电力VMM油浸式真空有载分接开关说明书》,主要介绍该产品的使用方法以及常见故障解决方案。
(共篇)
上一篇:
声明:
本网站引用、摘录或转载内容仅供网站访问者交流或参考,不代表本站立场,如存在版权或非法内容,请联系站长删除,联系邮箱:site.kefu@qq.com。
相关推荐
长征电力VMM油浸式真空有载分接开关说明书:[2]
阅读量:45
长征电力VM油浸式真空有载分接开关说明书:[2]
阅读量:130
长征电力MD有载分接开关说明书:[3]
阅读量:146
长征电力MT有载分接开关说明:[3]
阅读量:126
长征科目二经验
阅读量:99
猜你喜欢
袜子批发哪里最便宜
如何避孕
如何创建apple id
长白山旅游报价
如何坚定理想信念
户户通没有信号怎么办
大学生如何爱国
苹果手机如何下载铃声
乌梅泡水
岱宗夫如何
猜你喜欢
路由器设置密码
四川宜宾旅游景点
男人怎么硬
如何更改苹果id密码
火鹤花怎么养
iphone铃声怎么设置
高铁旅游
早泄如何治疗
删除的文件如何恢复
二手泡水车价格