比较指令练习
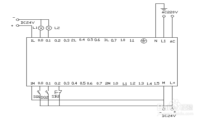
1、软元件进行分配

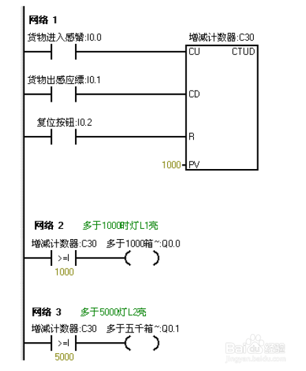
2、实验参考程序编写:

3、程序快速验证方法:
在进行实验调试时我们可以把数字适当的缩小来实现调试。比如说多于5
灯L1亮。多于10 灯L2亮。


4、实验接线参考图

5、实验调试及结果分析:
把程序下载到s7-200 的PLC 中,进行调试。在下载的之前我们先把程序中的数
字进行缩小处理,以便在实验中我们能够更好的更快的观看到实验结果。我们把
L1的灯亮的时候设置为5。把L 2灯亮我们设置为10。这样我们就能够更快的
看到实验结果。
当按下在线控制面板上的I0.0f的时候即I0.0 接通,表示有货物进去。当我们点
击在线控制面板上的I0.0f 五次后,此时计时器中的计数值位5,(即表示创库中
已经有1000箱物品了)则灯L1要亮,即Q0.0有输出。当继续点击I醒蚊罪0.0f 后点
击有十次后此时计数器的计数值位10(即表示创库中有5000 个物品),此时灯
L2也亮即Q0.1有输出当继续点击在线控制面板上的I0.0f。计数器中的计数值就搁册
继续往上增加。当按下在线控制面板上的I0.1f 后计数器就开始往下减。点击一次,计数器中的计数值就减少一次。当计数器中的值小于10 时即表示创库中的物品少有5000箱,此时灯L2灭(即Q0.1没有输出)当继续点击I0.1f时计数器
中的计数值继续减少,当减少到小于5 次时。表示创库中的物品少于1000,此
时灯L1灭。Q0.0 就泪帽没有输出。当按下在线控制面板上的I0.2f时计数器清零。
L1 和L2都不亮,(即Q0.0 和Q0.1都没有输出)
声明:本网站引用、摘录或转载内容仅供网站访问者交流或参考,不代表本站立场,如存在版权或非法内容,请联系站长删除,联系邮箱:site.kefu@qq.com。
阅读量:157
阅读量:189
阅读量:68
阅读量:171
阅读量:27