小度生活
首页
美食营养
手工爱好
生活家居
返回
小度生活
首页
美食营养
游戏数码
手工爱好
生活家居
健康养生
运动户外
职场理财
情感交际
母婴教育
时尚美容
知识问答
生活知识
生活百科
搜索
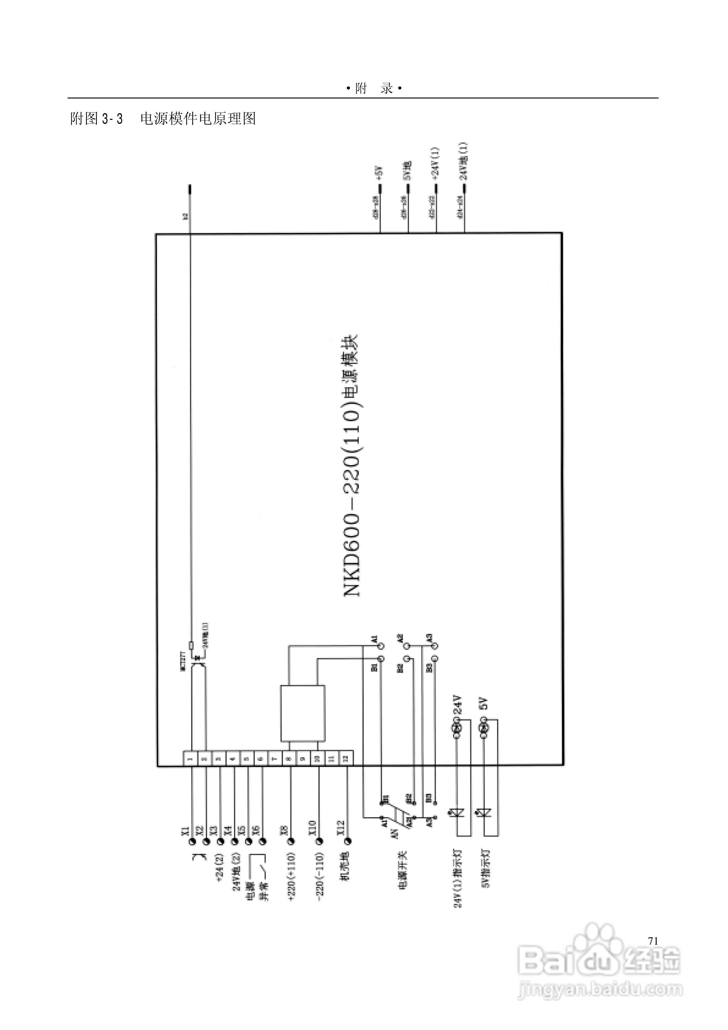
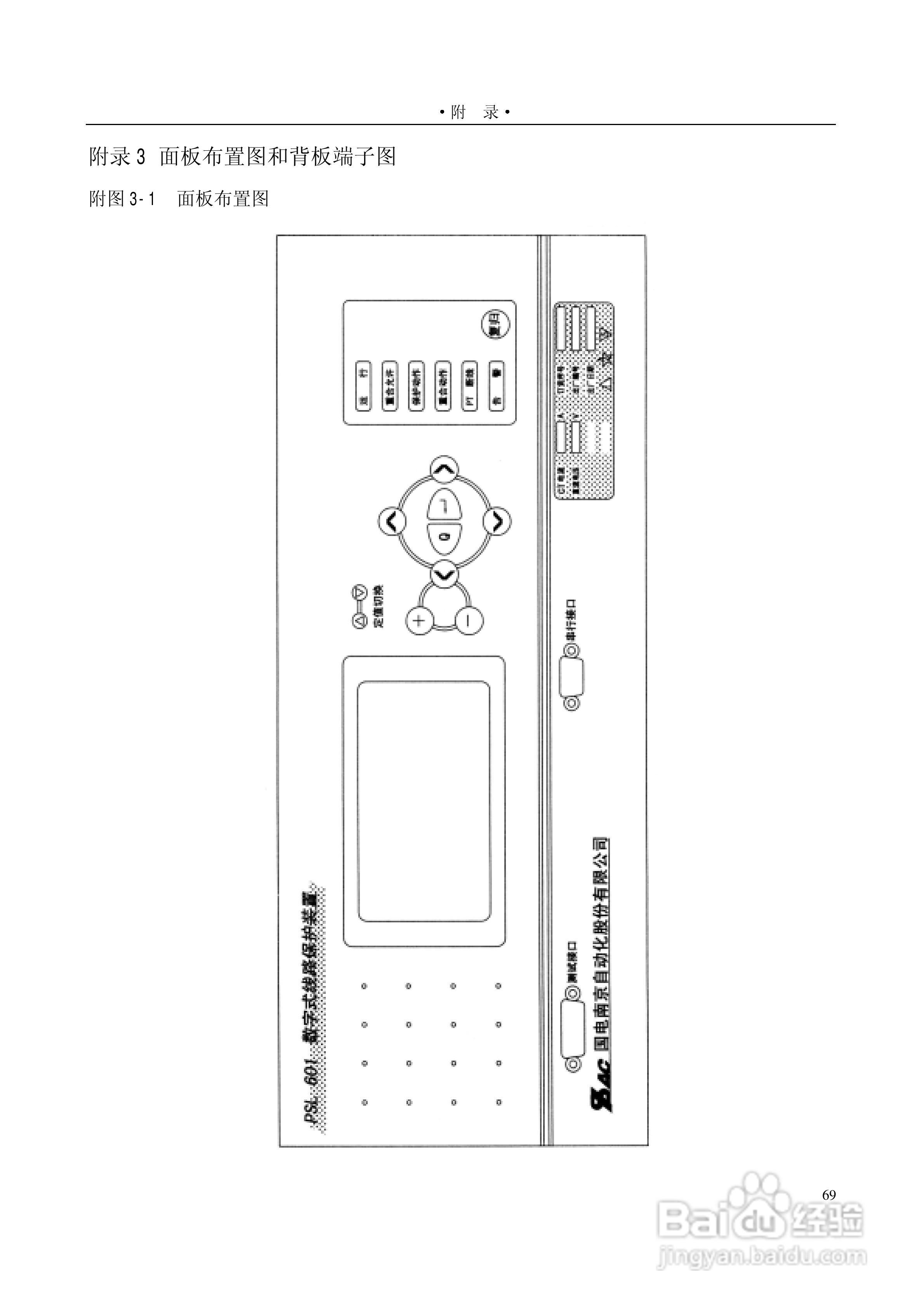
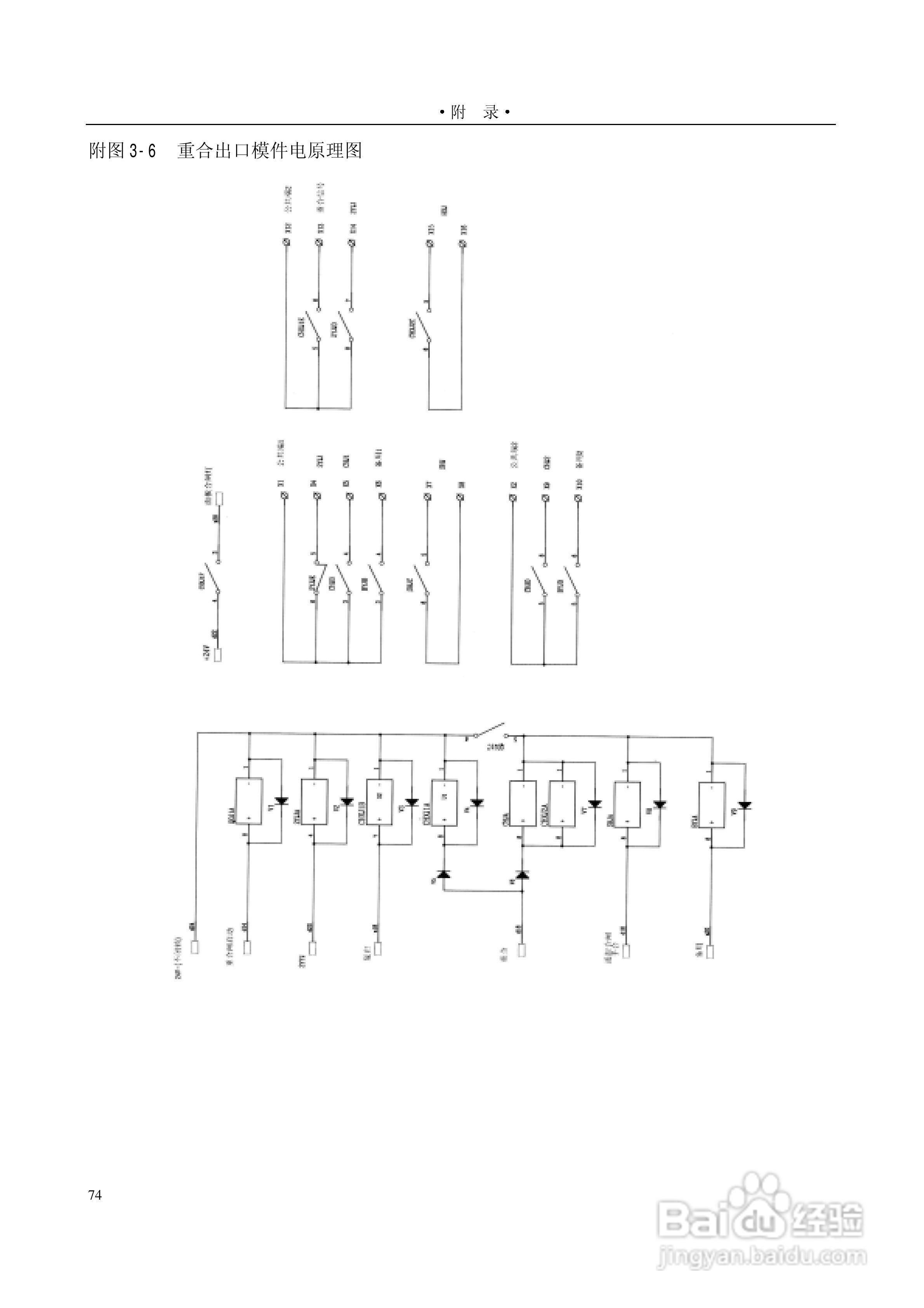
PSL601A数字式线路保护装置技术说明书:[8]
2026-04-04 05:07:26
本篇为《PSL601A数字式线路保护装置技术说明书》,主要介绍该产品的使用方法以及常见故障解决方案。
(共篇)
上一篇:
|
下一篇:
声明:
本网站引用、摘录或转载内容仅供网站访问者交流或参考,不代表本站立场,如存在版权或非法内容,请联系站长删除,联系邮箱:site.kefu@qq.com。
相关推荐
PSL601A数字式线路保护装置技术说明书:[6]
阅读量:26
PSL601A数字式线路保护装置技术说明书:[2]
阅读量:114
PSL607数字式线路保护技术装置说明书:[2]
阅读量:53
PSL601A数字式线路保护装置技术说明书:[5]
阅读量:87
PSL601A数字式线路保护装置技术说明书:[4]
阅读量:121
猜你喜欢
拉杆书包什么牌子好
祝福图片大全
south是什么意思
ppi是什么意思
蒙古族喜爱什么颜色
temperature是什么意思
螃蟹不能与什么一起吃
trace是什么意思
pv uv是什么意思
fill是什么意思
猜你喜欢
买什么相机好
栖息是什么意思
祝福祖国手抄报
股票净资产是什么意思
什么是ps技术
major是什么意思
however是什么意思
恒驰汽车什么时候上市
士别三日即更刮目相待的意思
什么是基金单位净值