小度生活
首页
美食营养
手工爱好
生活家居
返回
小度生活
首页
美食营养
游戏数码
手工爱好
生活家居
健康养生
运动户外
职场理财
情感交际
母婴教育
时尚美容
知识问答
生活知识
生活百科
搜索
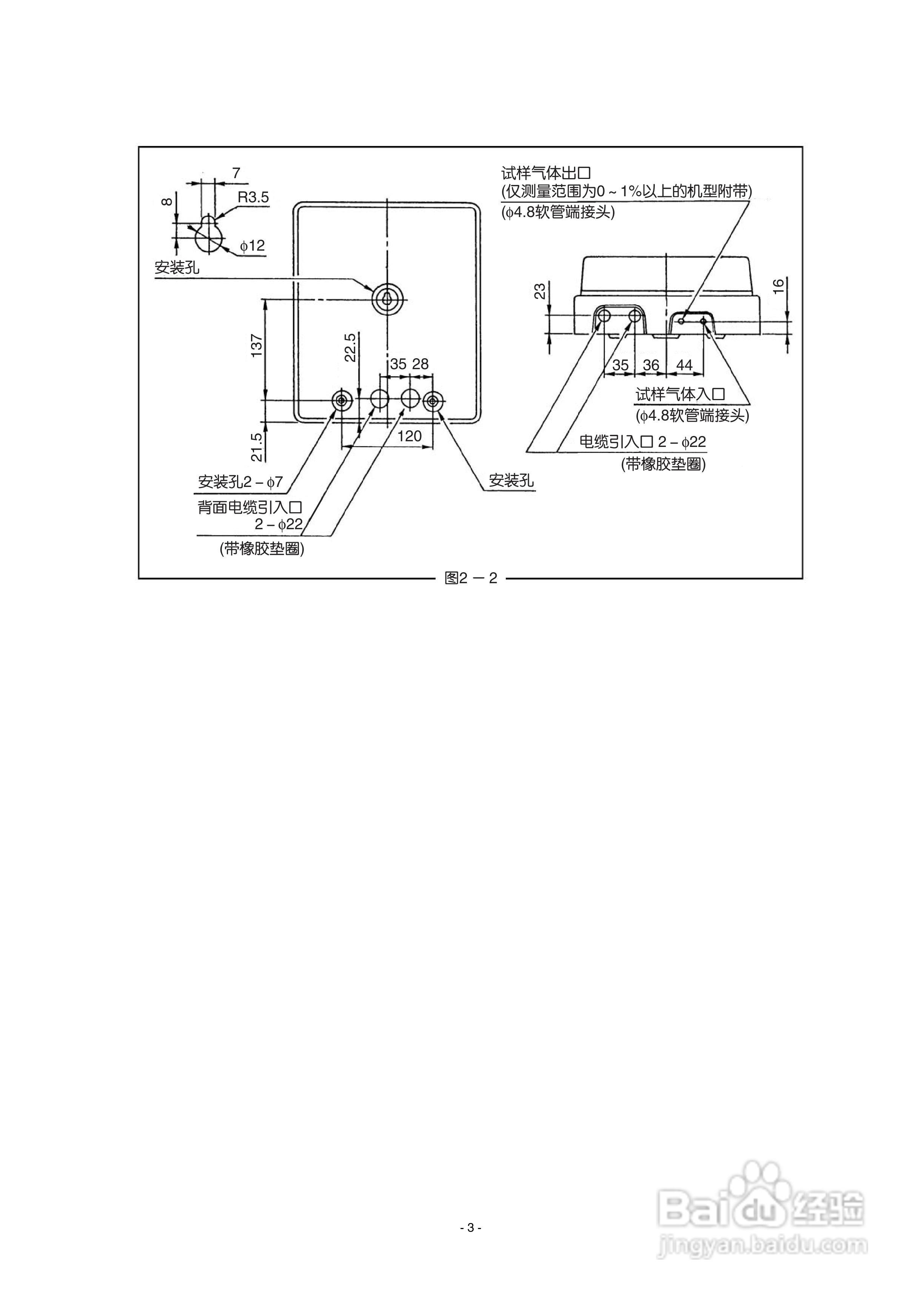
富士电机ZFP9二氧化碳控制器使用说明书:[1]
2026-04-17 17:53:07
本篇为《富士电机ZFP9二氧化碳控制器使用说明书》,主要介绍该产品的使用方法以及常见故障解决方案。
(共篇)
下一篇:
声明:
本网站引用、摘录或转载内容仅供网站访问者交流或参考,不代表本站立场,如存在版权或非法内容,请联系站长删除,联系邮箱:site.kefu@qq.com。
相关推荐
富士电机ZFP9二氧化碳控制器使用说明书:[2]
阅读量:26
富士ZFP 红外二氧化碳控制器使用说明书:[3]
阅读量:75
富士电机FLD-1便携式超声波流量计说明书:[9]
阅读量:93
富士电机TN1PHN-C无纸记录仪使用说明书:[9]
阅读量:142
富士电机FLR/FLS/FLY超声波流量计使用说明书:[9]
阅读量:117
猜你喜欢
白杨树的特点
天目湖旅游攻略
宝宝长牙发烧怎么办
爱奇艺会员可以同时几个人用
浙江有什么旅游景点
韶关丹霞山旅游攻略
南阳旅游景点大全简介
怎么让自己的声音好听
魔域怎么合宝宝快
凉拌牛肉
猜你喜欢
江西明月山旅游攻略
日本旅游景点
红米note3怎么样
千牛怎么用
十堰旅游
旅游注意事项
戴的笔顺怎么写
可以直接看片的网站
淘宝手机店铺怎么装修
360壁纸怎么卸载