小度生活
首页
美食营养
手工爱好
生活家居
返回
小度生活
首页
美食营养
游戏数码
手工爱好
生活家居
健康养生
运动户外
职场理财
情感交际
母婴教育
时尚美容
知识问答
生活知识
搜索
台安T-VERTER V2-460-H3变频器使用手册:[3]
2026-01-27 17:02:47
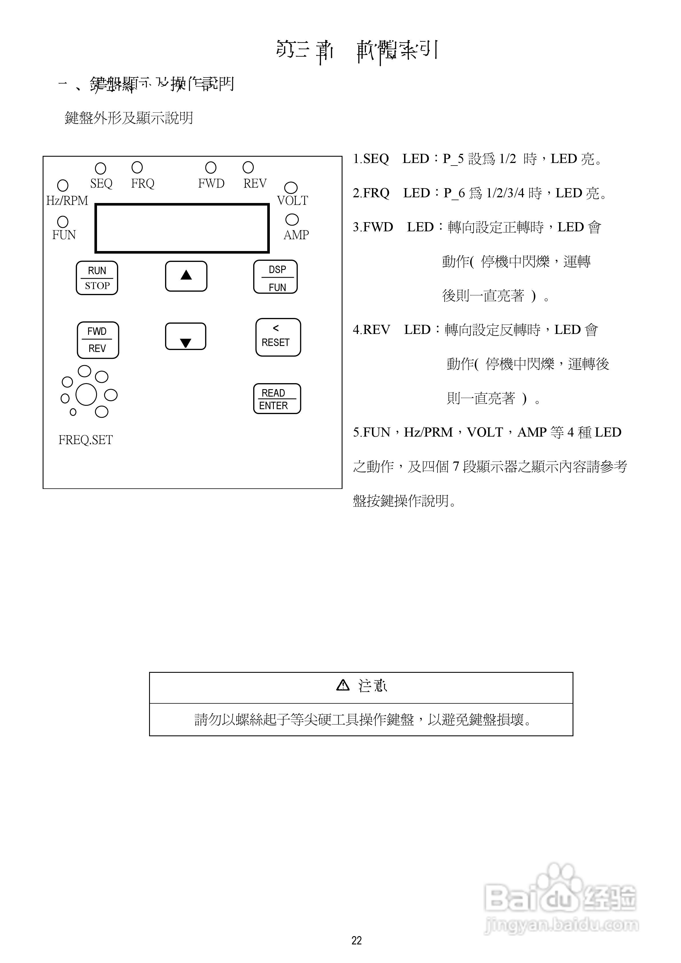
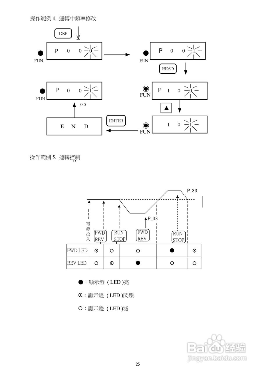
本篇为《台安T-VERTER V2-460-H3变频器使用手册》,主要介绍该产品的使用方法以及常见故障解决方案。
(共篇)
上一篇:
|
下一篇:
声明:
本网站引用、摘录或转载内容仅供网站访问者交流或参考,不代表本站立场,如存在版权或非法内容,请联系站长删除,联系邮箱:site.kefu@qq.com。
相关推荐
台安T-VERTER V2-460-H3变频器使用手册:[8]
阅读量:106
台达T-VERTER变频器使用说明书:[3]
阅读量:164
台达T-VERTER变频器使用说明书:[4]
阅读量:65
台达T-VERTER变频器使用说明书:[5]
阅读量:30
台达T-VERTER变频器使用说明书:[6]
阅读量:164
猜你喜欢
鼻子太大怎么办
moncler怎么读
手机怎么清理
我的世界空岛怎么做
手腕扭伤怎么办
平安证券怎么样
惊蛰怎么读
挂号信怎么取
房屋漏水怎么办
小孩喉咙有痰怎么办
猜你喜欢
大连大学怎么样
佰草集面膜怎么样
戴尔笔记本电脑怎么样
怎么编麻花辫
笔记本电脑开机黑屏怎么办
笔记本怎么进入安全模式
小叶增生怎么办
首都经济贸易大学怎么样
松子吃多了会怎么样
宝宝吐奶怎么回事