小度生活
首页
美食营养
手工爱好
生活家居
返回
小度生活
首页
美食营养
游戏数码
手工爱好
生活家居
健康养生
运动户外
职场理财
情感交际
母婴教育
时尚美容
知识问答
生活知识
搜索
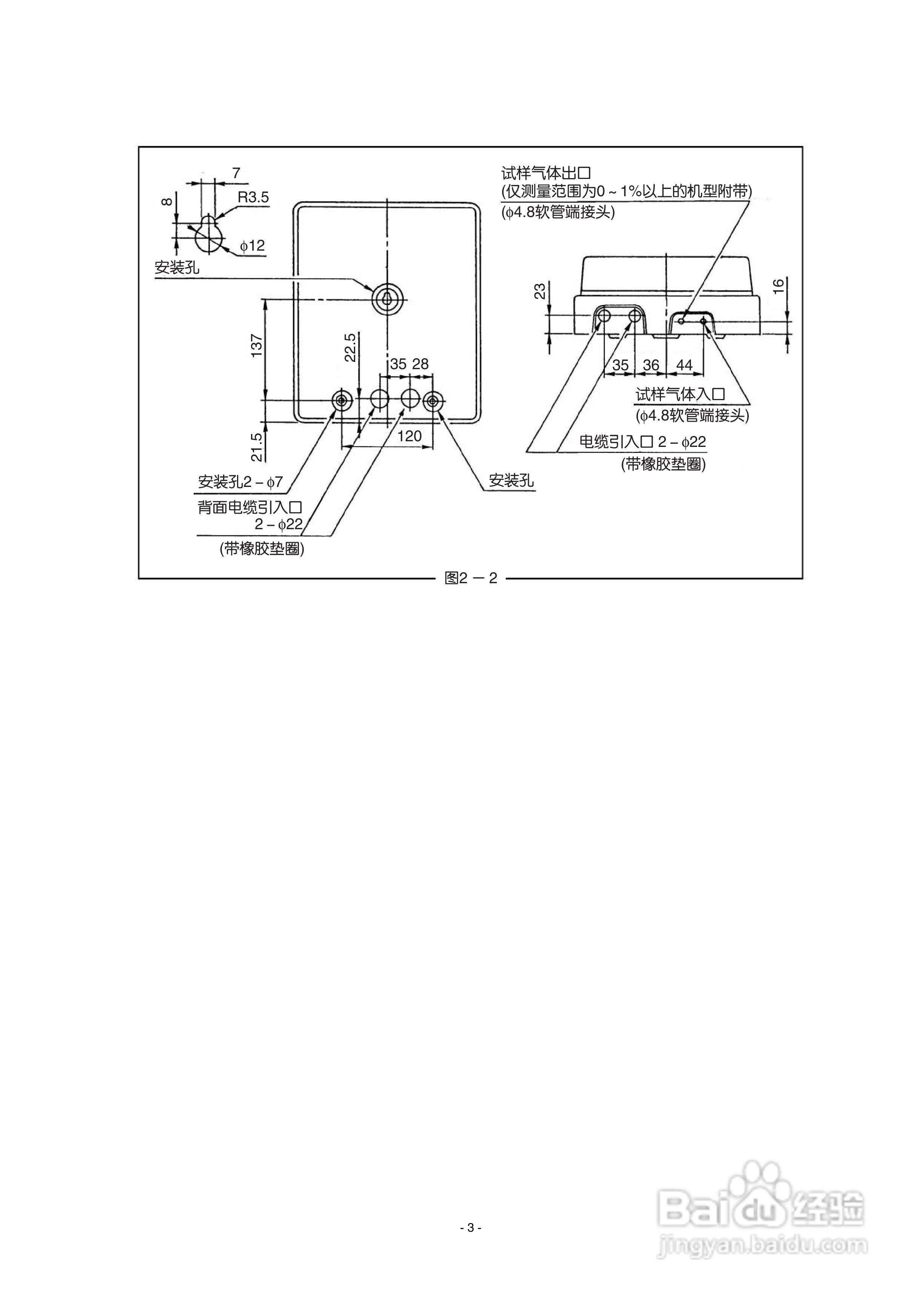
富士ZFP 红外二氧化碳控制器使用说明书:[1]
2026-02-10 11:30:16
本篇为《富士ZFP 红外二氧化碳控制器使用说明书》,主要介绍该产品的使用方法以及常见故障解决方案。
(共篇)
下一篇:
声明:
本网站引用、摘录或转载内容仅供网站访问者交流或参考,不代表本站立场,如存在版权或非法内容,请联系站长删除,联系邮箱:site.kefu@qq.com。
相关推荐
富士ZFP 红外二氧化碳控制器使用说明书:[2]
阅读量:56
二氧化碳灭火器的一种使用方法
阅读量:109
二氧化碳传感器的工作原理
阅读量:167
二氧化碳灭火器的使用方法图解
阅读量:107
二氧化碳培养箱的使用的注意事项
阅读量:68
猜你喜欢
迷途知返的意思
见微知著的意思是什么
牙牙学语的意思
回眸的意思
flv用什么播放器
什么是人民币贬值
精兵简政的简是什么意思
绝招的意思
网上冲浪是什么意思
clever的意思
猜你喜欢
制作名片用什么软件
同学结婚祝福语
母亲节的祝福语
逝者如斯夫不舍昼夜的意思
渎职是什么意思
什么是社交能力
逊色的意思
泰然的意思
翡翠原石什么样的好
fancy是什么意思