小度生活
首页
美食营养
手工爱好
生活家居
返回
小度生活
首页
美食营养
游戏数码
手工爱好
生活家居
健康养生
运动户外
职场理财
情感交际
母婴教育
时尚美容
知识问答
生活知识
搜索
CITIZEN CLP-7201e热转印式条形码打印机用户手册:[3]
2026-01-03 10:52:20
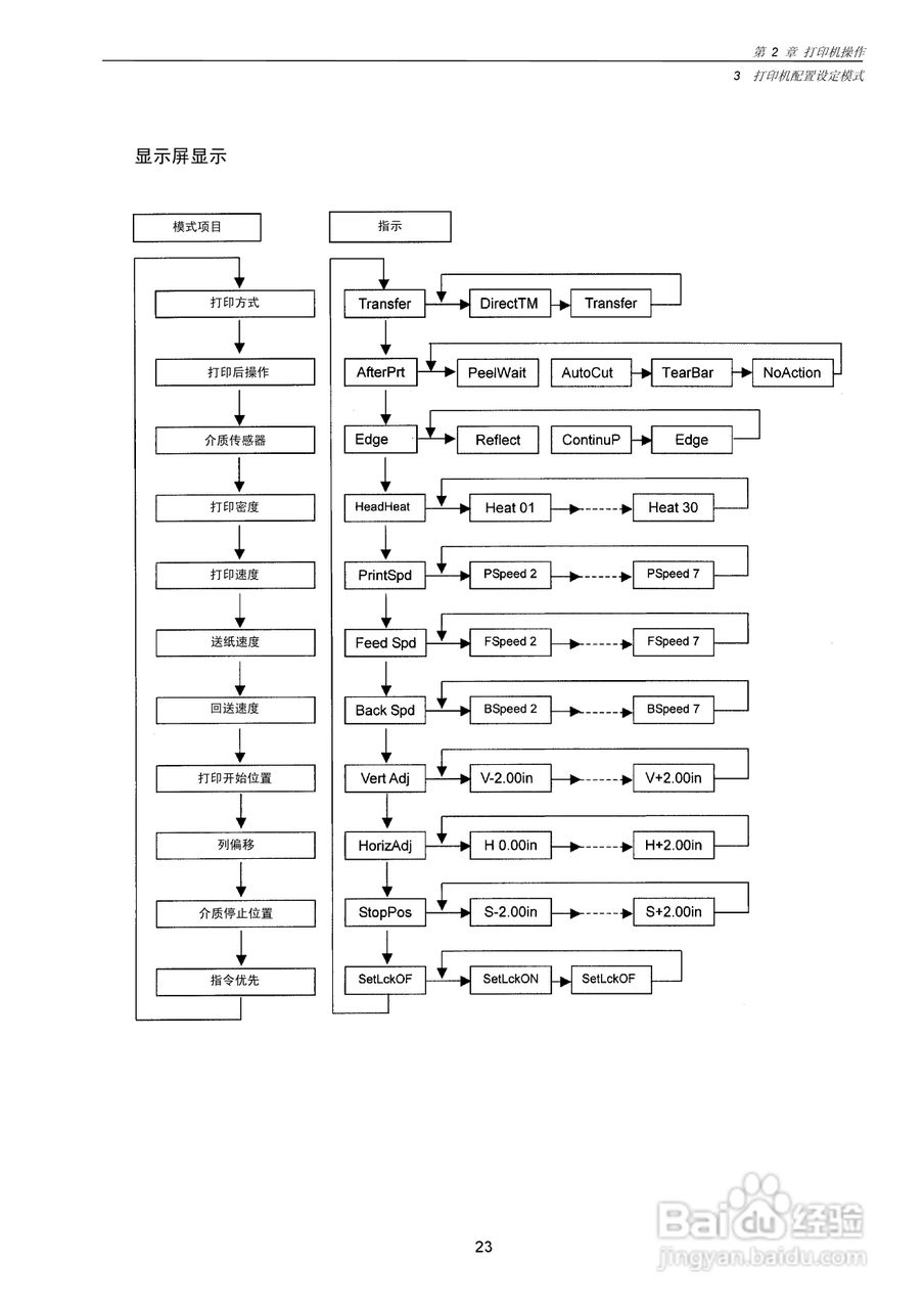
本篇为《CITIZEN CLP-7201e热转印式条形码打印机用户手册》,主要介绍该产品的使用方法以及常见故障解决方案。
(共篇)
上一篇:
|
下一篇:
声明:
本网站引用、摘录或转载内容仅供网站访问者交流或参考,不代表本站立场,如存在版权或非法内容,请联系站长删除,联系邮箱:site.kefu@qq.com。
相关推荐
CITIZEN CLP-7201e热转印式条形码打印机用户手册:[6]
阅读量:134
CITIZEN CLP-7201e热转印式条形码打印机用户手册:[5]
阅读量:165
热转印颜色怎么调
阅读量:148
CITIZEN CLP-7201e热转印式条形码打印机用户手册:[7]
阅读量:160
CITIZEN CLP-7201e热转印式条形码打印机用户手册:[8]
阅读量:93
猜你喜欢
cheap是什么意思
精忠报国的意思
涤荡的意思
灿烂的意思
双十一是什么意思
码字是什么意思
lola键有什么用
电子邮箱是什么意思
伊索寓言是一部什么
后悔的意思
猜你喜欢
欲速则不达的意思
万圣节什么意思
与人为善的意思
什么是三才五格
什么耳机性价比高
adore什么意思中文
阿飞正传讲的是什么
sales是什么意思
绿色食品指什么
学画画先学什么